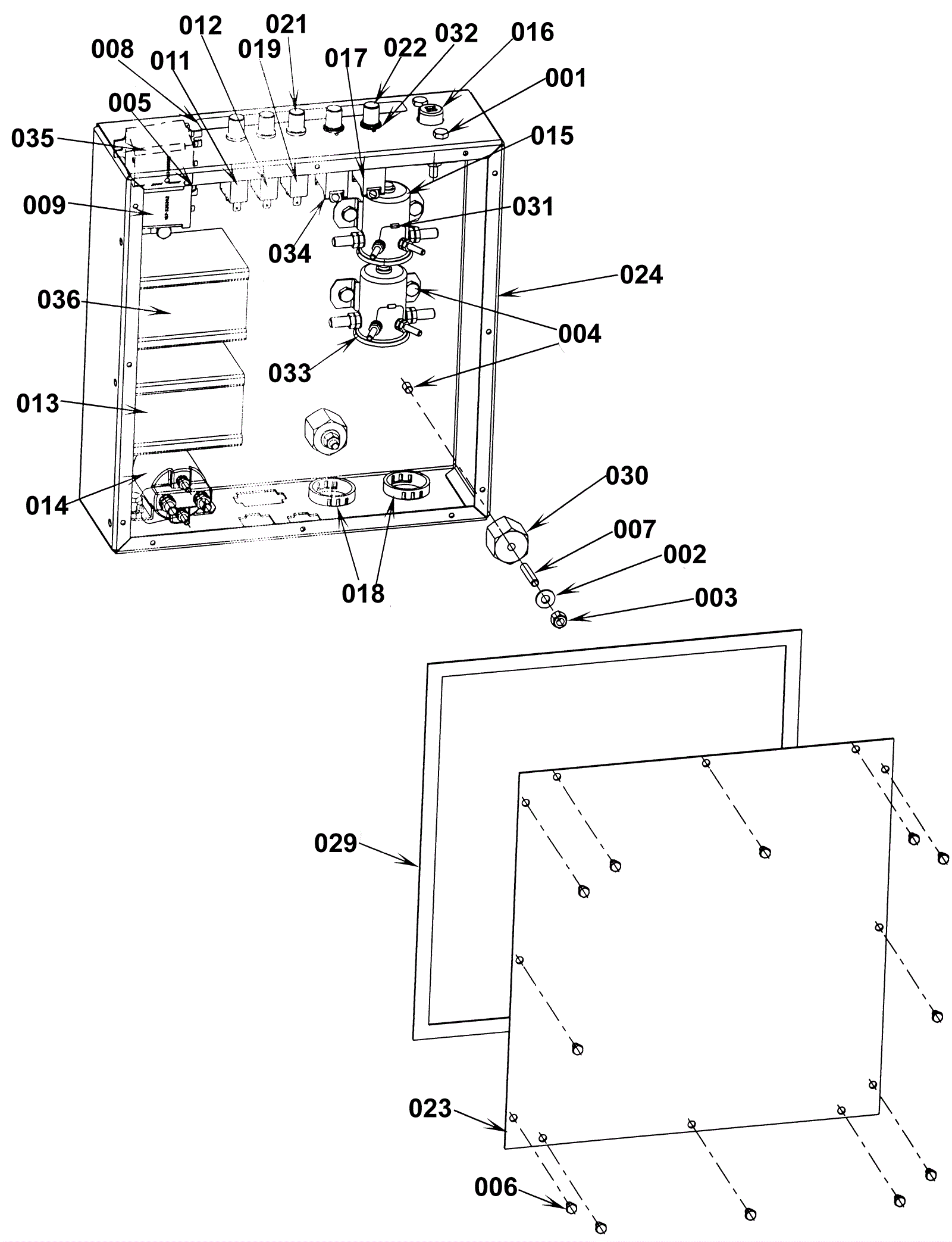
Left Electrical Panel
Click to enlarge