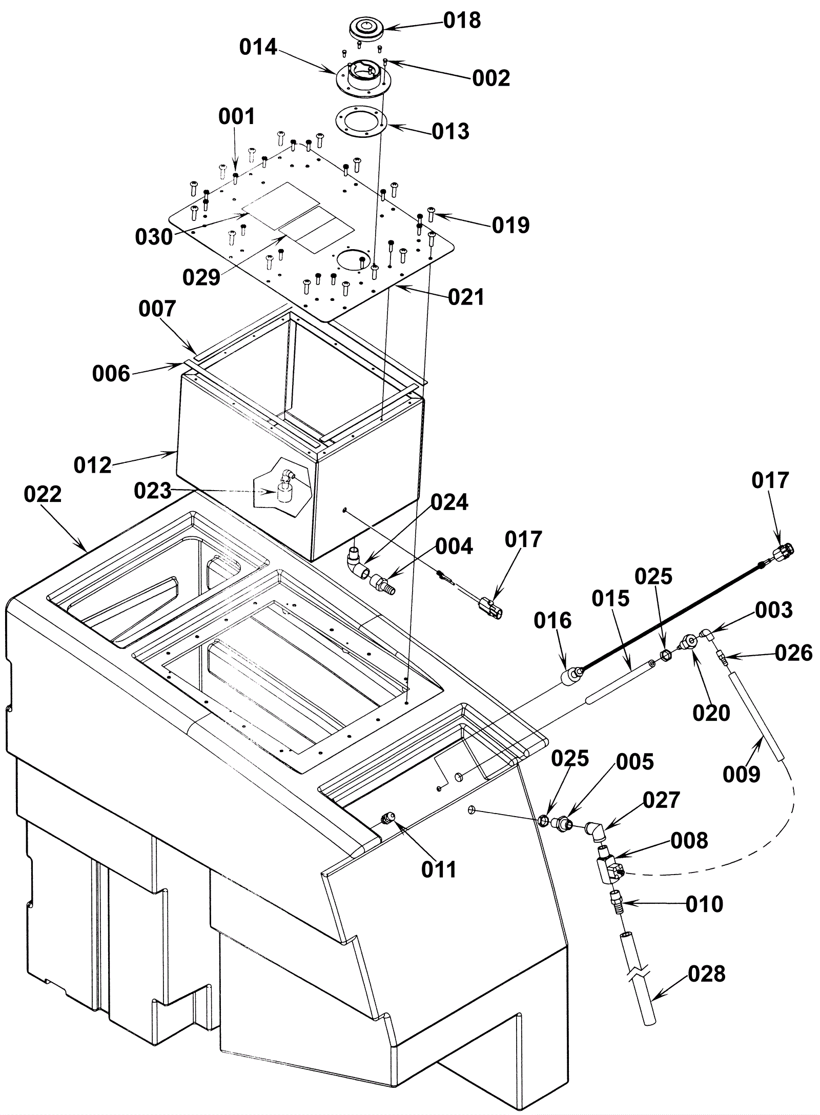
Solution System - Hydro-MAX II
Click to enlarge