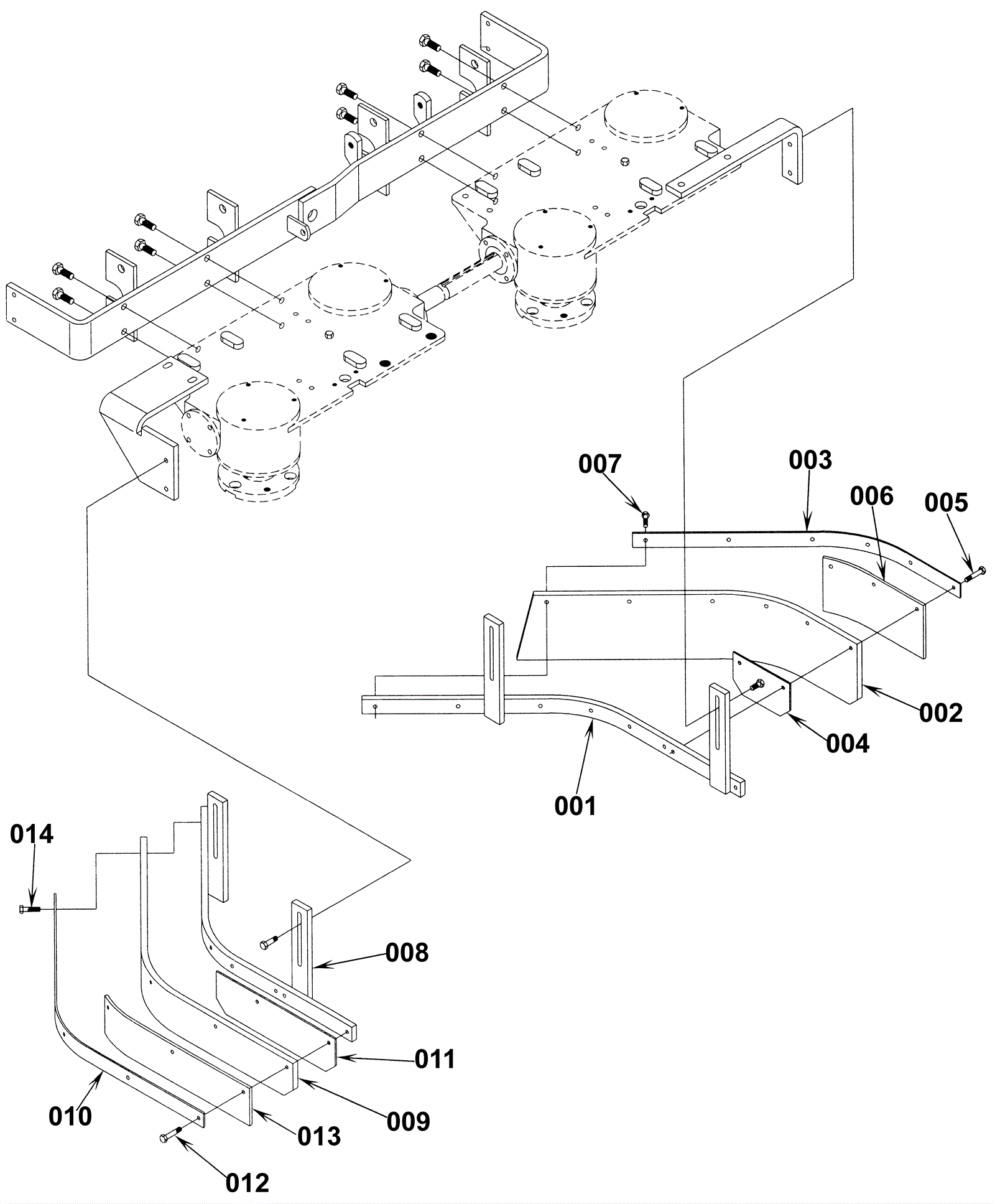
Front Skirt Assemblies
Click to enlarge