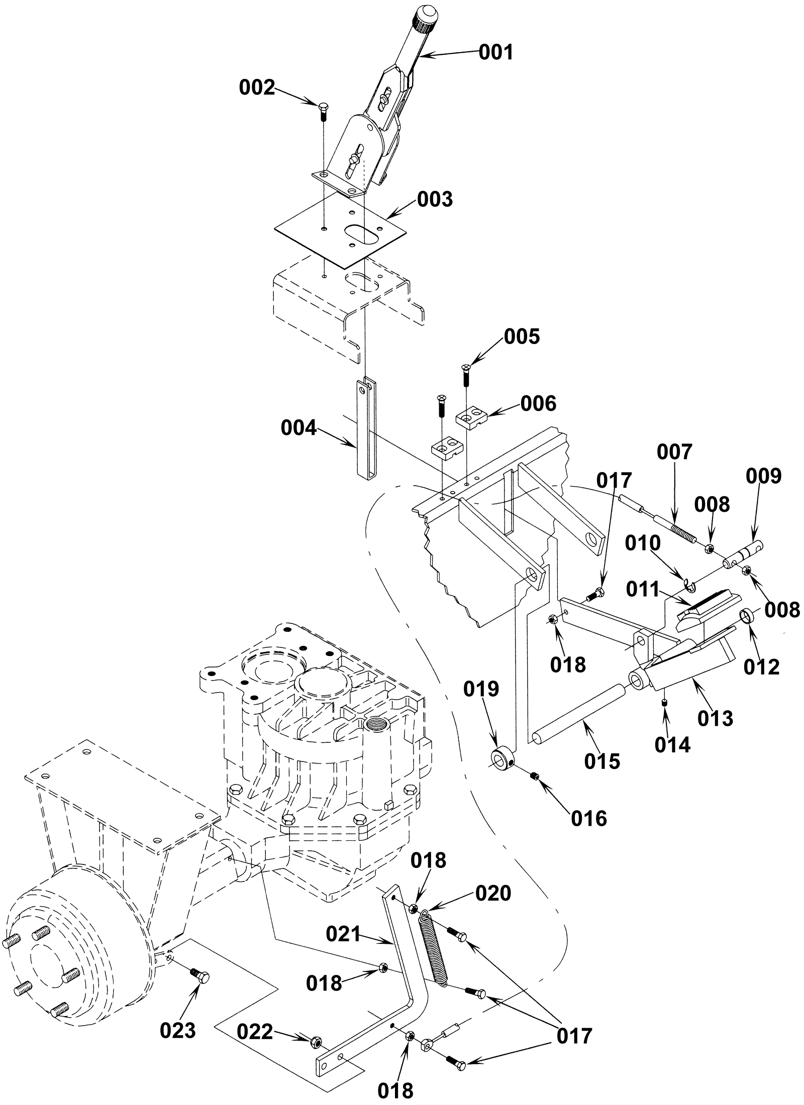
Brake Pedal and Lever
Click to enlarge