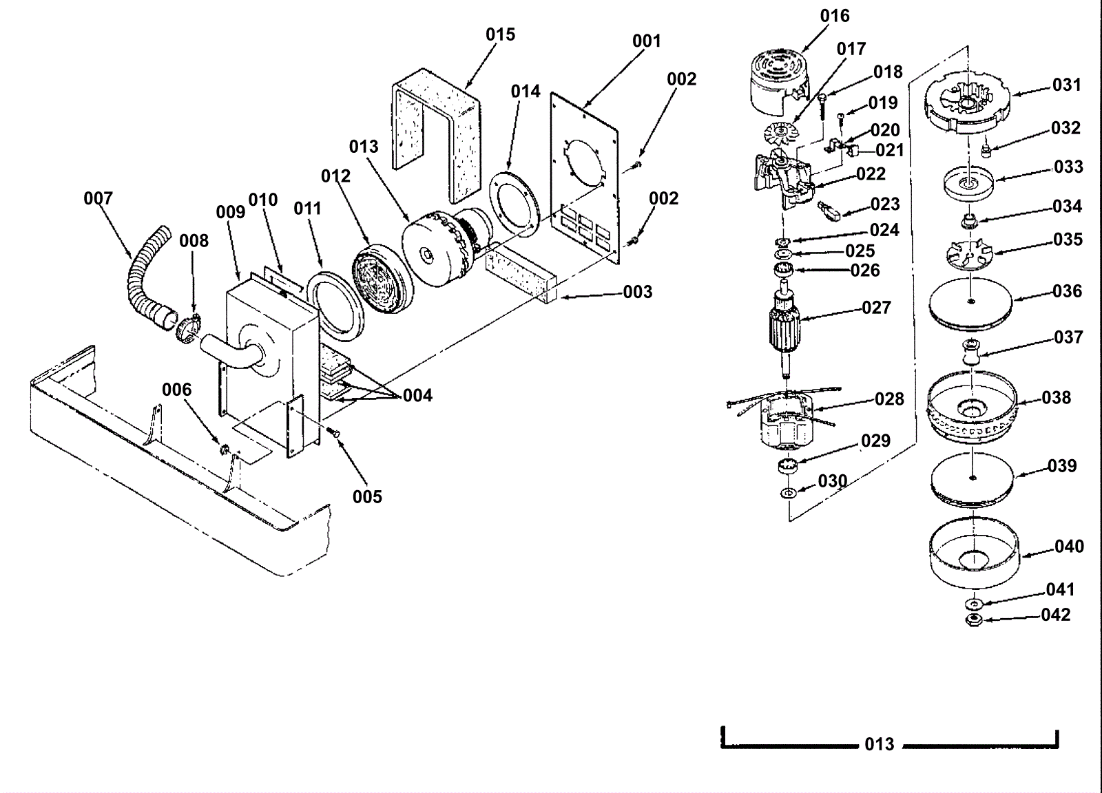
Battery Housing and Tank Assemblies B
Click to enlarge