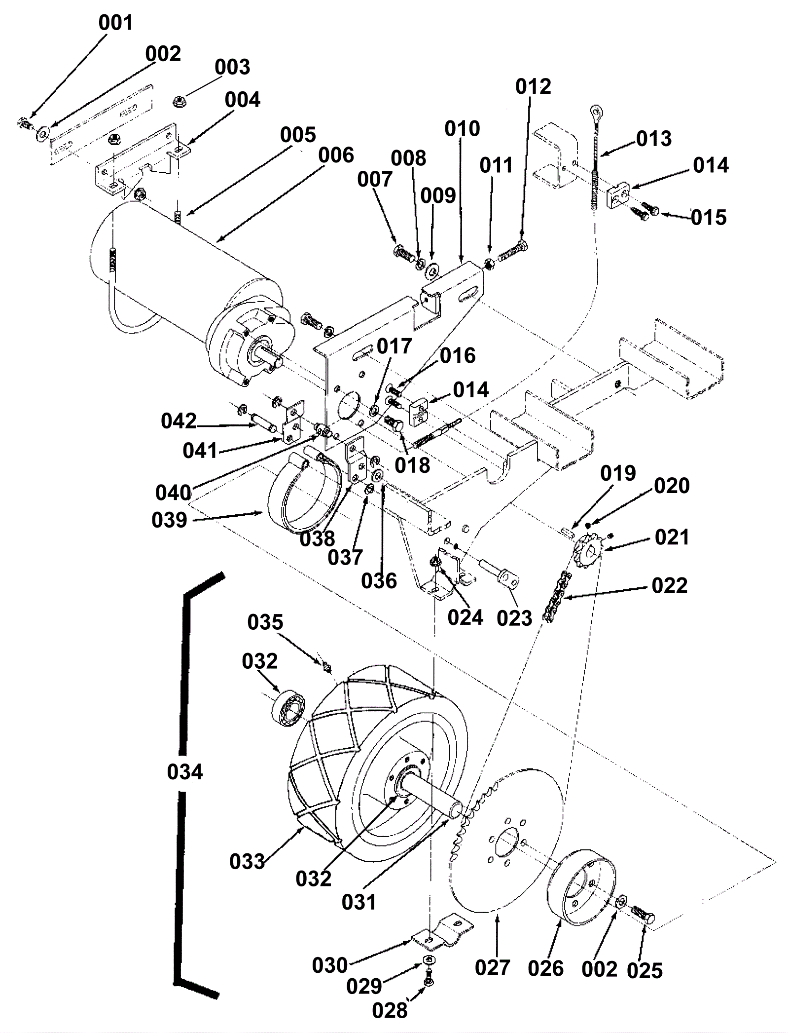
Traction and Drive Assembly
Click to enlarge