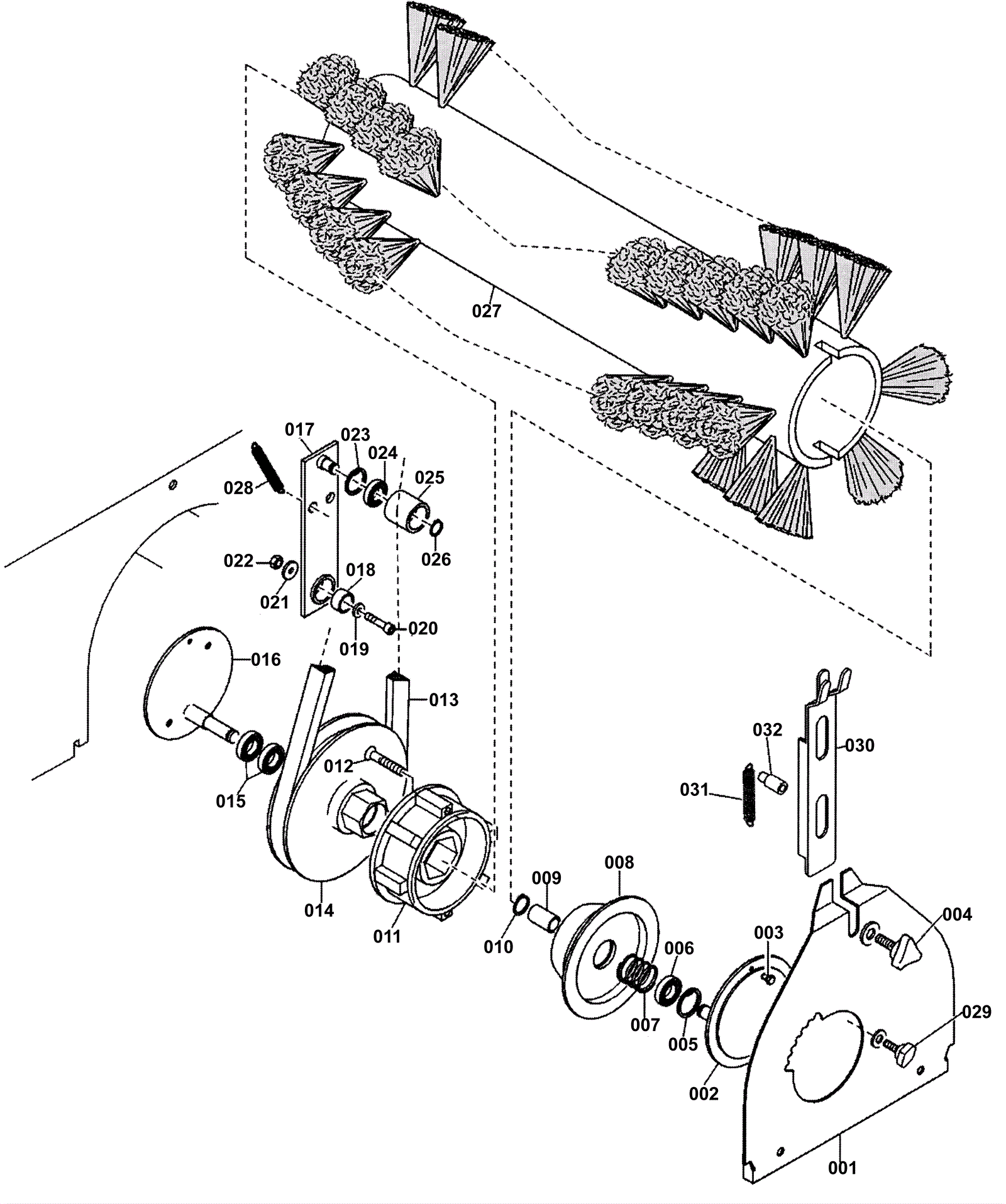
Main Broom Assembly
Click to enlarge