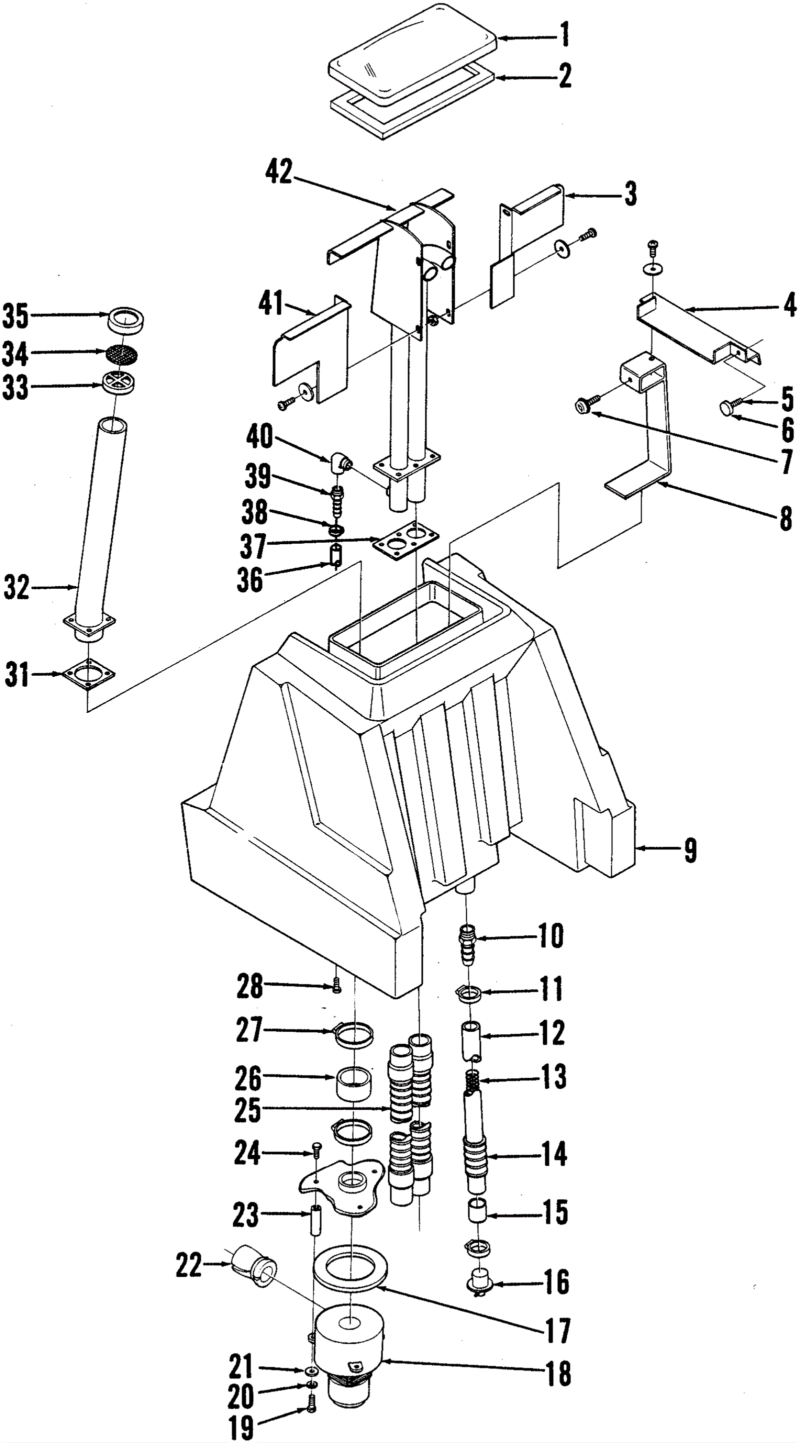
| # | Part | Description | Price | Req | Notes | Availability |
1 |
172-0525
|
Cover assembly |
$231.04
|
1 |
|
usually ships 13-18 days |
2 |
272-2489
|
Tank gasket (OBSOLETE) |
$57.15
|
1 |
|
usually ships 1-5 days |
3 |
272-2490
|
Left baffle (OBSOLETE) |
$660.53
|
1 |
|
usually ships 1-5 days |
4 |
372-0547
|
Left hand support weldment (OBSOLETE) |
Call for price
|
1 |
|
usually ships 13-18 days |
5 |
172-2503
|
Tank leveler |
$14.41
|
2 |
|
usually ships 13-18 days |
6 |
172-2503
|
Tank leveler |
$14.41
|
2 |
|
usually ships 13-18 days |
7 |
172-9507
|
Leveler |
$5.50
|
2 |
|
usually ships 1-5 days |
8 |
272-2491
|
Support weldment (OBSOLETE) |
$103.36
|
2 |
|
usually ships 1-5 days |
9 |
272-2492
|
Recovery tank (OBSOLETE) |
$1,424.41
|
1 |
|
usually ships 1-5 days |
10 |
272-2493
|
Hose barb 1 x 3/4 (OBSOLETE) |
$17.93
|
1 |
|
usually ships 1-5 days |
11 |
272-7412
|
Hose clamp |
$5.50
|
2 |
|
usually ships 13-18 days |
12 |
372-0548
|
Hose (OBSOLETE) |
Call for price
|
1 |
|
usually ships 13-18 days |
13 |
272-2463
|
Compression spring 5/8 x 15 (OBSOLETE) |
$17.70
|
1 |
|
usually ships 1-5 days |
14 |
272-2494
|
Hose |
$71.50
|
1 |
|
usually ships 1-5 days |
15 |
272-2464
|
Tube (OBSOLETE) |
$22.81
|
1 |
|
usually ships 1-5 days |
16 |
172-0464
|
Drain plug |
$109.53
|
1 |
|
usually ships 1-5 days |
17a |
164-0881
|
Vacuum motor gasket |
$15.64
|
2 |
(OEM) |
ships same day |
17b |
991-3029
|
Vacuum motor gasket |
$2.80
|
2 |
(NON-OEM) |
ships same day |
18a |
270-0102
|
36V 3 stage vacuum motor |
$288.88
|
2 |
(OEM) |
usually ships 13-18 days |
18b |
991-1202
|
36V 3 stage vacuum motor tangential |
$127.10
|
2 |
(NON-OEM) |
ships same day |
18c |
172-8488
|
Carbon brush set (pkg of 2) |
$41.97
|
2 |
|
ships same day |
19 |
999-1099
|
Bolt 1/4-20 x 3/4 hex head stainless steel |
$0.99
|
6 |
|
ships same day |
20 |
999-0238
|
Washer 1/4 internal star lock zinc plated |
$0.99
|
6 |
|
ships same day |
21 |
999-0123
|
Washer 1/4 SAE flat zinc plated |
$0.99
|
6 |
|
ships same day |
22 |
172-8250
|
Accoustical foam (OBSOLETE) |
$13.78
|
2 |
|
usually ships 1-5 days |
23 |
172-8215
|
Stand off (OBSOLETE) |
$42.13
|
6 |
|
usually ships 1-5 days |
24 |
999-0018
|
Bolt 1/4-20 x 1/2 hex cap grade 5 zinc plated |
$0.99
|
6 |
|
ships same day |
25 |
172-2810
|
Hose assembly (OBSOLETE) |
$46.93
|
2 |
|
usually ships 1-5 days |
26 |
272-2496
|
Hose (OBSOLETE) |
$19.01
|
2 |
|
usually ships 1-5 days |
27 |
472-7100
|
CLAMP HOSE SAE 52 E00047 |
$11.35
|
4 |
|
usually ships 13-18 days |
28 |
372-0549
|
Screw #10 x 3/4 stainless steel (OBSOLETE) |
Call for price
|
14 |
|
usually ships 13-18 days |
31 |
272-2497
|
Tank gasket (OBSOLETE) |
$13.78
|
2 |
|
usually ships 1-5 days |
32 |
272-2498
|
Tube weldment (OBSOLETE) |
$159.19
|
2 |
|
usually ships 1-5 days |
33 |
172-0461
|
Tube cup (OBSOLETE) |
$20.20
|
2 |
|
usually ships 1-5 days |
34 |
172-0463
|
Screen (OBSOLETE) |
$14.50
|
2 |
|
usually ships 1-5 days |
35 |
172-0462
|
Screen cup (OBSOLETE) |
$41.58
|
2 |
|
usually ships 1-5 days |
36 |
172-9036
|
Solution hose |
$35.82
|
1 |
|
usually ships 1-5 days |
37 |
272-2499
|
Tank gasket (OBSOLETE) |
$18.89
|
1 |
|
usually ships 1-5 days |
38 |
172-8494
|
#6 hose clamp SAE |
$11.35
|
1 |
|
usually ships 1-5 days |
39 |
272-2500
|
Barb 3/4 x 3/4 brass |
$12.89
|
1 |
|
usually ships 1-5 days |
40 |
172-0299
|
Brass elbow |
$12.89
|
1 |
|
usually ships 13-18 days |
41 |
272-2501
|
Right baffle (OBSOLETE) |
$583.90
|
1 |
|
usually ships 1-5 days |
42 |
372-0550
|
Tube weldment (OBSOLETE) |
Call for price
|
1 |
|
usually ships 13-18 days |