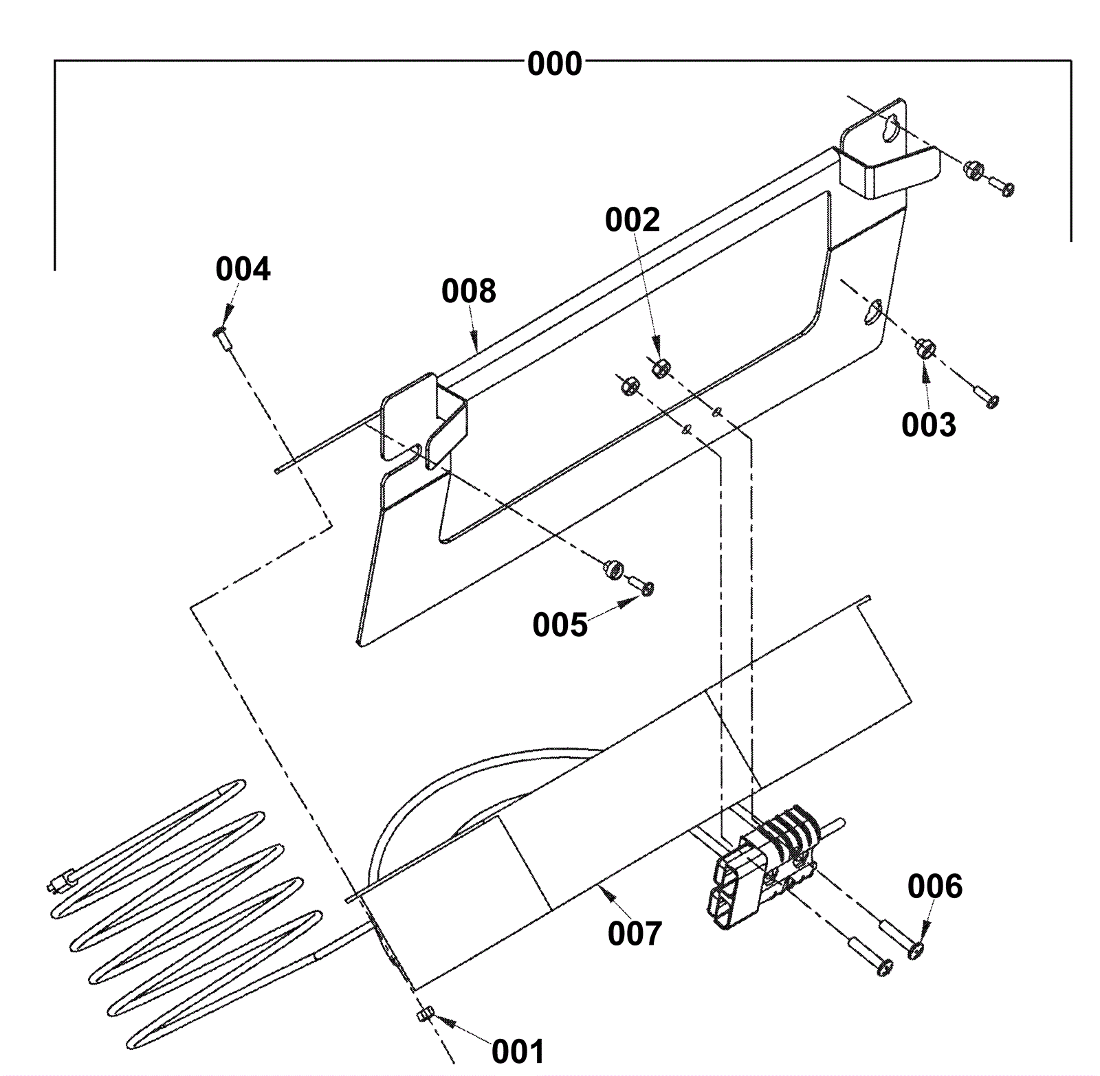
# | Part | Description | Price | Req | Notes | Availability |
000 |
272-0479
|
36V onboard charger kit |
$1,684.68
|
1 |
(includes 001 thru 008 and instruction sheet) |
usually ships 13-18 days |
001 |
999-0211
|
Nut 5/16-18 hex nylon insert lock zinc plated |
$0.99
|
6 |
|
ships same day |
002 |
999-0152
|
Nut 1/4-20 nylon insert lock zinc plated |
$0.99
|
2 |
|
ships same day |
003 |
172-9099
|
Stepped bushing |
$18.08
|
3 |
|
usually ships 1-5 days |
004 |
999-0267
|
Screw 10-24 x 1/2 pan head phillips zinc |
$0.99
|
6 |
|
ships same day |
005 |
999-0269
|
Screw 10-24 x 5/8 pan head phillips zinc plated |
$0.99
|
3 |
|
ships same day |
006 |
999-0432
|
Screw 1/4-20 x 1 1/4 pan head phillips zinc plated |
$0.99
|
2 |
|
ships same day |
007a |
993-0438
|
36V 25 AMPS SMART CHARGER,50A GRAY PLUG |
$811.06
|
1 |
|
usually ships 1-3 days |
007b |
162-5002
|
Diode assembly 1 diode for 36v Battery Charger |
$16.38
|
1 |
|
usually ships 1-5 days |
008 |
272-0482
|
Charger weldment |
$261.02
|
1 |
|
usually ships 1-5 days |