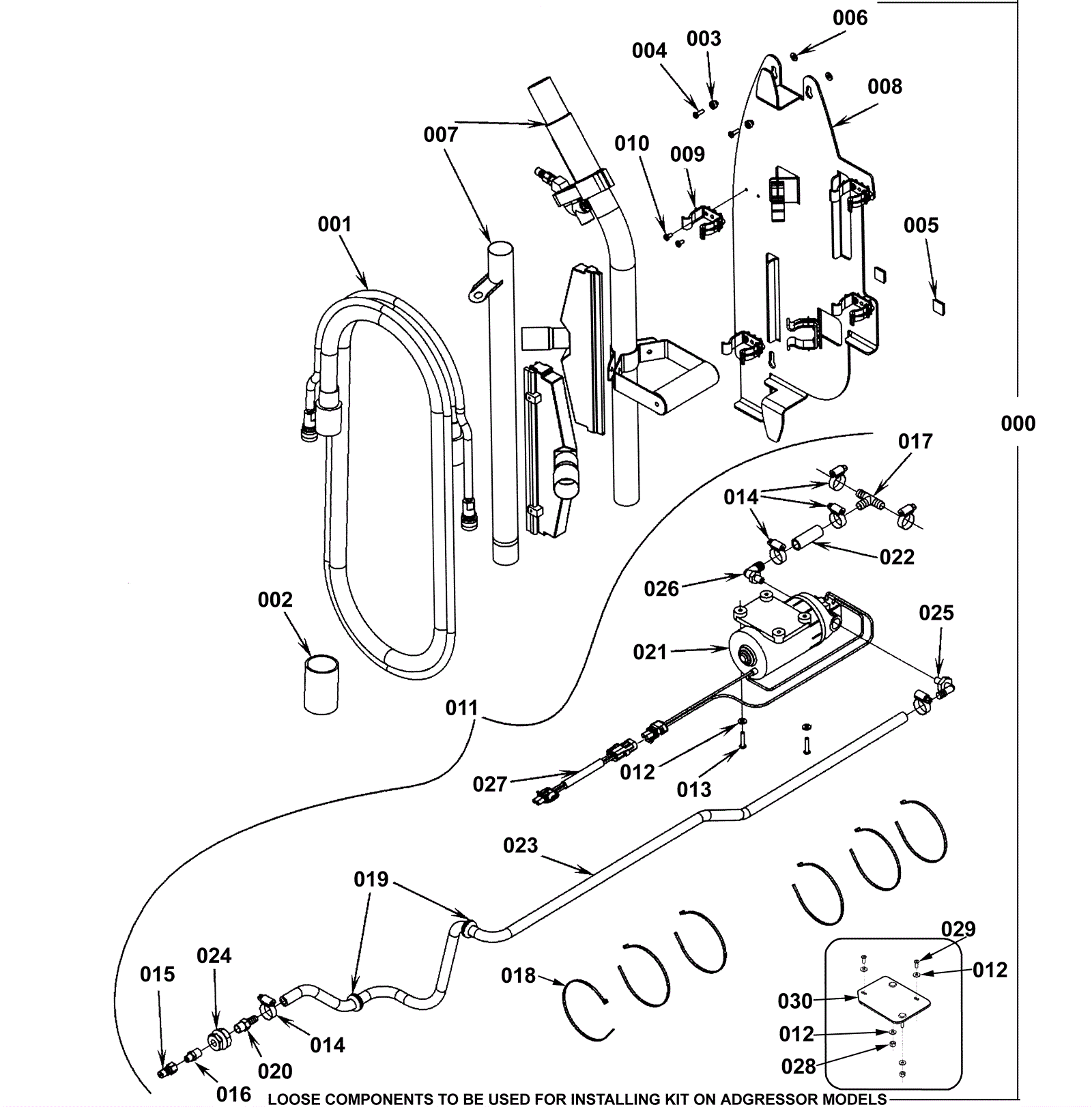
| # | Part | Description | Price | Req | Notes | Availability |
0 |
172-3503
|
Scrub-n-vac kit |
$2,244.35
|
1 |
(includes 1-32 and Instruction sheet) |
usually ships 1-5 days |
1 |
181-1102
|
Solution and vacuum hose assembly |
$264.79
|
1 |
|
usually ships 13-18 days |
2 |
172-3504
|
Coupler |
$59.84
|
1 |
|
usually ships 1-5 days |
3 |
172-9099
|
Stepped bushing |
$20.82
|
3 |
|
usually ships 1-5 days |
4 |
999-0332
|
Screw 10-24 x 5/8 pan head phillips stainless steel |
$1.54
|
3 |
|
ships same day |
5 |
172-1238
|
Bumper |
$14.41
|
2 |
|
usually ships 1-5 days |
6 |
999-0998
|
Washer #10 flat stainless steel |
$0.99
|
2 |
|
ships same day |
7 |
172-3505
|
Wand assembly |
$2,049.55
|
1 |
|
usually ships 13-18 days |
8 |
172-3506
|
Caddy |
$225.10
|
1 |
|
usually ships 1-5 days |
9 |
272-1159
|
Plastic clamp |
$11.35
|
6 |
|
ships same day |
10 |
999-1152
|
Screw 10-24 x 3/8 pan head phillips thread rolling zinc |
$0.99
|
12 |
|
ships same day |
11 |
172-3507
|
Pump assembly |
$641.34
|
1 |
(includes 012-030) |
usually ships 1-5 days |
12 |
272-0405
|
Nipple 1/4 to 1/8 |
$12.89
|
1 |
|
usually ships 1-5 days |
13 |
272-0406
|
Adapter bulk head 1/4 |
$34.23
|
1 |
|
usually ships 1-5 days |
14 |
999-1862
|
Washer #10 flat SAE stainless steel |
$0.99
|
6 |
|
ships same day |
15 |
999-0520
|
Screw 10-24 x 1 pan head phillips stainless steel |
$0.99
|
2 |
|
ships same day |
16 |
999-0520
|
Screw 10-24 x 1 pan head phillips stainless steel |
$0.99
|
2 |
(See SN note) |
ships same day |
17 |
999-0199
|
Nut 10-24 nylon insert lock zinc plated |
$0.99
|
4 |
|
ships same day |
18 |
999-1369
|
Screw 10-24 x 1/2 hex head thread cutting stainless steel |
$0.99
|
2 |
|
ships same day |
19 |
181-0397
|
Grommet |
$12.89
|
2 |
|
usually ships 1-5 days |
20 |
172-0298
|
Barb fitting 1/4 x 3/8 |
$12.89
|
1 |
|
usually ships 13-18 days |
21 |
172-1855
|
36V pump |
$914.51
|
1 |
|
usually ships 13-18 days |
22 |
172-8494
|
#6 hose clamp SAE |
$11.35
|
7 |
|
usually ships 1-5 days |
23 |
170-9289
|
Quick disconnect coupling |
$41.97
|
1 |
|
usually ships 13-18 days |
24 |
172-3509
|
Spiral hose 3/8 x 63 inches |
$40.16
|
1 |
|
usually ships 1-5 days |
25 |
272-0458
|
Transient voltage suppressor assembly |
$48.17
|
1 |
|
usually ships 1-5 days |
26 |
172-1475
|
3 prong circuit board 120V |
$112.17
|
1 |
|
usually ships 1-5 days |
27 |
272-2132
|
Barb tee |
$12.89
|
1 |
|
usually ships 1-5 days |
28 |
472-6989
|
PLATE PUMP |
$36.52
|
1 |
|
usually ships 13-18 days |
29 |
172-1868
|
PVC hose |
$12.89
|
1 |
|
usually ships 1-5 days |
30 |
272-7413
|
Cable tie |
$12.89
|
6 |
|
usually ships 1-5 days |
31 |
272-0215
|
Vinyl tube |
$17.17
|
1 |
|
usually ships 1-5 days |
32 |
172-2734
|
Elbow barb 27/64 x 3/8 |
$12.89
|
2 |
|
usually ships 13-18 days |