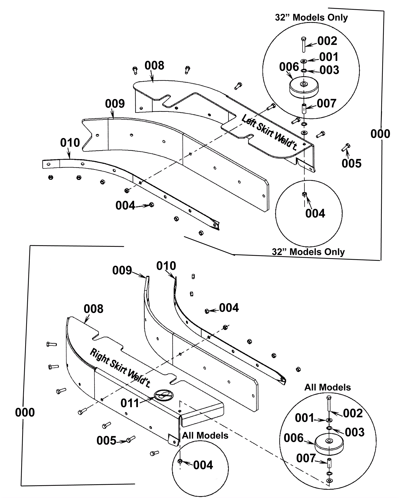
# | Part | Description | Price | Req | Notes | Availability |
000a |
172-3400
|
Right skirt assembly |
$337.39
|
1 |
(all models) (includes 001-010) |
usually ships 13-18 days |
000b |
172-3399
|
Left skirt assembly |
$352.17
|
1 |
(32 inch) (includes 001-010) |
usually ships 13-18 days |
000c |
272-1285
|
Left skirt assembly |
$360.40
|
1 |
(24, 26 and 28 inch) |
usually ships 13-18 days |
001 |
999-0123
|
Washer 1/4 SAE flat zinc plated |
$0.99
|
2 |
(item is on the right skirt assembly, but only the 32 inch left skirt assembly) |
ships same day |
002 |
999-1147
|
Bolt M6-1 x 40mm hex head stainless steel |
$0.99
|
1 |
(item is on the right skirt assembly, but only the 32 inch left skirt assembly) |
ships same day |
003 |
272-1670
|
Washer 3/8 bowed |
$10.85
|
2 |
(item is on the right skirt assembly, but only the 32 inch left skirt assembly) |
usually ships 13-18 days |
004 |
999-0497
|
Nut M6-1 nylon insert lock stainless steel |
$0.99
|
8 |
|
ships same day |
005 |
999-0502
|
Bolt M6-1 x 20mm hex head full thread zinc |
$0.99
|
7 |
|
ships same day |
006a |
172-0083
|
3 inch guide wheel |
$13.76
|
1 |
(item is on the right skirt assembly, but only the 32 inch left skirt assembly) |
ships same day |
006b |
991-3060
|
Bumper wheel |
$6.17
|
1 |
|
ships same day |
006c |
991-3030
|
Wheel |
$6.17
|
1 |
(NON-OEM) |
ships same day |
007 |
172-0095
|
Bushing |
$36.32
|
1 |
(item is on the right skirt assembly, but only the 32 inch left skirt assembly) |
usually ships 13-18 days |
008a |
172-3399
|
Left skirt assembly |
$352.17
|
1 |
|
usually ships 13-18 days |
008b |
272-6094
|
Right hand skirt frame |
$95.66
|
1 |
|
usually ships 13-18 days |
009 |
172-3426
|
Skirt blade gum rubber rear |
$21.57
|
1 |
|
usually ships 13-18 days |
010 |
172-3427
|
Squeegee blade retainer |
$42.98
|
1 |
(right skirt assembly only) |
usually ships 13-18 days |
011 |
172-3428
|
No step decal |
$13.76
|
1 |
|
usually ships 1-5 days |
N/S |
172-3405
|
24 inch skirt blade kit gum rubber disk |
$144.53
|
1 |
(optional) (includes required mounting fasteners) |
usually ships 13-18 days |
N/S |
172-3407
|
24 inch skirt blade kit gum rubber disk |
$176.52
|
1 |
(optional) (includes required mounting fasteners) |
usually ships 13-18 days |
N/S |
172-3408
|
26 inch skirt blade kit gum rubber disk |
$169.11
|
1 |
(optional) (includes required mounting fasteners) |
ships same day |
N/S |
172-3410
|
26 inch skirt blade kit linatex disk |
$206.91
|
1 |
(optional) (includes required mounting fasteners) |
usually ships 1-5 days |
N/S |
172-3411
|
28 inch skirt blade kit gum rubber disk |
$153.52
|
1 |
(optional) (includes required mounting fasteners) |
usually ships 13-18 days |
N/S |
172-3413
|
28 inch skirt blade kit linatex disk |
$222.53
|
1 |
(optional) (includes required mounting fasteners) |
usually ships 1-5 days |
N/S |
172-3414
|
32 inch skirt blade kit gum rubber disk |
$169.11
|
1 |
(optional) (includes required mounting fasteners) |
usually ships 13-18 days |
N/S |
172-3416
|
32 inch skirt blade kit linatex disk |
$206.91
|
1 |
(optional) (includes required mounting fasteners) |
usually ships 13-18 days |