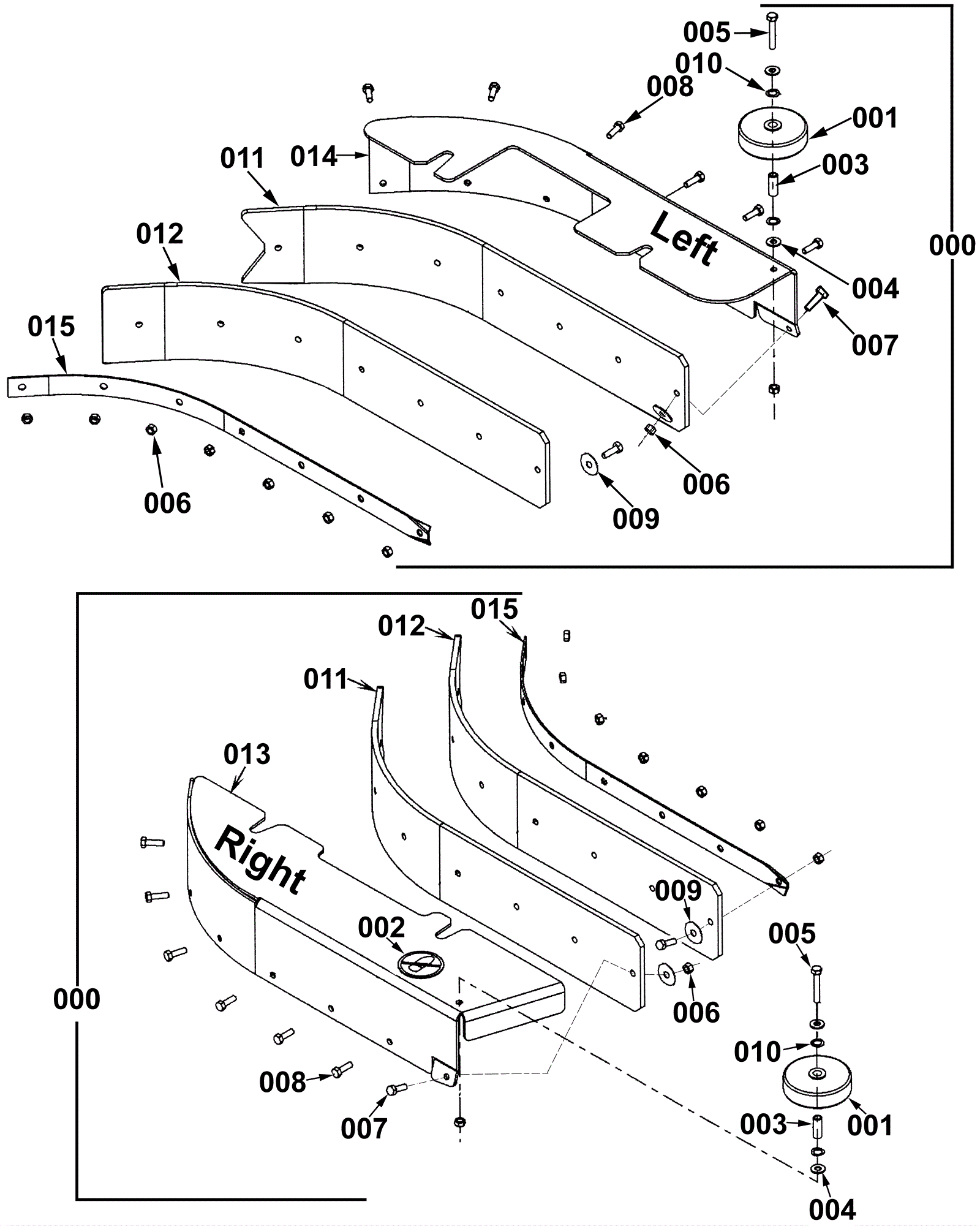
| # | Part | Description | Price | Req | Notes | Availability |
000a |
172-3399
|
Left skirt assembly |
$368.72
|
1 |
(32 inch) (includes 001, 003-012, 014 and 015) |
usually ships 13-18 days |
000b |
272-1285
|
Left skirt assembly |
$377.34
|
1 |
(24, 26 and 28 inch) (includes 001, 003-012, 014 and 015) |
usually ships 13-18 days |
000c |
172-3400
|
Right skirt assembly |
$353.25
|
1 |
(all models) (includes 001-013 and 015) |
usually ships 13-18 days |
001a |
172-0083
|
3 inch guide wheel |
$14.41
|
1 |
(these items are on the Right Skirt Assembly on all models, but only on the 32 inch Left Skirt Assembly) |
ships same day |
001b |
991-3060
|
Bumper wheel |
$6.17
|
1 |
|
ships same day |
001c |
991-3030
|
Wheel |
$6.17
|
1 |
(NON-OEM) |
ships same day |
002 |
172-3428
|
No step decal |
$14.41
|
1 |
(right skirt assembly only) |
usually ships 1-5 days |
003 |
172-0095
|
Bushing |
$41.83
|
1 |
(this is on the right skirt on all models, but only on the 32 inch left skirt) |
usually ships 13-18 days |
004 |
999-0123
|
Washer 1/4 SAE flat zinc plated |
$0.99
|
2 |
(this is on the right skirt assembly on all models, but only on the 32 inch left skirt assembly) |
ships same day |
005 |
999-1147
|
Bolt M6-1 x 40mm hex head stainless steel |
$0.99
|
1 |
(this is on the right skirt assembly on all models, but only on the 32 inch left skirt assembly) |
ships same day |
006 |
999-0439
|
Nut M6-1 hex coarse thread |
$0.99
|
9 |
(qty of 8 on 000c 272-1285) |
ships same day |
007 |
999-0502
|
Bolt M6-1 x 20mm hex head full thread zinc |
$0.99
|
2 |
|
ships same day |
008 |
999-0518
|
Bolt M6-1 x 25mm hex head full thread zinc |
$0.99
|
6 |
|
ships same day |
009 |
272-1288
|
Washer 21/64-1 x 1/16 flat stainless steel |
$12.89
|
2 |
|
usually ships 1-5 days |
010 |
272-1670
|
Washer 3/8 bowed |
$11.35
|
2 |
(this is on the right skirt assembly on all models, but only on the 32 inch left skirt assembly) |
usually ships 13-18 days |
011 |
172-3426
|
Skirt blade gum rubber rear |
$22.58
|
1 |
|
usually ships 13-18 days |
012 |
272-1292
|
Skirt blade gum rubber front |
$24.09
|
1 |
|
usually ships 13-18 days |
013 |
272-6094
|
Right hand skirt frame |
$100.16
|
1 |
|
usually ships 13-18 days |
014 |
272-6095
|
Left hand skirt frame |
$100.16
|
1 |
|
usually ships 13-18 days |
015 |
272-1378
|
Blade retainer |
$20.91
|
1 |
|
usually ships 13-18 days |
N/S |
272-1289
|
Skirt blade skirt linatex rear |
$40.44
|
1 |
|
usually ships 13-18 days |
N/S |
272-1295
|
Skirt blade linatex front |
$35.75
|
1 |
|
usually ships 13-18 days |
N/S |
272-1379
|
24 inch disk gum rubber kit |
$201.03
|
1 |
(includes required mounting fasteners) |
usually ships 13-18 days |
N/S |
272-1426
|
24 inch disk gum rubber kit (red) |
$249.19
|
1 |
(includes required mounting fasteners) |
usually ships 1-5 days |
N/S |
272-1437
|
26 inch gum rubber kit |
$184.81
|
1 |
(includes required mounting fasteners) |
usually ships 1-5 days |
N/S |
272-1439
|
26 inch disk gum rubber kit (red) |
$288.88
|
1 |
(includes required mounting fasteners) |
usually ships 1-5 days |
N/S |
272-1442
|
28 inch blade kit gum rubber |
$131.95
|
1 |
(includes required mounting fasteners) |
usually ships 13-18 days |
N/S |
272-1444
|
28 inch disk linatex kit |
$232.99
|
1 |
(includes required mounting fasteners) |
usually ships 13-18 days |
N/S |
272-1446
|
32 inch blade kit gum rubber |
$149.81
|
1 |
(includes required mounting fasteners) |
usually ships 13-18 days |
N/S |
272-1447
|
32 inch disk linatex kit |
$262.04
|
1 |
(includes required mounting fasteners) |
usually ships 13-18 days |