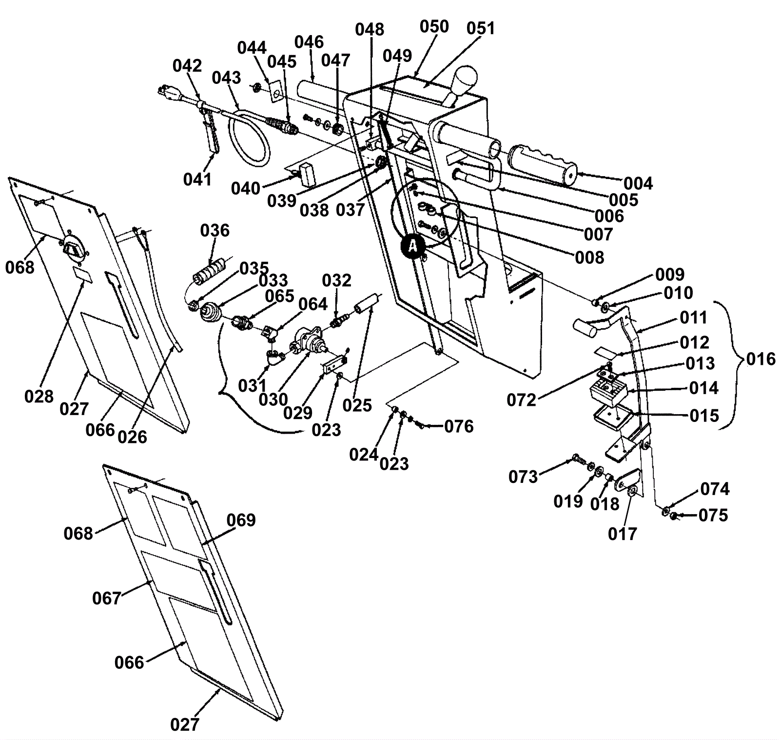
Handle Assembly 24V
Click to enlarge