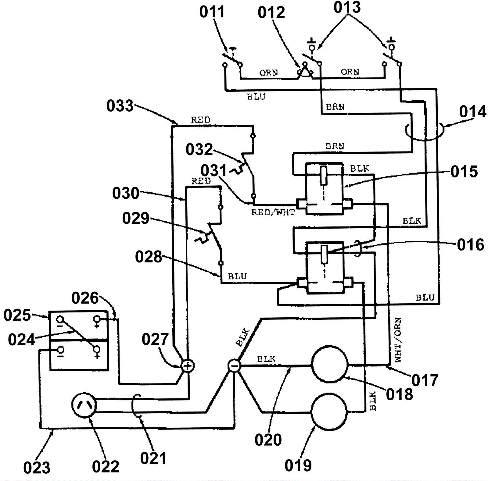
Wiring Diagram 24V
Click to enlarge