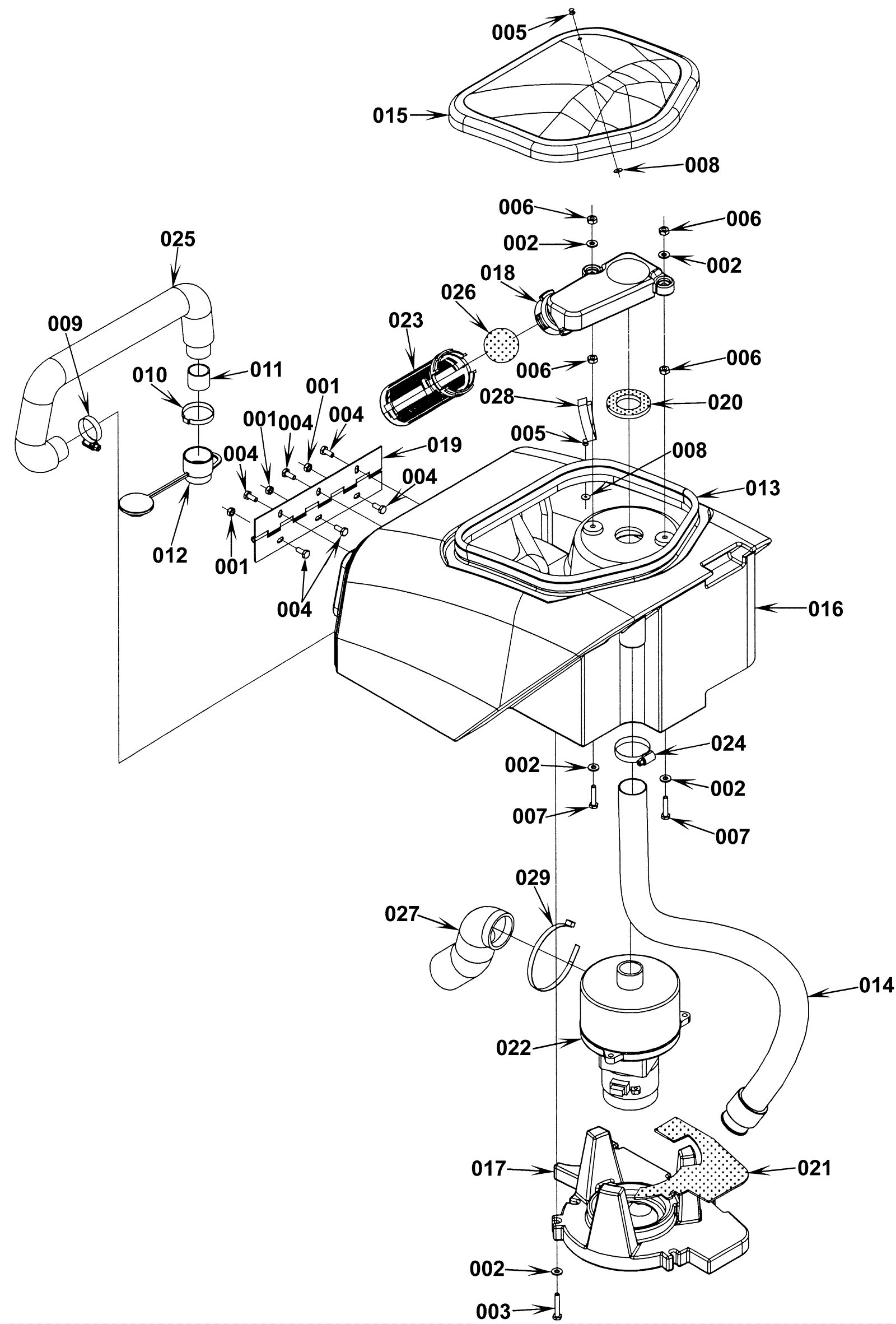
| # | Part | Description | Price | Req | Notes | Availability |
001 |
999-0294
|
Nut 1/4-20 hex nylon lock type NE stainless steel |
Call for price
|
3 |
|
usually ships 11-14 days |
003 |
999-0506
|
Bolt 1/4-20 x 1 1/2 hex head stainless steel |
Call for price
|
4 |
|
usually ships 11-14 days |
004 |
999-0633
|
Bolt 1/4-20 x 5/8 hex head stainless steel |
Call for price
|
6 |
|
usually ships 11-14 days |
005 |
172-0513
|
Pop rivet |
Call for price
|
2 |
|
usually ships 13-16 days |
006 |
999-0609
|
Nut 1/4-20 hex stainless steel |
Call for price
|
4 |
|
usually ships 11-14 days |
007 |
999-0634
|
Bolt 1/4-20 x 1 1/2 hex head full thread grade 5 zinc plated |
Call for price
|
2 |
|
usually ships 11-14 days |
008 |
172-0253
|
Washer 1/8 x 23/64 flat stainless steel |
Call for price
|
2 |
|
usually ships 13-16 days |
009 |
997-2008
|
Hose clamp |
Call for price
|
1 |
|
usually ships 7-8 days |
010 |
272-5140
|
One ear clamp |
Call for price
|
1 |
|
usually ships 13-16 days |
011 |
272-5143
|
Adapter tube |
Call for price
|
1 |
|
usually ships 1-5 days |
013 |
172-4169
|
Recovery lid gasket |
Call for price
|
1 |
|
usually ships 13-16 days |
014 |
172-4026
|
Vacuum hose assembly |
Call for price
|
1 |
|
usually ships 13-16 days |
015 |
272-0184
|
Recovery tank lid (OBSOLETE) |
Call for price
|
1 |
|
usually ships 13-16 days |
016 |
272-0185
|
Recovery tank (OBSOLETE) |
Call for price
|
1 |
|
usually ships 1-5 days |
017 |
272-1367
|
Vacuum motor duct |
Call for price
|
1 |
|
usually ships 1-5 days |
018 |
172-2118
|
Float duct |
Call for price
|
1 |
|
usually ships 13-16 days |
019 |
N/A
|
Not available |
Call for price
|
1 |
(Hinge) |
usually ships 3-26 days |
020 |
172-2119
|
Gasket |
Call for price
|
1 |
|
usually ships 13-16 days |
021 |
272-0187
|
Gasket |
Call for price
|
1 |
|
usually ships 13-16 days |
022a |
172-0787
|
24V 3 stage vacuum motor assembly (OBSOLETE) |
Call for price
|
1 |
|
usually ships 13-16 days |
022b |
991-1224
|
Plastic covered carbon brush (sold individually) |
Call for price
|
2 |
|
usually ships 13-17 days |
023 |
172-0517
|
Float cage half (2 required for full float cage) |
Call for price
|
2 |
|
usually ships 13-16 days |
024 |
997-2000
|
Hose clamp |
Call for price
|
1 |
|
usually ships 7-8 days |
025 |
172-0590
|
Flex hose (OBSOLETE) |
Call for price
|
1 |
|
usually ships 13-16 days |
026 |
172-0192
|
Float ball |
Call for price
|
1 |
|
usually ships 18-27 days |
027 |
172-0126
|
Acoustical foam |
Call for price
|
1 |
|
usually ships 13-16 days |
028 |
172-9230
|
Retaining strap |
Call for price
|
1 |
|
usually ships 1-5 days |
029 |
997-2102
|
Cable tie |
Call for price
|
1 |
|
usually ships 8-11 days |