| # | Part | Description | Price | Req | Notes | Availability |
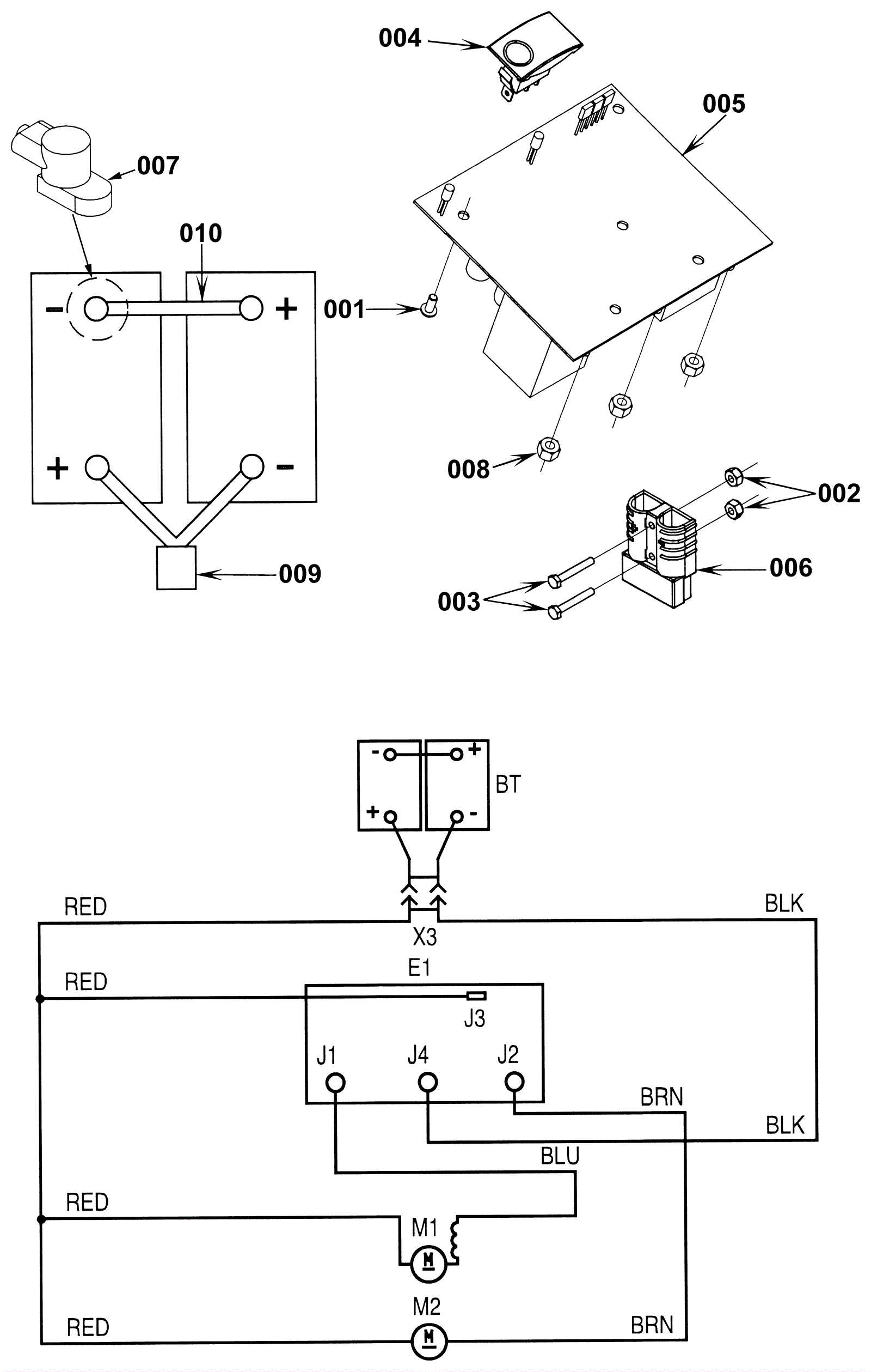
001 |
999-0452
|
Screw 8-32 x 3/8 pan head phillips zinc plated |
$0.99
|
5 |
|
ships same day |
002 |
999-0227
|
Nut 6-32 hex nylon insert lock jam zinc plated |
$0.99
|
2 |
|
ships same day |
003 |
999-0102
|
Screw 6-32 x 1 round head slotted zinc plated |
$0.99
|
2 |
|
ships same day |
004 |
272-1846
|
Rocker switch |
$51.96
|
1 |
|
usually ships 13-18 days |
005 |
272-0145
|
Controller assembly (OBSOLETE) |
$361.35
|
1 |
|
usually ships 13-18 days |
006 |
991-2102
|
50amp charger plug SB50 only (red) |
$16.27
|
1 |
|
usually ships 18-24 days |
007 |
N/A
|
Not available |
Call for price
|
4 |
(Insulator cap) |
usually ships 3-26 days |
008 |
999-0086
|
Nut 10-32 nylon insert lock zinc plated |
$0.99
|
3 |
|
ships same day |
009 |
272-0156
|
Plug assembly |
$221.69
|
1 |
|
usually ships 1-5 days |
010a |
272-0157
|
Cable Assy (OBSOLETE) |
$28.05
|
1 |
|
usually ships 1-5 days |
010b |
272-0158
|
Optional hour meter kit |
$177.07
|
1 |
|
usually ships 1-5 days |
010c |
N/A
|
Not available |
Call for price
|
1 |
Optional battery cart |
usually ships 3-26 days |
010d |
N/A
|
Not available |
Call for price
|
1 |
(Wiring harness) |
usually ships 3-26 days |
E1 |
272-0145
|
Controller assembly (OBSOLETE) |
$361.35
|
1 |
|
usually ships 13-18 days |
M1 |
172-0787
|
24V 3 stage vacuum motor assembly (OBSOLETE) |
$283.82
|
1 |
|
usually ships 13-18 days |
M2 |
N/A
|
Not available |
Call for price
|
1 |
(Brush drive motor) |
usually ships 3-26 days |
N/S |
272-1846
|
Rocker switch |
$51.96
|
1 |
|
usually ships 13-18 days |
N/S |
991-1224
|
Plastic covered carbon brush (sold individually) |
$12.01
|
2 |
|
usually ships 18-24 days |
X3 |
991-2102
|
50amp charger plug SB50 only (red) |
$16.27
|
1 |
|
usually ships 18-24 days |