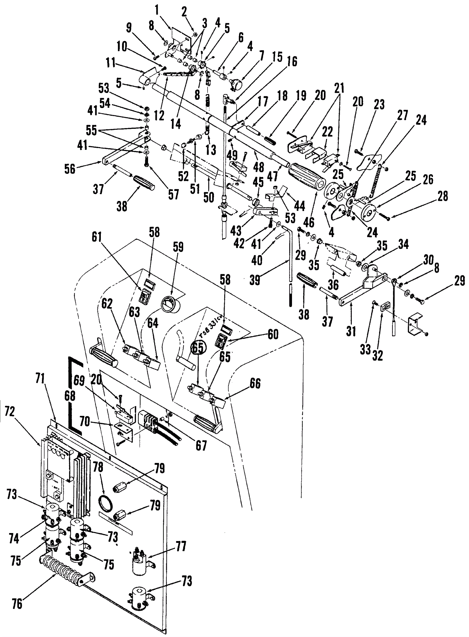
Control Handle and Electrical Panel
Click to enlarge