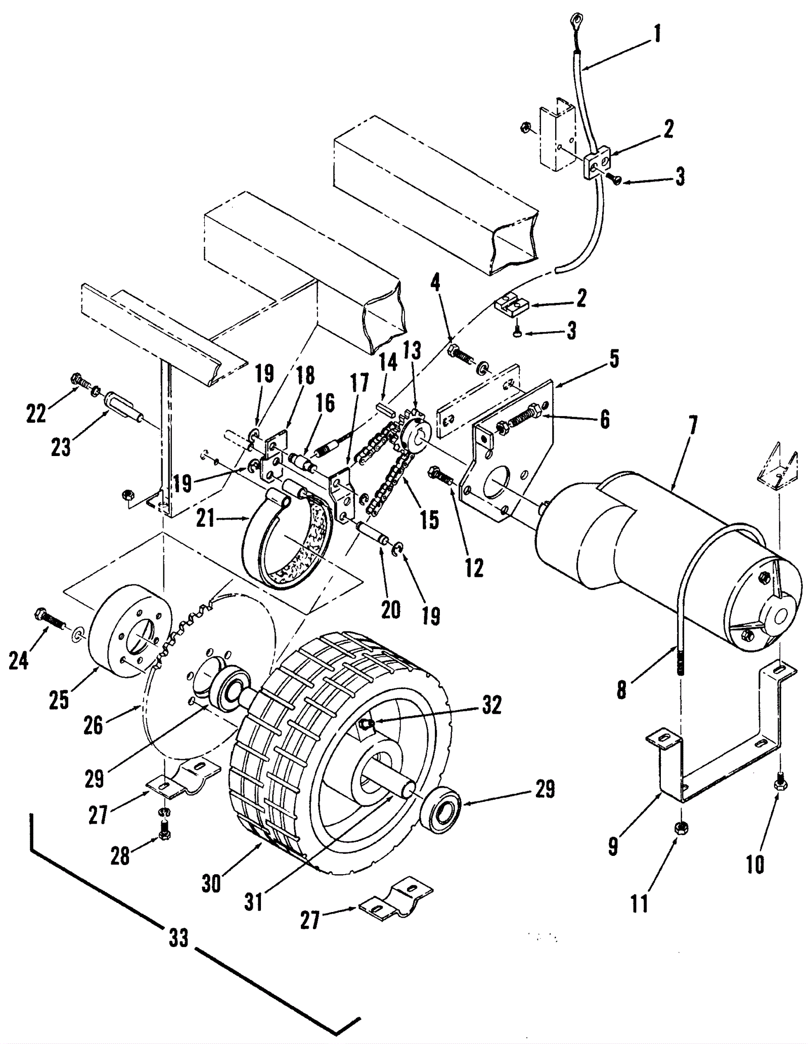
Traction Drive and Brake Assembly
Click to enlarge