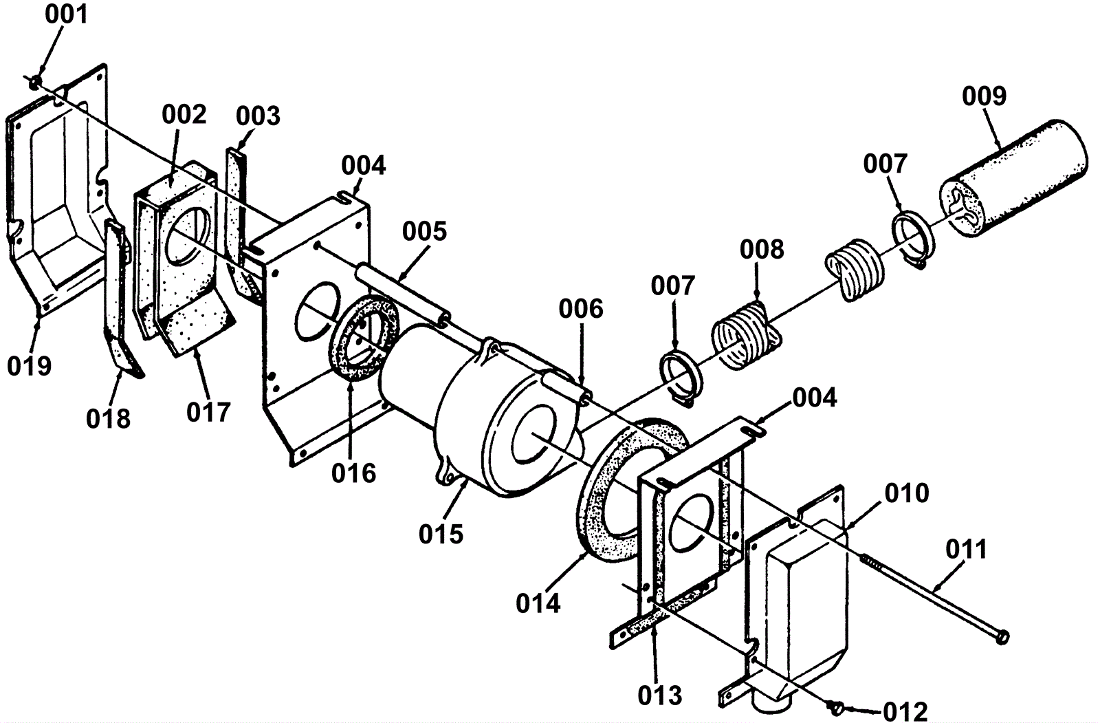
Vaccum Motor Assembly
Click to enlarge