| # | Part | Description | Price | Req | Notes | Availability |
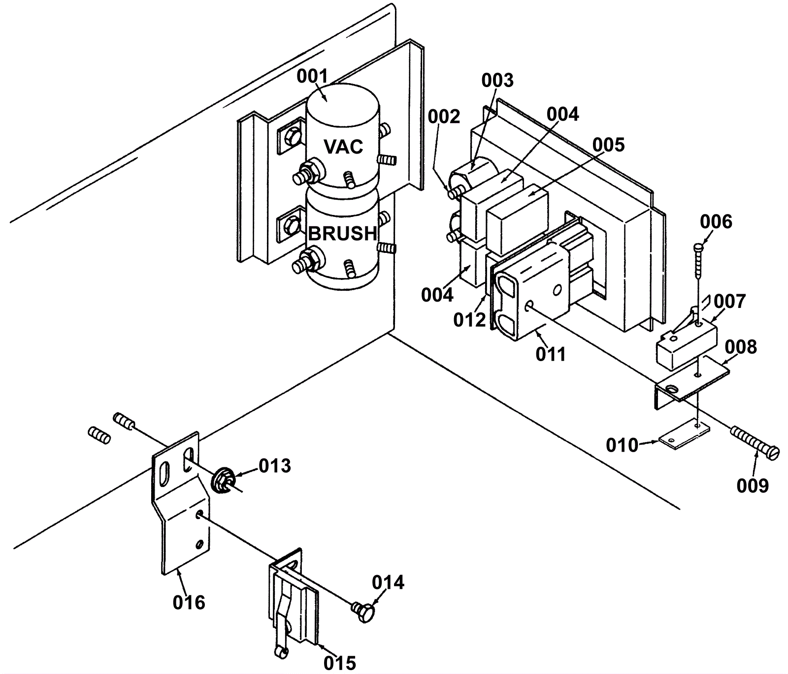
001 |
172-0082
|
Solenoid contactor (OBSOLETE) |
$83.82
|
2 |
|
usually ships 13-18 days |
002 |
172-0345
|
Terminal stud |
$12.89
|
2 |
|
usually ships 13-18 days |
003 |
172-0103
|
Electrical mount |
$14.41
|
2 |
|
usually ships 1-5 days |
004 |
172-0227
|
20amp circuit breaker (OBSOLETE) |
$69.96
|
2 |
|
usually ships 13-18 days |
005 |
472-9567
|
30amp circuit breaker |
$466.42
|
1 |
|
usually ships 13-18 days |
006 |
999-1108
|
Bolt 6-32 x 3/4 hex head stainless steel |
$0.99
|
2 |
|
ships same day |
007a |
172-2680
|
Charger interlock switch |
$30.29
|
1 |
(OEM) |
usually ships 1-5 days |
007b |
991-5121
|
Charger interlock switch (OBSOLETE) |
$15.07
|
1 |
(NON-OEM) |
usually ships 10-13 days |
008 |
172-2685
|
Bracket (OBSOLETE) |
$23.52
|
1 |
|
usually ships 1-5 days |
009 |
999-0344
|
Bolt 1/4-20 x 1 1/2 hex head plain finish |
$0.99
|
2 |
|
ships same day |
010 |
172-6084
|
Nut plate |
$24.40
|
1 |
|
usually ships 13-18 days |
011a |
991-2102
|
50amp charger plug SB50 only (red) |
$16.27
|
1 |
|
usually ships 18-24 days |
011b |
172-2263
|
Charger plug contact for 200B |
$12.05
|
2 |
|
usually ships 13-18 days |
011c |
162-5045
|
175amp charger plug with pins (red) SB175 |
$17.23
|
1 |
|
ships same day |
012 |
172-0228
|
5amp circuit breaker (OBSOLETE) |
$79.20
|
1 |
|
usually ships 13-18 days |
013 |
999-0152
|
Nut 1/4-20 nylon insert lock zinc plated |
$0.99
|
2 |
|
ships same day |
014 |
999-0793
|
Screw 10-24 x 3/8 hex washer slot thread cutting zinc |
$0.99
|
2 |
|
ships same day |
015 |
172-0235
|
Switch assembly (OBSOLETE) |
$183.90
|
1 |
|
usually ships 13-18 days |
016 |
N/A
|
Not available |
Call for price
|
1 |
(Switch plate) |
usually ships 3-26 days |