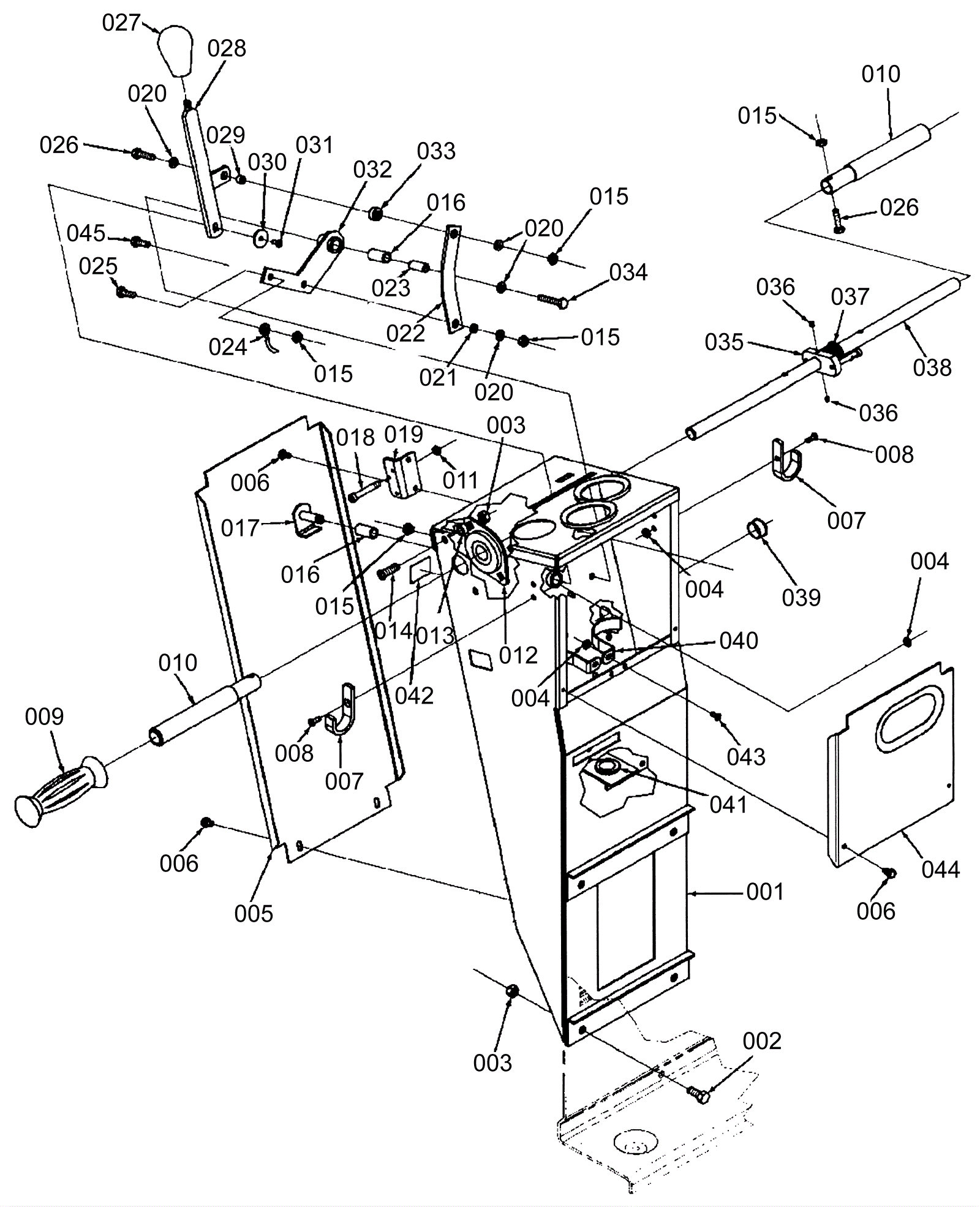
# | Part | Description | Price | Req | Notes | Availability |
001 |
N/A
|
Not available |
Call for price
|
1 |
(Handle weldment) |
usually ships 3-26 days |
002 |
999-0132
|
Bolt 5/16-18 x 3/4 hex head grade 5 zinc plated |
$2.64
|
4 |
|
ships same day |
003 |
999-0211
|
Nut 5/16-18 hex nylon insert lock zinc plated |
$0.99
|
8 |
|
ships same day |
004 |
999-0211
|
Nut 5/16-18 hex nylon insert lock zinc plated |
$0.99
|
4 |
|
ships same day |
005 |
N/A
|
Not available |
Call for price
|
1 |
(Cover) |
usually ships 3-26 days |
006 |
999-0793
|
Screw 10-24 x 3/8 hex washer slot thread cutting zinc |
$0.99
|
6 |
|
ships same day |
007 |
172-0020
|
Hook (OBSOLETE) |
$18.48
|
2 |
|
usually ships 1-5 days |
008 |
272-1545
|
Screw 10-24 X 5/8 |
$5.39
|
2 |
|
usually ships 1-5 days |
009a |
164-0304
|
Handle grip |
$71.48
|
2 |
|
usually ships 1-5 days |
009b |
991-8571
|
Handle grip |
$4.04
|
2 |
(NON-OEM) |
usually ships 18-24 days |
010 |
172-2287
|
Handle tube (OBSOLETE) |
$34.76
|
2 |
|
usually ships 1-5 days |
011 |
999-0211
|
Nut 5/16-18 hex nylon insert lock zinc plated |
$0.99
|
3 |
|
ships same day |
012 |
172-2293
|
Bearing (OBSOLETE) |
$79.42
|
2 |
|
usually ships 1-5 days |
013 |
172-4008
|
Bushing |
$33.43
|
4 |
|
ships same day |
014 |
272-1546
|
Screw 5/16-18 X 1 |
$12.31
|
4 |
|
usually ships 1-5 days |
015 |
999-0152
|
Nut 1/4-20 nylon insert lock zinc plated |
$0.99
|
6 |
|
ships same day |
016 |
172-0209
|
Sleeve bearing |
$12.54
|
2 |
|
usually ships 1-5 days |
017 |
172-2288
|
Actuator weldment (OBSOLETE) |
$55.24
|
1 |
|
usually ships 13-18 days |
018 |
999-0745
|
Screw 10-24 x 1 1/4 socket head shoulder |
$2.67
|
3 |
|
ships same day |
019 |
172-2291
|
Stop bracket (OBSOLETE) |
$35.82
|
1 |
|
usually ships 1-5 days |
020 |
172-0369
|
Washer 17/64 x 3/4 x 23/64 flat |
$12.31
|
4 |
|
usually ships 1-5 days |
021 |
172-2657
|
Bushing |
$34.14
|
1 |
|
usually ships 1-5 days |
022 |
172-1002
|
Strap |
$22.22
|
1 |
|
usually ships 1-5 days |
023 |
172-0095
|
Bushing |
$36.32
|
1 |
|
usually ships 13-18 days |
024a |
172-0557
|
Lift cable |
$63.91
|
1 |
Models 240LX, 240HD, and BA600 |
usually ships 13-18 days |
024b |
172-4874
|
Lift cable (OBSOLETE) |
$24.95
|
1 |
Model 240LX-J |
usually ships 1-5 days |
025 |
999-0019
|
Bolt 1/4-20 x 5/8 hex head grade 5 zinc plated |
$0.99
|
1 |
|
ships same day |
026 |
999-0297
|
Bolt 1/4-20 x 1 hex head stainless steel |
$2.53
|
3 |
|
ships same day |
027 |
172-0021
|
Knob |
$24.60
|
1 |
|
usually ships 13-18 days |
028 |
172-0570
|
Handle weldment |
$137.61
|
1 |
|
usually ships 13-18 days |
029 |
172-0016
|
Bushing |
$31.16
|
1 |
|
usually ships 1-5 days |
030 |
999-0588
|
Washer 7/8 flat stainless steel |
$11.44
|
1 |
|
ships same day |
031 |
172-0561
|
Bolt 10-24 x 3/8 hex lock |
$13.76
|
1 |
|
usually ships 1-5 days |
032 |
172-1001
|
Arm weldment (OBSOLETE) |
$76.43
|
1 |
|
usually ships 1-5 days |
033 |
172-0017
|
Bushing |
$28.60
|
1 |
|
usually ships 1-5 days |
034 |
999-0344
|
Bolt 1/4-20 x 1 1/2 hex head plain finish |
$0.99
|
1 |
|
ships same day |
035 |
172-0505
|
Handle spring lever |
$141.67
|
1 |
|
usually ships 1-5 days |
036 |
999-0284
|
Screw 10-24 x 3/16 cup point socket set alloy plain finish |
$0.99
|
2 |
|
ships same day |
037 |
172-0506
|
Torsion spring (OBSOLETE) |
$13.07
|
1 |
|
usually ships 13-18 days |
038 |
172-2290
|
Handle bar |
$56.14
|
1 |
|
usually ships 1-5 days |
039 |
172-2306
|
Cap plug |
$12.31
|
1 |
|
usually ships 1-5 days |
040 |
172-2295
|
Clamp capacitor (OBSOLETE) |
$26.14
|
2 |
|
usually ships 1-5 days |
041 |
172-2294
|
Flanged bearing (OBSOLETE) |
$24.95
|
1 |
|
usually ships 1-5 days |
042 |
N/A
|
Not available |
Call for price
|
2 |
Not available(cover decal) |
usually ships 3-26 days |
043 |
999-0333
|
Screw 10-24 x 1/2 pan head phillips stainless steel |
$0.99
|
2 |
|
ships same day |
044 |
272-1551
|
Cover (OBSOLETE) |
$69.50
|
1 |
|
usually ships 1-5 days |
045 |
999-0334
|
Bolt 1/4-20 x 3/4 inch hex head stainless steel |
$3.85
|
1 |
|
usually ships 16-20 days |
N/S |
172-2292
|
Grommet |
$5.39
|
2 |
|
usually ships 1-5 days |