| # | Part | Description | Price | Req | Notes | Availability |
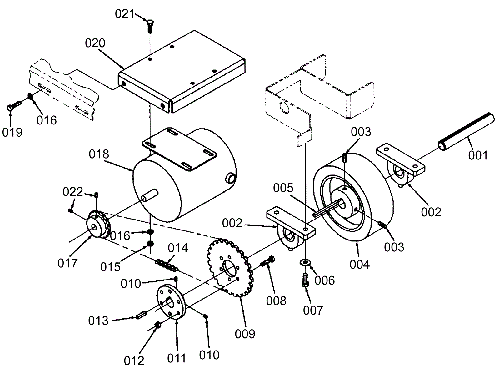
001 |
172-8049
|
Drive shaft |
$67.20
|
1 |
|
usually ships 13-18 days |
002 |
172-2597
|
Pillow block bearing assembly w/grease fitting (OBSOLETE) |
$184.12
|
2 |
|
usually ships 13-18 days |
003 |
181-0079
|
Screw 5/16-18 x 5/8 socket set lock |
$5.50
|
2 |
|
usually ships 13-18 days |
004a |
172-0556
|
Wheel (OBSOLETE) |
$850.63
|
1 |
|
usually ships 13-18 days |
004b |
172-4868
|
Drive wheel assembly (OBSOLETE) |
$806.85
|
1 |
Includes items 001, 003, 004a, and 005. For 240LX, 240HD, and BA600 |
usually ships 13-18 days |
004c |
172-4869
|
Wheel (OBSOLETE) |
$565.68
|
1 |
|
usually ships 1-5 days |
004d |
172-4870
|
Drive wheel assembly (OBSOLETE) |
$612.10
|
1 |
Includes items 001, 003, 004c, and 005. For 240LX-J |
usually ships 1-5 days |
005 |
172-0555
|
Square key 1/4 x 3 1/4 (OBSOLETE) |
$10.52
|
1 |
|
usually ships 13-18 days |
006 |
272-1835
|
Washer flat |
$12.89
|
4 |
|
usually ships 13-18 days |
007 |
172-4373
|
Screw 3/8-16 x 1.25 |
$12.89
|
4 |
|
usually ships 1-5 days |
008 |
999-0424
|
Bolt 5/16-18 x 1 hex head stainless steel |
$0.99
|
6 |
|
ships same day |
009 |
N/A
|
Not available |
Call for price
|
1 |
(Sprocket) |
usually ships 3-26 days |
010 |
181-0079
|
Screw 5/16-18 x 5/8 socket set lock |
$5.50
|
1 |
|
usually ships 13-18 days |
011 |
172-9897
|
Adapter (OBSOLETE) |
$288.60
|
1 |
|
usually ships 1-5 days |
012 |
999-0423
|
Nut 5/16-18 nylon insert lock stainless steel |
$0.99
|
6 |
|
ships same day |
013 |
172-0437
|
Square keyway |
$11.35
|
1 |
|
usually ships 13-18 days |
014a |
991-0101
|
Chain (sold by the link) |
$0.55
|
58 |
|
usually ships 4-8 days |
014b |
991-0103
|
Master link |
$1.87
|
1 |
|
ships same day |
015 |
999-0211
|
Nut 5/16-18 hex nylon insert lock zinc plated |
$0.99
|
4 |
|
ships same day |
016 |
999-0024
|
Washer 5/16 flat stainless steel |
$1.34
|
8 |
|
ships same day |
017 |
172-9898
|
Sprocket |
$115.50
|
1 |
|
usually ships 1-5 days |
018a |
172-9899
|
24V drive motor (OBSOLETE) |
$1,621.62
|
1 |
|
usually ships 1-5 days |
018b |
N/A
|
Not available |
Call for price
|
1 |
(Carbon brush - pkg of 4) |
usually ships 3-26 days |
019 |
999-0556
|
Bolt 5/16-18 x 3/4 hex head stainless steel |
$0.99
|
4 |
|
ships same day |
020 |
172-9901
|
Motor mount (OBSOLETE) |
$447.28
|
1 |
|
usually ships 1-5 days |
021 |
999-0132
|
Bolt 5/16-18 x 3/4 hex head grade 5 zinc plated |
$2.64
|
4 |
|
ships same day |
022 |
181-0003
|
Screw 1/4-20 x 1/2 socket set lock |
$12.89
|
2 |
|
usually ships 13-18 days |