# | Part | Description | Price | Req | Notes | Availability |
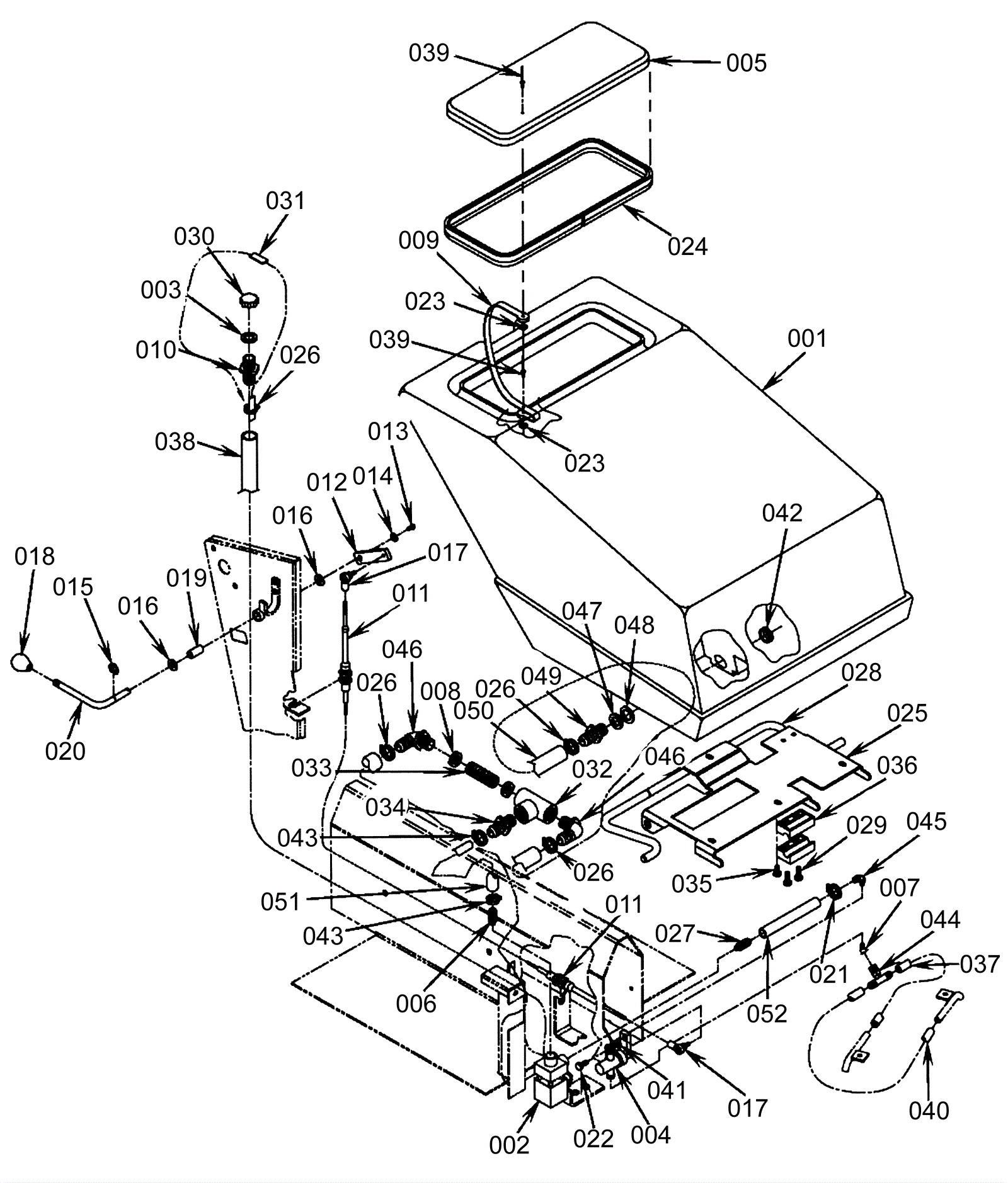
001 |
172-0196
|
Solution tank (OBSOLETE) |
$925.79
|
1 |
|
usually ships 13-18 days |
002a |
172-2094
|
Solenoid valve assembly |
$549.82
|
1 |
|
usually ships 13-18 days |
002b |
172-2095
|
Viton seal kit (OBSOLETE) |
$214.94
|
1 |
|
usually ships 1-5 days |
002c |
172-2096
|
EPDM seal kit (OBSOLETE) |
$189.12
|
1 |
|
usually ships 13-18 days |
003 |
172-0197
|
Rubber washer |
$10.85
|
1 |
|
usually ships 13-18 days |
004 |
172-1003
|
2 way valve (OBSOLETE) |
$106.70
|
1 |
|
usually ships 13-18 days |
005 |
172-0199
|
Cover |
$92.40
|
1 |
|
usually ships 13-18 days |
006 |
172-0200
|
Barb fitting 1/4 x 1/2 |
$12.31
|
1 |
|
usually ships 1-5 days |
007 |
172-2326
|
Elbow |
$12.31
|
1 |
|
usually ships 1-5 days |
008 |
172-0202
|
Washer rubber |
$8.80
|
2 |
|
usually ships 1-5 days |
009 |
172-0203
|
Strap |
$11.75
|
2 |
|
usually ships 13-18 days |
010 |
170-0264
|
Hose barb |
$10.85
|
1 |
|
usually ships 13-18 days |
011 |
172-9888
|
Control cable (OBSOLETE) |
$162.89
|
1 |
|
usually ships 1-5 days |
012 |
N/A
|
Not available |
Call for price
|
1 |
(Linkage bar) |
usually ships 3-26 days |
013 |
172-0561
|
Bolt 10-24 x 3/8 hex lock |
$13.76
|
1 |
|
usually ships 1-5 days |
014 |
999-0588
|
Washer 7/8 flat stainless steel |
$11.44
|
1 |
|
ships same day |
015 |
172-4033
|
3/8 inch retaining ring |
$10.85
|
1 |
|
usually ships 13-18 days |
016 |
999-0120
|
Washer 3/8 SAE flat |
$0.99
|
2 |
|
ships same day |
017 |
172-0207
|
Rod end #10 |
$36.32
|
2 |
|
usually ships 1-5 days |
018 |
172-0208
|
Knob (OBSOLETE) |
$23.36
|
1 |
|
usually ships 13-18 days |
019 |
172-0209
|
Sleeve bearing |
$12.54
|
1 |
|
usually ships 1-5 days |
020 |
172-0210
|
Valve control rod (OBSOLETE) |
$90.53
|
1 |
|
usually ships 13-18 days |
021 |
997-2001
|
Hose clamp |
$2.42
|
1 |
|
ships same day |
022 |
999-0019
|
Bolt 1/4-20 x 5/8 hex head grade 5 zinc plated |
$0.99
|
2 |
|
ships same day |
023 |
172-0253
|
Washer 1/8 x 23/64 flat stainless steel |
$12.31
|
4 |
|
usually ships 13-18 days |
024 |
172-0201
|
Gasket (sold by the foot) |
$9.35
|
4 ft |
|
usually ships 1-5 days |
025 |
172-0440
|
Tip-up plate (OBSOLETE) |
$170.48
|
1 |
|
usually ships 1-5 days |
026 |
997-2004
|
Hose clamp |
$2.15
|
4 |
|
ships same day |
027 |
172-0298
|
Barb fitting 1/4 x 3/8 |
$12.31
|
1 |
|
usually ships 13-18 days |
028 |
172-0441
|
Tank support bar (OBSOLETE) |
$63.43
|
1 |
|
usually ships 1-5 days |
029 |
999-0506
|
Bolt 1/4-20 x 1 1/2 hex head stainless steel |
$1.28
|
2 |
|
ships same day |
030 |
172-0254
|
Nylon pipe cap |
$12.31
|
1 |
|
usually ships 13-18 days |
031 |
172-0255
|
Strap (OBSOLETE) |
$33.42
|
1 |
|
usually ships 13-18 days |
032 |
172-0213
|
Tee |
$10.52
|
1 |
|
usually ships 1-5 days |
033 |
172-0214
|
Filter (OBSOLETE) |
$10.78
|
1 |
|
usually ships 13-18 days |
034 |
172-0260
|
Screen kit with barb |
$40.08
|
1 |
Includes screen |
usually ships 13-18 days |
035 |
999-0522
|
Screw 1/4-20 x 1/2 pan head phillips stainless steel |
$1.03
|
4 |
|
ships same day |
036 |
172-0439
|
Block |
$9.13
|
2 |
|
usually ships 1-5 days |
037 |
209-0040
|
Hose 3/8 x 24 inch |
$12.31
|
1 |
|
ships same day |
038 |
172-0257
|
3/4 inch x 3-1/2 foot hose |
$35.48
|
7 ft |
|
usually ships 13-18 days |
039 |
172-0513
|
Pop rivet |
$12.31
|
4 |
|
usually ships 13-18 days |
040 |
209-0040
|
Hose 3/8 x 24 inch |
$12.31
|
1 |
|
ships same day |
041 |
999-0152
|
Nut 1/4-20 nylon insert lock zinc plated |
$0.99
|
2 |
|
ships same day |
042 |
172-0564
|
Nut 3/4-16 knurled (OBSOLETE) |
$11.69
|
1 |
|
usually ships 13-18 days |
043 |
997-2002
|
Hose clamp #6 |
$2.15
|
2 |
|
ships same day |
044 |
172-0268
|
Tee barb |
$10.01
|
1 |
|
usually ships 1-5 days |
045 |
172-9889
|
1/4 inch elbow barb |
$24.60
|
1 |
|
usually ships 1-5 days |
046 |
172-2322
|
90 degree elbow barb 3/4 x 3/8 |
$26.04
|
2 |
|
usually ships 13-18 days |
047 |
172-0262
|
Restrainer (OBSOLETE) |
$13.07
|
1 |
|
usually ships 13-18 days |
048 |
172-0263
|
Washer flat rubber |
$12.31
|
1 |
|
usually ships 13-18 days |
049 |
172-1748
|
Barb (OBSOLETE) |
$11.69
|
1 |
|
usually ships 13-18 days |
050 |
272-1305
|
Spiral hose |
$34.87
|
1 |
|
usually ships 13-18 days |
051 |
172-2327
|
Wire reinforced clear hose (OBSOLETE) |
$13.17
|
1 |
|
usually ships 13-18 days |
052 |
172-9890
|
PVC hose |
$11.69
|
1 |
|
usually ships 13-18 days |