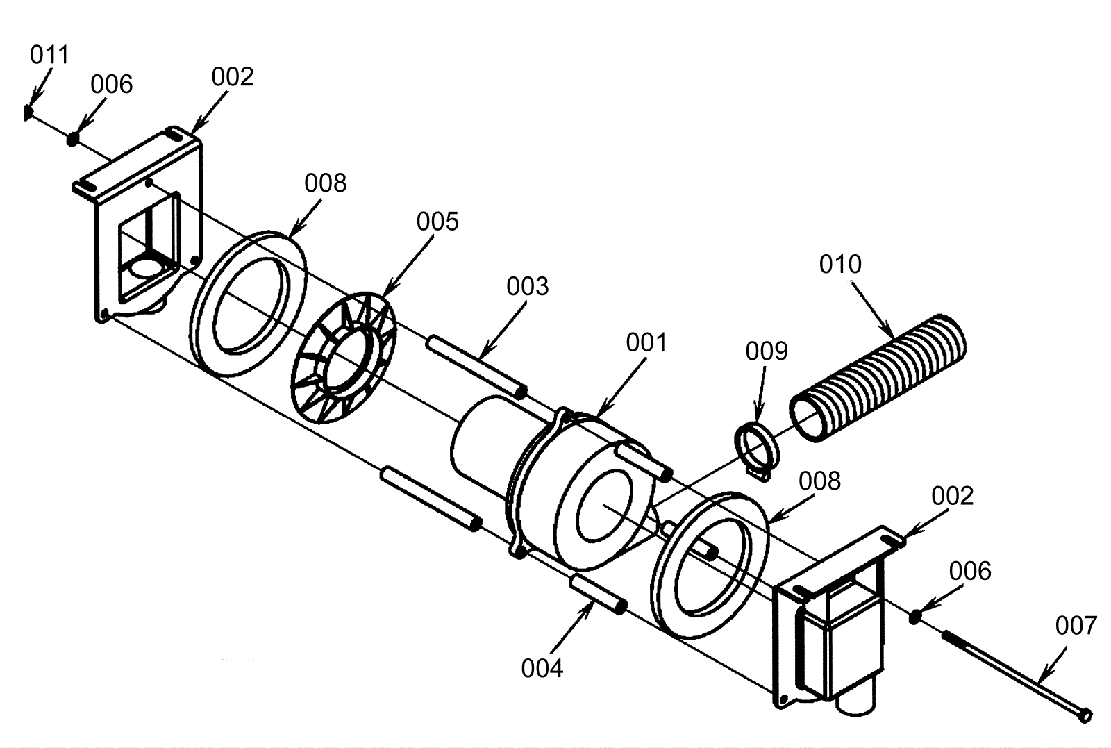
| # | Part | Description | Price | Req | Notes | Availability |
001a |
172-0120
|
24V 2 stage vacuum motor dual ball tangential (OBSOLETE) |
$261.59
|
1 |
|
usually ships 13-18 days |
001b |
991-1203
|
24V 2 stage vacuum motor tangential |
$242.29
|
1 |
(NON-OEM) |
ships same day |
001c |
991-1224
|
Plastic covered carbon brush (sold individually) |
$12.01
|
2 |
|
ships same day |
002 |
172-2345
|
Shroud (OBSOLETE) |
$21.19
|
2 |
|
usually ships 13-18 days |
003 |
N/A
|
Not available |
Call for price
|
3 |
(Spacer) |
usually ships 3-26 days |
004 |
172-0119
|
Stand off spacer (OBSOLETE) |
$8.78
|
3 |
|
usually ships 1-5 days |
005 |
N/A
|
Not available |
Call for price
|
1 |
(Flange) |
usually ships 3-26 days |
006 |
999-0123
|
Washer 1/4 SAE flat zinc plated |
$0.99
|
6 |
|
ships same day |
007 |
999-0699
|
Bolt 1/4-20 x 8 hex head grade 5 zinc plated |
$2.68
|
3 |
|
ships same day |
008a |
164-0881
|
Vacuum motor gasket |
$15.64
|
2 |
|
ships same day |
008b |
172-0553
|
Washer 17/64 x 1/16 flat |
$11.35
|
2 |
(NON-OEM) |
usually ships 13-18 days |
009 |
997-2003
|
Hose clamp |
$2.66
|
1 |
|
ships same day |
011 |
999-0152
|
Nut 1/4-20 nylon insert lock zinc plated |
$0.99
|
3 |
|
ships same day |