| # | Part | Description | Price | Req | Notes | Availability |
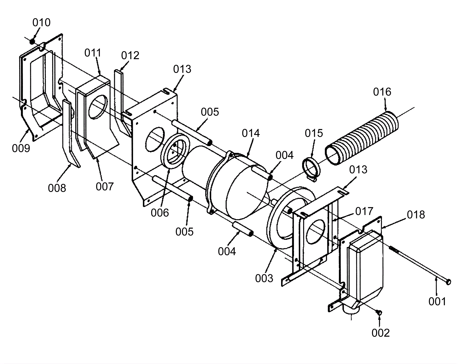
001 |
999-0699
|
Bolt 1/4-20 x 8 hex head grade 5 zinc plated |
$2.68
|
3 |
|
ships same day |
002 |
999-0793
|
Screw 10-24 x 3/8 hex washer slot thread cutting zinc |
$0.99
|
12 |
|
ships same day |
003a |
164-0881
|
Vacuum motor gasket |
$15.64
|
1 |
|
ships same day |
003b |
991-3029
|
Vacuum motor gasket |
$2.80
|
1 |
(NON-OEM) |
ships same day |
004 |
172-0432
|
Stand-off spacer (OBSOLETE) |
$24.18
|
3 |
|
usually ships 1-5 days |
005 |
N/A
|
Not available |
Call for price
|
3 |
(Spacer) |
usually ships 3-26 days |
006 |
172-2357
|
Gasket (OBSOLETE) |
$11.75
|
1 |
|
usually ships 13-18 days |
007 |
N/A
|
Not available |
Call for price
|
1 |
Not available (foam) |
usually ships 3-26 days |
008 |
N/A
|
Not available |
Call for price
|
1 |
Not available (foam) |
usually ships 3-26 days |
009 |
N/A
|
Not available |
Call for price
|
1 |
(Shroud) |
usually ships 3-26 days |
010 |
999-0152
|
Nut 1/4-20 nylon insert lock zinc plated |
$0.99
|
3 |
|
ships same day |
011 |
N/A
|
Not available |
Call for price
|
1 |
Not available (foam) |
usually ships 3-26 days |
012 |
N/A
|
Not available |
Call for price
|
1 |
Not available (foam) |
usually ships 3-26 days |
013 |
N/A
|
Not available |
Call for price
|
2 |
(Vacuum motor bracket) |
usually ships 3-26 days |
014a |
172-0120
|
24V 2 stage vacuum motor dual ball tangential (OBSOLETE) |
$261.59
|
1 |
(OEM) |
usually ships 13-18 days |
014b |
991-1203
|
24V 2 stage vacuum motor tangential |
$242.29
|
1 |
(NON-OEM) |
ships same day |
014c |
991-1224
|
Plastic covered carbon brush (sold individually) |
$12.01
|
2 |
|
ships same day |
015 |
997-2003
|
Hose clamp |
$2.66
|
1 |
|
ships same day |
017 |
172-0032
|
Gasket 1/16 x 1/2 x 120 (OBSOLETE) |
$11.99
|
1 |
|
usually ships 13-18 days |
018 |
172-2356
|
Shroud (OBSOLETE) |
$188.87
|
1 |
|
usually ships 1-5 days |