| # | Part | Description | Price | Req | Notes | Availability |
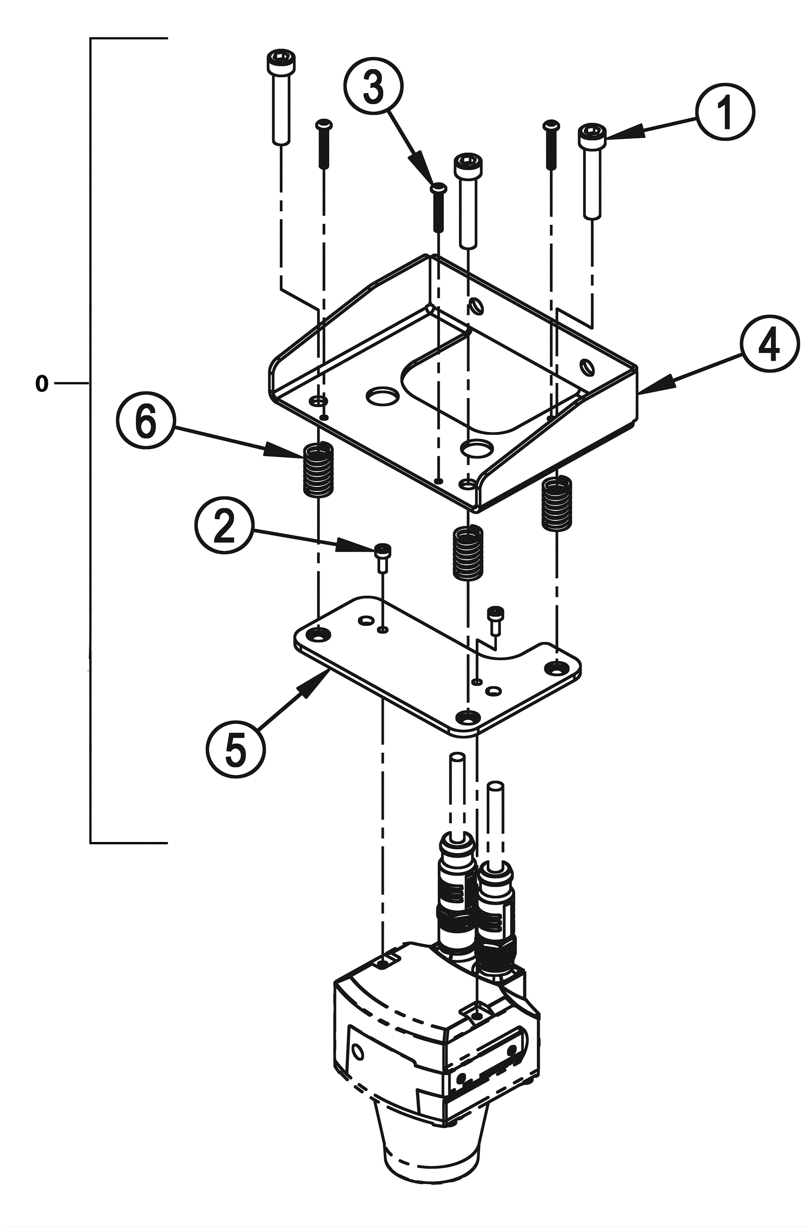
0 |
572-9051
|
Horizontal lidar assembly |
$71.20
|
1 |
(includes 1-6) |
usually ships 13-18 days |
1 |
999-1953
|
Screw M6-1 x 35mm socket stainless steel |
$2.07
|
3 |
|
ships same day |
2 |
572-9181
|
Screw M3 x 8 |
Call for price
|
2 |
|
usually ships 13-18 days |
3 |
572-9189
|
Screw M3 x 20 |
$4.18
|
3 |
|
usually ships 13-18 days |
4 |
N/A
|
Not available |
Call for price
|
1 |
(horizontal lidar bracket) |
usually ships 3-26 days |
5 |
N/A
|
Not available |
Call for price
|
1 |
(lidar mounting plate) |
usually ships 3-26 days |
6 |
N/A
|
Not available |
Call for price
|
3 |
(compression spring) |
usually ships 3-26 days |