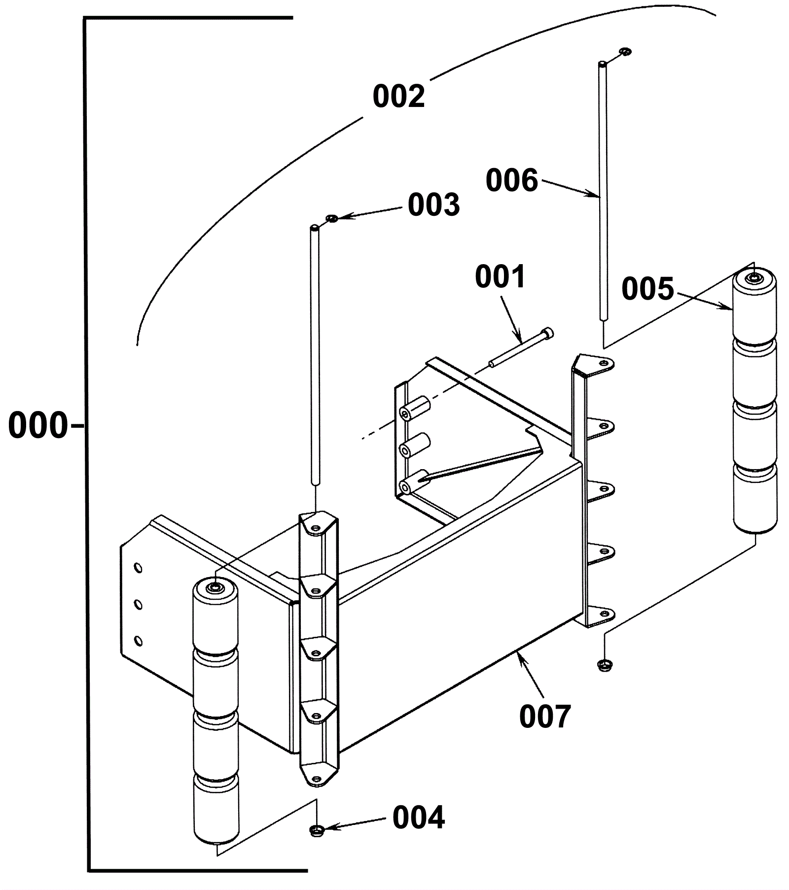
# | Part | Description | Price | Req | Notes | Availability |
000 |
172-1798
|
Industral bumper kit (OBSOLETE) |
$484.70
|
1 |
(includes 001 thru 007) |
usually ships 1-5 days |
001 |
999-0872
|
Screw 3/8-16 x 2 1/4 socket head alloy plain finish |
$0.99
|
6 |
|
ships same day |
002 |
272-1358
|
Industrial bumper assembly (OBSOLETE) |
$893.38
|
1 |
(includes 003 thru 007) |
usually ships 1-5 days |
003 |
172-0269
|
Retaining ring |
$10.85
|
2 |
|
usually ships 13-18 days |
004 |
172-4017
|
1/2 inch push cap |
$10.57
|
2 |
|
usually ships 1-5 days |
005 |
172-9790
|
Roller bumper |
$69.71
|
8 |
|
usually ships 1-5 days |
006 |
272-1131
|
Rod (OBSOLETE) |
$32.08
|
2 |
|
usually ships 1-5 days |
007 |
272-1359
|
Industrial bumper weldment (OBSOLETE) |
$740.30
|
1 |
|
usually ships 1-5 days |