| # | Part | Description | Price | Req | Notes | Availability |
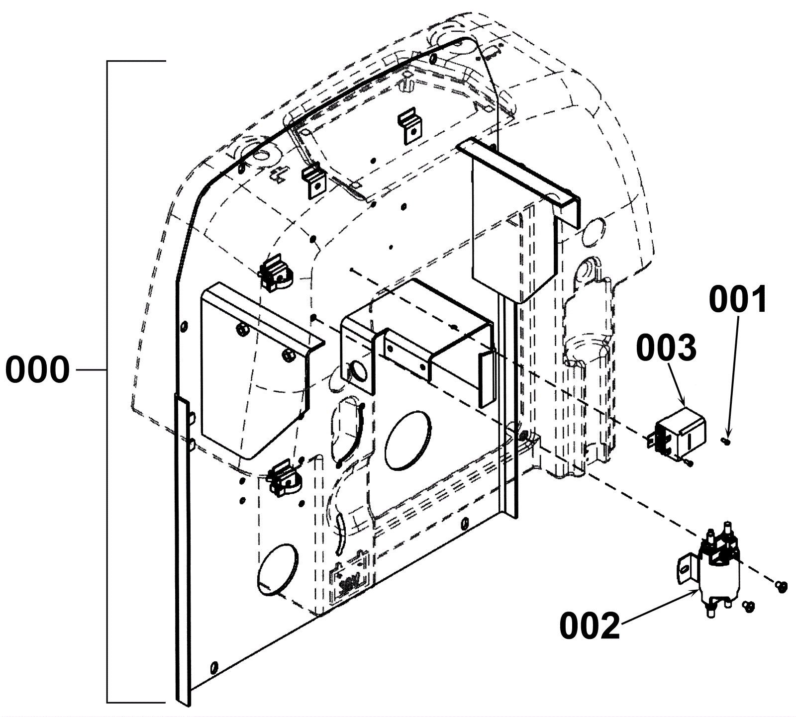
000 |
172-1797
|
36V brush click off kit (OBSOLETE) |
$191.41
|
1 |
(includes 001, 002 and 003) |
usually ships 1-5 days |
001 |
999-0100
|
Screw 6-32 x 5/16 round head slotted zinc plated |
$0.99
|
2 |
|
ships same day |
002 |
272-1322
|
Motor contactor |
$232.99
|
1 |
|
usually ships 13-18 days |
003 |
172-1779
|
36V relay SPST |
$90.50
|
1 |
|
usually ships 13-18 days |