| # | Part | Description | Price | Req | Notes | Availability |
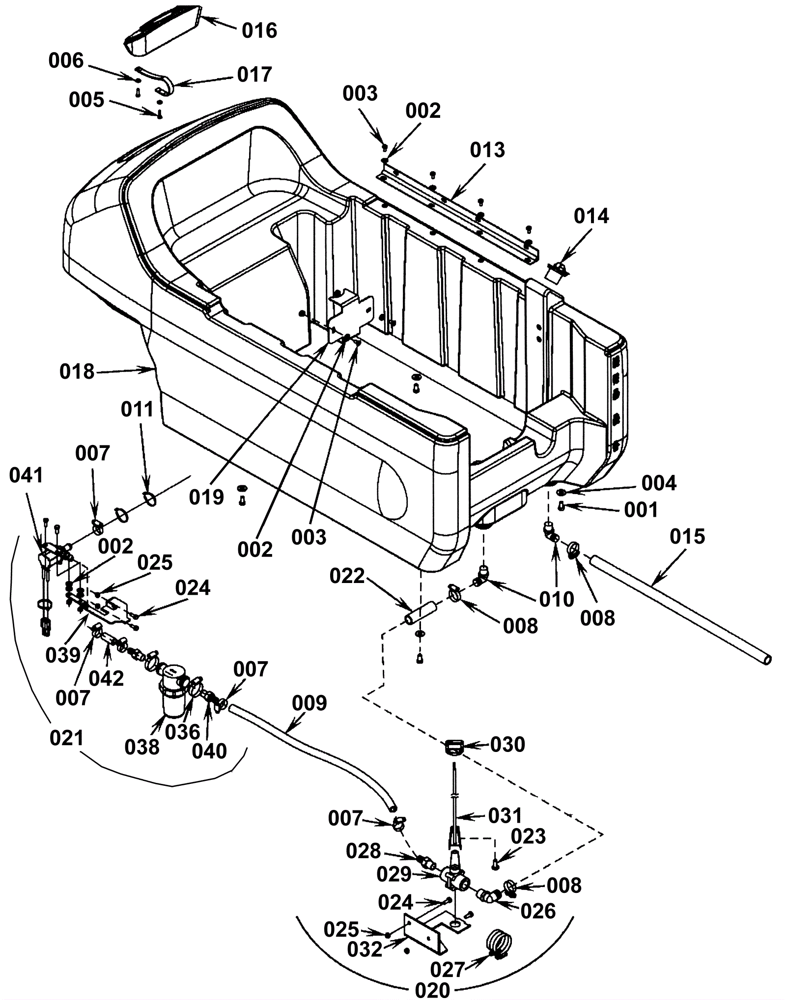
001 |
999-0030
|
Bolt 5/16-18 x 5/8 hex head grade 5 zinc plated |
$1.14
|
4 |
|
ships same day |
002 |
999-0123
|
Washer 1/4 SAE flat zinc plated |
$0.99
|
10 |
|
ships same day |
003 |
999-0508
|
Screw 1/4-20 x 1/2 pan head phillips zinc plated |
$0.99
|
6 |
|
ships same day |
004 |
999-0024
|
Washer 5/16 flat stainless steel |
$1.34
|
4 |
|
ships same day |
005 |
999-0898
|
Screw 10-16 x 3/4 pan head phillips stainless steel type B |
$0.99
|
2 |
|
ships same day |
006 |
999-0998
|
Washer #10 flat stainless steel |
$0.99
|
2 |
|
ships same day |
007 |
997-2002
|
Hose clamp #6 |
$2.15
|
5 |
|
ships same day |
008 |
997-2005
|
Hose clamp |
$2.15
|
3 |
|
ships same day |
009a |
172-2327
|
Wire reinforced clear hose (OBSOLETE) |
$13.17
|
1 |
(before SN 1735134) |
usually ships 13-18 days |
009b |
172-1841
|
PVC tube |
$35.75
|
1 |
(after SN 1735133) |
usually ships 1-5 days |
010 |
172-2322
|
90 degree elbow barb 3/4 x 3/8 |
$27.26
|
2 |
|
usually ships 13-18 days |
011 |
997-2101
|
6 inch cable tie |
$0.99
|
3 |
|
ships same day |
013 |
N/A
|
Not available |
Call for price
|
1 |
|
usually ships 3-26 days |
014 |
172-2106
|
Expansion plug |
$91.83
|
1 |
|
usually ships 13-18 days |
015 |
272-1410
|
Hose |
$37.27
|
1 |
|
usually ships 13-18 days |
016 |
172-2111
|
Solution lid |
$91.59
|
1 |
|
usually ships 13-18 days |
017 |
172-8109
|
Retaining strap (OBSOLETE) |
$11.99
|
1 |
|
usually ships 13-18 days |
018 |
272-1412
|
Solution tank (OBSOLETE) |
$1,078.76
|
1 |
|
usually ships 1-5 days |
019 |
272-1413
|
Bracket |
$51.26
|
1 |
|
usually ships 1-5 days |
020 |
172-1862
|
Manual solution valve assembly (OBSOLETE) |
$133.06
|
1 |
(includes 023 thru 032) |
usually ships 1-5 days |
021a |
172-1863
|
Filter assembly (OBSOLETE) |
$147.95
|
1 |
(includes 002, 007, 024, 025, 036 thru 042) |
usually ships 1-5 days |
021b |
172-1864
|
Electrical solution valve assembly (OBSOLETE) |
$193.05
|
1 |
(includes 002, 007, 024, 025, 036 thru 042) |
usually ships 1-5 days |
021c |
272-9561
|
Filter assembly (OBSOLETE) |
$424.05
|
1 |
|
usually ships 1-5 days |
022 |
172-1865
|
PVC hose (OBSOLETE) |
$8.10
|
1 |
|
usually ships 1-5 days |
023 |
999-0522
|
Screw 1/4-20 x 1/2 pan head phillips stainless steel |
$1.03
|
1 |
|
ships same day |
024 |
999-0507
|
Bolt M6-1 x 16mm hex head full thread plain finish |
$0.99
|
6 |
|
ships same day |
025 |
999-0469
|
Nut M6-1 nylon insert lock zinc plated |
$1.32
|
6 |
|
ships same day |
026 |
172-1760
|
Barb |
$12.89
|
1 |
|
ships same day |
027 |
997-2000
|
Hose clamp |
$2.37
|
2 |
|
ships same day |
028 |
172-9027
|
Adapter barb NPT |
$12.89
|
3 |
|
usually ships 1-5 days |
029 |
172-2105
|
Manual solution valve |
$208.89
|
1 |
|
usually ships 13-18 days |
030 |
272-1417
|
Knob |
$22.61
|
1 |
|
usually ships 13-18 days |
031 |
172-1866
|
Valve weldment (OBSOLETE) |
$48.95
|
1 |
|
usually ships 13-18 days |
032 |
172-1867
|
Valve bracket (OBSOLETE) |
$24.35
|
1 |
|
usually ships 1-5 days |
036 |
997-2008
|
Hose clamp |
$2.31
|
2 |
|
ships same day |
038a |
172-2093
|
Inlet filter |
$97.85
|
1 |
(before SN 1637706) (bottom cap not sold separately) |
usually ships 13-18 days |
038b |
172-9025
|
Solution filter |
$88.46
|
1 |
(after SN 1637705) |
ships same day |
038c |
991-3055
|
Solution filter |
$80.19
|
1 |
(NON-OEM) |
usually ships 18-24 days |
039 |
272-1415
|
Filter bracket (OBSOLETE) |
$14.74
|
1 |
|
usually ships 1-5 days |
040a |
172-2113
|
Female hose barb |
$11.35
|
2 |
(before SN 1637706) |
usually ships 1-5 days |
040b |
172-9027
|
Adapter barb NPT |
$12.89
|
1 |
(after SN 1637705) |
usually ships 1-5 days |
041 |
272-2586
|
36V solenoid valve |
$184.81
|
1 |
|
usually ships 1-5 days |
042a |
172-1868
|
PVC hose |
$12.89
|
1 |
(before SN 1637706) |
usually ships 1-5 days |
042b |
172-1869
|
PVC hose |
$12.89
|
1 |
(after SN 1637705) |
usually ships 13-18 days |
N/S |
272-1420
|
Hook (OBSOLETE) |
$12.54
|
1 |
|
usually ships 13-18 days |