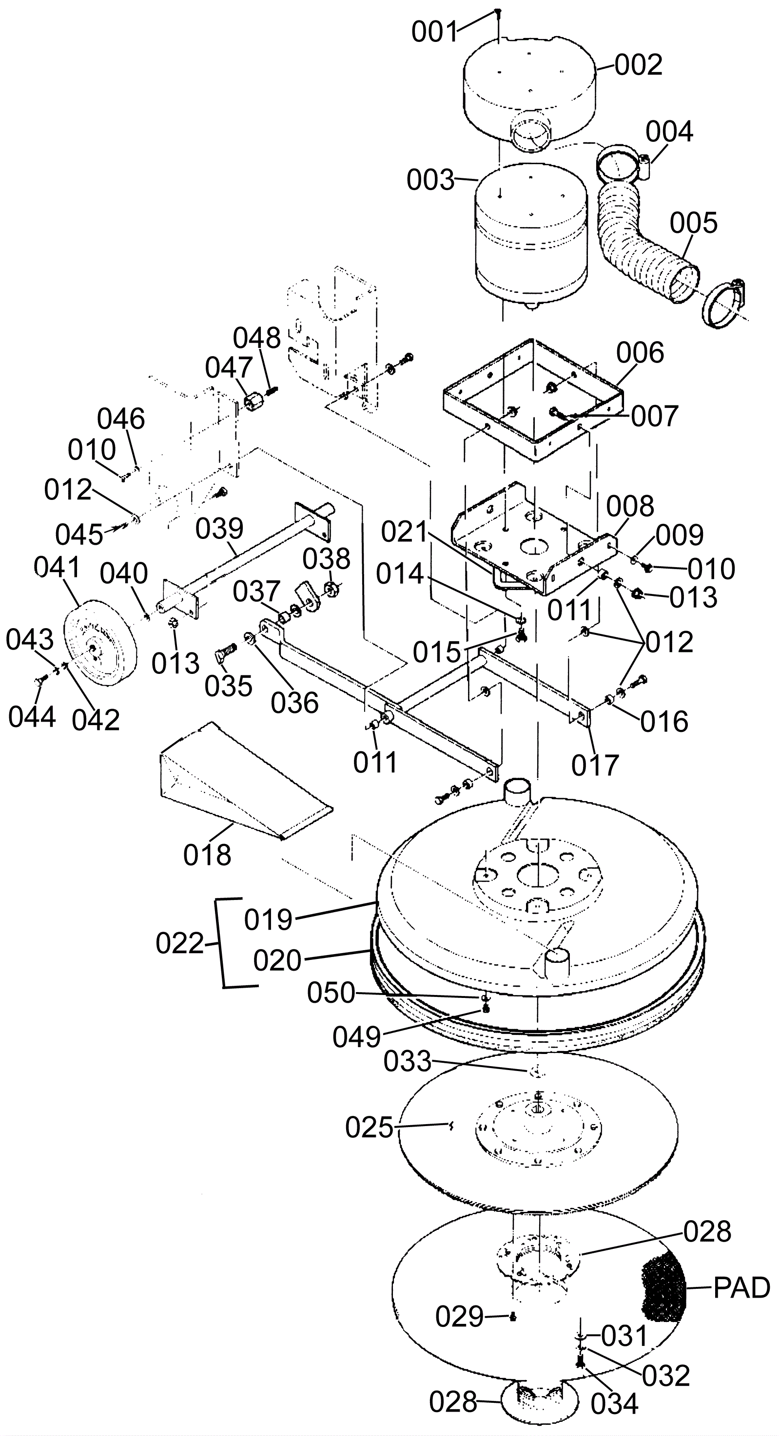
| # | Part | Description | Price | Req | Notes | Availability |
001 |
999-0360
|
Screw 1/4-20 x 3/8 hex head thread rolling unslotted |
$0.99
|
4 |
|
ships same day |
002 |
181-1358
|
Motor cover |
$229.25
|
1 |
|
usually ships 1-5 days |
003a |
181-1359
|
Brush motor |
$1,297.48
|
1 |
|
usually ships 13-18 days |
003b |
172-2818
|
Carbon brush (pkg of 4) |
$281.00
|
1 |
|
usually ships 13-18 days |
003c |
172-2819
|
Brush spring (pkg of 4) |
$138.15
|
1 |
|
usually ships 1-5 days |
004 |
997-2009
|
Hose clamp |
$3.30
|
4 |
|
ships same day |
005 |
181-1360
|
Flex hose |
$46.92
|
2 |
|
usually ships 13-18 days |
006 |
181-1361
|
Frame weldment |
$142.45
|
1 |
|
usually ships 1-5 days |
007 |
999-0031
|
Bolt 5/16-18 x 1 hex head grade 5 zinc plated |
$0.99
|
4 |
|
ships same day |
008 |
181-1362
|
Motor mount |
$75.35
|
1 |
|
usually ships 1-5 days |
009 |
999-0016
|
Washer 1/4 flat plain finish |
$0.99
|
2 |
|
ships same day |
010 |
999-0273
|
Screw 1/4-20 x 1/2 hex washer head thread rolling zinc |
$0.99
|
4 |
|
ships same day |
011 |
172-9270
|
Bushing |
$35.09
|
4 |
|
usually ships 13-18 days |
012 |
999-0024
|
Washer 5/16 flat stainless steel |
$1.34
|
8 |
|
ships same day |
013 |
999-0069
|
Nut 5/16-18 hex |
$0.99
|
8 |
|
ships same day |
014 |
999-0034
|
Washer 3/8 split lock plain finish |
$1.82
|
4 |
|
ships same day |
015 |
999-0578
|
Bolt 3/8-16 x 1/2 hex head grade 5 plain finish |
$0.99
|
4 |
|
ships same day |
016 |
172-0068
|
Bushing |
$16.20
|
2 |
|
usually ships 13-18 days |
017 |
N/A
|
Not available |
Call for price
|
1 |
(Linkage weldment) |
usually ships 3-26 days |
018a |
172-8039
|
Paper vacuum bags (pkg of 6) Whirlamatic/Selectgloss |
$57.16
|
2 |
|
usually ships 13-18 days |
018b |
991-9029
|
Paper vacuum bags (pkg of 10) (OBSOLETE) |
$10.21
|
2 |
(NON-OEM) |
usually ships 7-9 days |
019 |
181-1364
|
Dust shroud (OBSOLETE) |
$235.68
|
1 |
|
usually ships 13-18 days |
020 |
172-3072
|
20 inch skirt assembly |
$77.69
|
1 |
|
ships same day |
021 |
172-0032
|
Gasket 1/16 x 1/2 x 120 (OBSOLETE) |
$11.99
|
2 |
61cm |
usually ships 13-18 days |
022 |
172-1272
|
Dust shroud assembly (OBSOLETE) |
$284.00
|
1 |
Includes Items 019-021 |
usually ships 13-18 days |
025 |
472-8447
|
PAD DRIVER ASSY-20 RIGID |
$447.72
|
1 |
|
usually ships 13-18 days |
028 |
996-0372
|
Big mouth pad holder (left hand thread) |
$42.60
|
1 |
|
ships same day |
029 |
999-0793
|
Screw 10-24 x 3/8 hex washer slot thread cutting zinc |
$0.99
|
4 |
|
ships same day |
031 |
172-3047
|
Washer 11/32 x 1/8 flat |
$12.89
|
1 |
|
usually ships 13-18 days |
032 |
999-0028
|
Washer 5/16 split lock plain finish |
$0.99
|
1 |
|
ships same day |
033 |
999-1134
|
Washer 1 1/4 flat stainless steel |
$6.01
|
1 |
|
ships same day |
034 |
999-0836
|
Screw 5/16-24 x 3/4 hex head grade 5 plain finish |
$0.99
|
1 |
|
ships same day |
035 |
999-0200
|
Bolt 1/2-13 x 1 1/4 hex head |
$3.45
|
1 |
|
ships same day |
036 |
172-0550
|
Washer 33/64 x 3/4 flat |
$11.35
|
2 |
|
usually ships 13-18 days |
037 |
172-0139
|
Bushing |
$14.41
|
1 |
|
usually ships 1-5 days |
038 |
999-0202
|
Nut 1/2-13 hex plain finish |
$0.99
|
1 |
|
ships same day |
039 |
181-1367
|
Axle weldment |
$154.00
|
1 |
UHSB20 Only |
usually ships 1-5 days |
040 |
172-0551
|
Washer 25/32 x 1 5/8 x 1/64 |
$12.89
|
2 |
UHSB20 Only |
usually ships 13-18 days |
041 |
172-8172
|
Wheel 6 x 1/2 inch - includes bearing |
$232.99
|
2 |
UHSB20 Only |
usually ships 1-5 days |
042 |
172-2067
|
Washer 11/32 x 1/8 flat |
$12.89
|
2 |
UHSB20 Only |
usually ships 13-18 days |
043 |
999-0028
|
Washer 5/16 split lock plain finish |
$0.99
|
2 |
UHSB20 Only |
ships same day |
044 |
999-0030
|
Bolt 5/16-18 x 5/8 hex head grade 5 zinc plated |
$1.14
|
2 |
UHSB20 Only |
ships same day |
045 |
999-0132
|
Bolt 5/16-18 x 3/4 hex head grade 5 zinc plated |
$2.64
|
2 |
|
ships same day |
046 |
999-0060
|
Washer 1/4 split lock plain finish |
$0.99
|
2 |
|
ships same day |
047 |
172-0103
|
Electrical mount |
$14.41
|
2 |
|
usually ships 1-5 days |
048 |
172-0345
|
Terminal stud |
$12.89
|
2 |
|
usually ships 13-18 days |
049 |
999-0096
|
Screw 1/4-20 x 1/4 cup point socket set plain finish |
$0.99
|
4 |
|
ships same day |
050 |
172-0553
|
Washer 17/64 x 1/16 flat |
$11.35
|
4 |
|
usually ships 13-18 days |
KIT |
181-1368
|
Drive unit assembly (OBSOLETE) |
$1,749.92
|
1 |
Includes Items 001-017 |
usually ships 1-5 days |