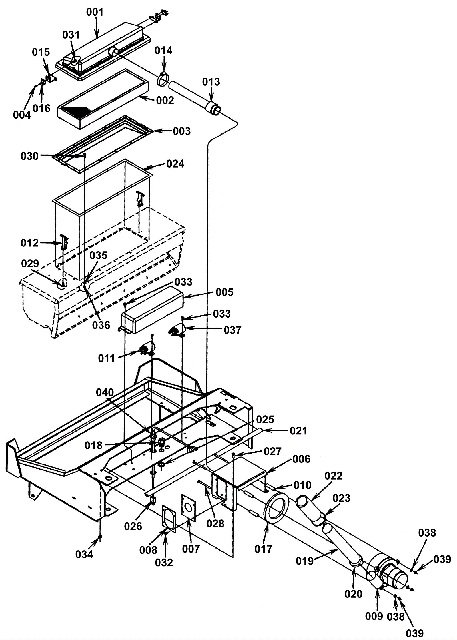
| # | Part | Description | Price | Req | Notes | Availability |
001 |
172-9704
|
Filter cover (OBSOLETE) |
$110.99
|
1 |
|
usually ships 1-5 days |
002 |
172-9705
|
Filter assembly (OBSOLETE) |
$127.07
|
1 |
|
usually ships 13-18 days |
003 |
172-9706
|
Filter retainer |
$187.02
|
1 |
|
usually ships 1-5 days |
004 |
172-9707
|
Blind rivet (OBSOLETE) |
$9.13
|
4 |
|
usually ships 1-5 days |
005 |
172-9708
|
Cover (OBSOLETE) |
$112.48
|
1 |
|
usually ships 1-5 days |
006 |
172-9709
|
Vacuum motor mount (OBSOLETE) |
$167.57
|
1 |
|
usually ships 1-5 days |
007 |
172-9710
|
Boot (OBSOLETE) |
$7.65
|
1 |
|
usually ships 1-5 days |
008 |
172-9711
|
Cover plate (OBSOLETE) |
$21.22
|
1 |
|
usually ships 1-5 days |
009a |
172-9825
|
Vacuum dust control motor (OBSOLETE) |
$774.53
|
1 |
|
usually ships 1-5 days |
009b |
991-1224
|
Plastic covered carbon brush (sold individually) |
$12.01
|
2 |
|
ships same day |
010 |
172-9712
|
Stand-off (OBSOLETE) |
$8.90
|
3 |
|
usually ships 1-5 days |
011 |
172-2805
|
36V contactor |
$104.81
|
1 |
|
ships same day |
012 |
172-9713
|
Latch and keeper |
$37.61
|
2 |
(Items 012 and 016 use to be sold seperatly, but are now only available together.) |
usually ships 13-18 days |
013 |
172-9714
|
Hose (OBSOLETE) |
$56.58
|
1 |
|
usually ships 1-5 days |
014 |
997-2000
|
Hose clamp |
$2.37
|
1 |
|
ships same day |
015 |
172-9715
|
Mount keeper (OBSOLETE) |
$52.47
|
2 |
|
usually ships 1-5 days |
016 |
172-9713
|
Latch and keeper |
$37.61
|
2 |
(Items 012 and 016 use to be sold seperatly, but are now only available together.) |
usually ships 13-18 days |
017a |
164-0881
|
Vacuum motor gasket |
$15.64
|
1 |
|
ships same day |
017b |
991-3029
|
Vacuum motor gasket |
$2.80
|
1 |
(NON-OEM) |
ships same day |
018 |
N/A
|
Not available |
Call for price
|
2 |
(Weldment cover plate) |
usually ships 3-26 days |
019 |
N/A
|
Not available |
Call for price
|
1 |
(Hose) |
usually ships 3-26 days |
020 |
997-2003
|
Hose clamp |
$2.66
|
1 |
|
ships same day |
021 |
172-9718
|
Gasket (OBSOLETE) |
$20.19
|
1 |
|
usually ships 1-5 days |
022 |
172-0126
|
Acoustical foam |
$30.60
|
1 |
|
usually ships 13-18 days |
023 |
997-2102
|
Cable tie |
$1.38
|
1 |
|
ships same day |
024 |
172-2211
|
Gasket |
$11.35
|
48 |
|
usually ships 1-5 days |
025 |
172-4536
|
Nut 1/2-14 conduit lock |
$14.18
|
2 |
|
usually ships 13-18 days |
026a |
172-1219
|
Presweep dust control harness |
$256.52
|
1 |
|
usually ships 1-5 days |
026b |
172-1220
|
Wiring harness (OBSOLETE) |
$268.63
|
1 |
|
usually ships 1-5 days |
027 |
999-0334
|
Bolt 1/4-20 x 3/4 inch hex head stainless steel |
$3.85
|
8 |
|
usually ships 16-20 days |
028 |
999-0362
|
Bolt 1/4-20 x 3 1/4 hex head grade 5 zinc plated |
$0.99
|
3 |
|
ships same day |
029 |
999-0453
|
Screw 8-32 x 1/2 pan head phillips thread forming zinc |
$0.99
|
4 |
|
ships same day |
030 |
999-1178
|
Bolt 10-24 x 3/4 hex head stainless steel |
$0.99
|
14 |
|
ships same day |
031 |
999-0360
|
Screw 1/4-20 x 3/8 hex head thread rolling unslotted |
$0.99
|
4 |
|
ships same day |
032 |
999-0793
|
Screw 10-24 x 3/8 hex washer slot thread cutting zinc |
$0.99
|
4 |
|
ships same day |
033 |
999-0273
|
Screw 1/4-20 x 1/2 hex washer head thread rolling zinc |
$0.99
|
6 |
|
ships same day |
034 |
999-0441
|
Nut 1/4-20 nylon lock jam zinc plated |
$0.99
|
4 |
|
ships same day |
035 |
999-0006
|
Washer 3/16 flat zinc plated |
$0.99
|
4 |
|
ships same day |
036 |
999-0211
|
Nut 5/16-18 hex nylon insert lock zinc plated |
$0.99
|
4 |
|
ships same day |
038 |
999-0123
|
Washer 1/4 SAE flat zinc plated |
$0.99
|
3 |
|
ships same day |
039 |
999-0152
|
Nut 1/4-20 nylon insert lock zinc plated |
$0.99
|
3 |
|
ships same day |
040 |
172-1221
|
Strain relief (OBSOLETE) |
$11.44
|
1 |
|
usually ships 1-5 days |
N/S |
172-0231
|
Reset button boot |
$51.96
|
2 |
|
usually ships 13-18 days |
N/S |
172-9572
|
15amp circuit breaker |
$80.75
|
2 |
|
usually ships 13-18 days |
N/S |
991-8539
|
15amp circuit breaker |
$7.74
|
2 |
(NON-OEM) |
usually ships 10-14 days |