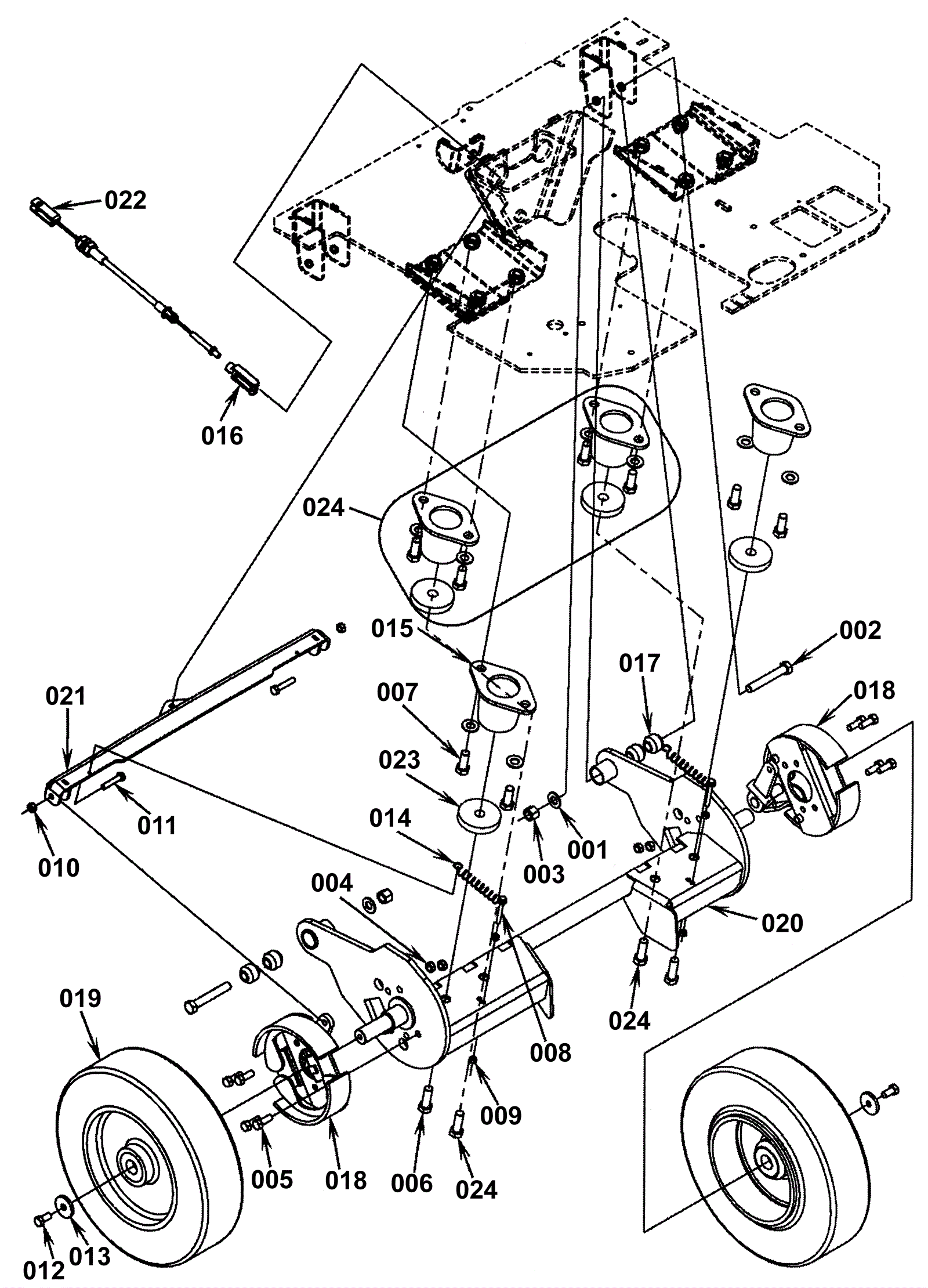
| # | Part | Description | Price | Req | Notes | Availability |
001 |
999-0114
|
Washer 1/2 SAE flat |
$0.99
|
6 |
|
ships same day |
002 |
999-0930
|
Bolt 1/2-13 x 3 1/4 hex cap grade 8 plain finish |
$2.79
|
2 |
|
usually ships 1-5 days |
003 |
999-0118
|
Nut 1/2-13 nylon insert lock zinc plated |
$0.99
|
2 |
|
ships same day |
004 |
999-0188
|
Nut 3/8-16 nylon insert lock zinc plated |
$0.99
|
8 |
|
ships same day |
005 |
999-0562
|
Bolt 3/8-16 x 1 hex head stainless steel |
$1.50
|
8 |
|
ships same day |
006 |
272-1536
|
Bolt 1/2-13 X 1 1/2 lock |
$12.89
|
2 |
|
usually ships 1-5 days |
007 |
999-0200
|
Bolt 1/2-13 x 1 1/4 hex head |
$3.45
|
4 |
|
ships same day |
008 |
999-0761
|
Screw 1/4-20 x 2 flat head phillips zinc plated |
$0.99
|
2 |
|
ships same day |
009 |
999-0439
|
Nut M6-1 hex coarse thread |
$0.99
|
4 |
|
ships same day |
010 |
999-0496
|
Nut M8-1.25 nylon insert lock stainless steel |
$1.34
|
2 |
|
ships same day |
011 |
999-0787
|
Bolt M8-1.25 x 40mm hex head full thread stainless steel |
$2.48
|
2 |
|
ships same day |
012 |
272-1605
|
Bolt M10-1.5 x 20mm hex head nylon lock |
$12.89
|
2 |
|
usually ships 13-18 days |
013 |
272-1606
|
Washer flat |
$22.69
|
2 |
|
ships same day |
014 |
172-0077
|
Spring |
$14.41
|
2 |
|
usually ships 13-18 days |
015 |
172-9752
|
Isolator (OBSOLETE) |
$214.43
|
2 |
|
usually ships 1-5 days |
016 |
172-9531
|
Clevis assembly |
$46.16
|
1 |
|
usually ships 1-5 days |
017 |
172-0246
|
Rubber bushing (OBSOLETE) |
$27.94
|
4 |
|
usually ships 1-5 days |
018 |
172-1107
|
Brake assembly |
$716.22
|
2 |
|
usually ships 1-5 days |
019 |
172-1108
|
Rear composite wheel (OBSOLETE) |
$876.59
|
2 |
|
usually ships 13-18 days |
020 |
172-1109
|
Axle weldment (OBSOLETE) |
$935.48
|
1 |
|
usually ships 1-5 days |
021 |
172-1110
|
Brake equalizer weldment (OBSOLETE) |
$133.91
|
1 |
|
usually ships 1-5 days |
022 |
172-1111
|
Brake cable assembly (OBSOLETE) |
$77.91
|
1 |
|
usually ships 1-5 days |
023 |
172-1112
|
Spacer (OBSOLETE) |
$24.53
|
2 |
|
usually ships 1-5 days |
024 |
172-1113
|
Isolator kit (OBSOLETE) |
$271.71
|
|
|
usually ships 1-5 days |