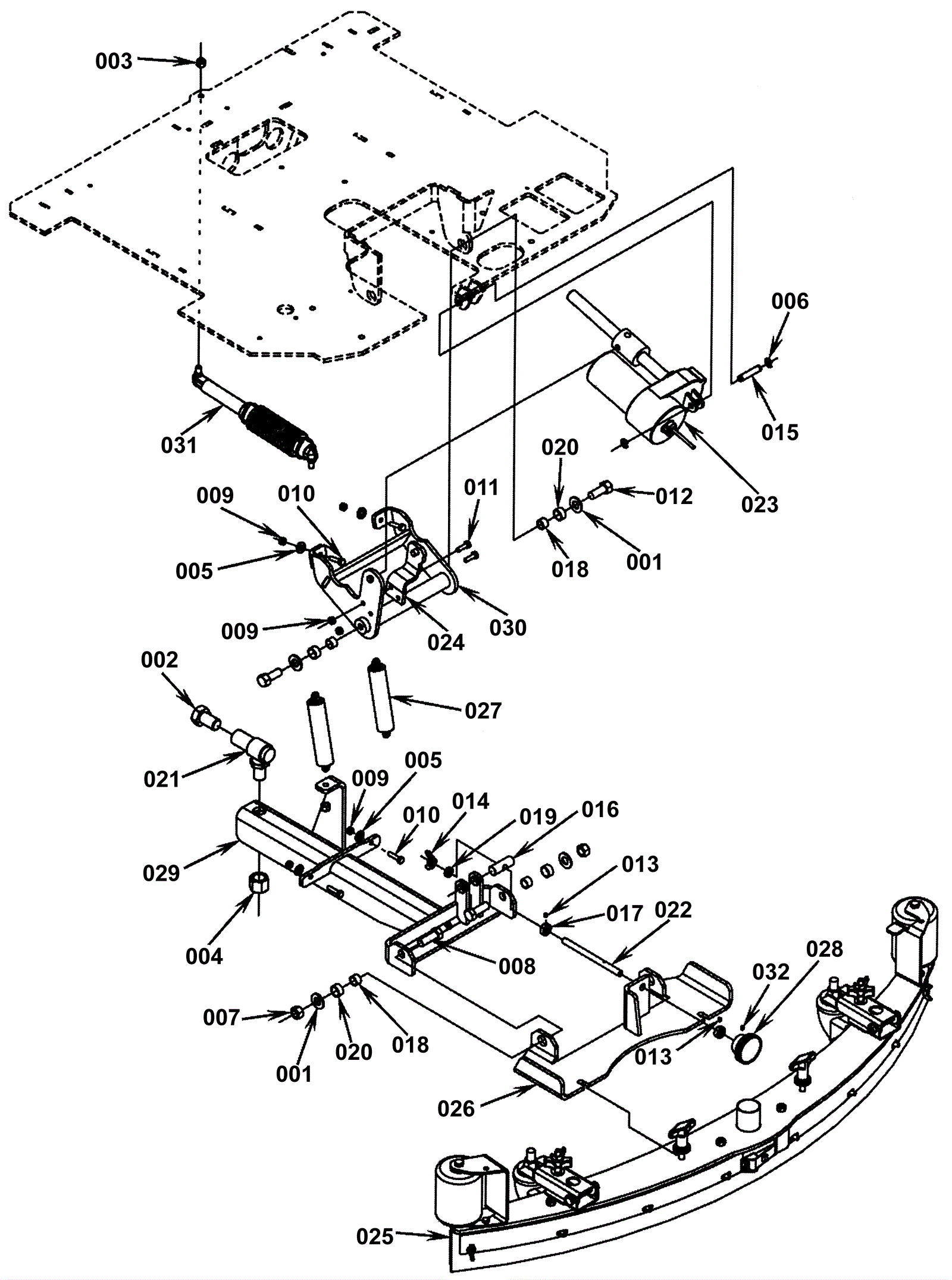
| # | Part | Description | Price | Req | Notes | Availability |
001 |
999-0114
|
Washer 1/2 SAE flat |
$0.99
|
4 |
|
ships same day |
002 |
272-1463
|
Bolt 3/4-16 x 1 1/4 hex head |
$12.89
|
1 |
|
usually ships 1-5 days |
003 |
999-0423
|
Nut 5/16-18 nylon insert lock stainless steel |
$0.99
|
2 |
|
ships same day |
004 |
272-1464
|
Nut 3/4-16 hex nylon lock |
$12.50
|
1 |
|
usually ships 13-18 days |
005 |
999-0335
|
Washer 1/4 x 5/8 SAE flat stainless steel |
$0.99
|
4 |
|
ships same day |
006 |
172-4033
|
3/8 inch retaining ring |
$11.35
|
2 |
|
usually ships 13-18 days |
007 |
999-0519
|
Nut M12-1.75 nylon insert lock stainless steel |
$3.85
|
2 |
|
ships same day |
008 |
999-1128
|
Bolt M12-1.75 x 35mm hex hd stainless steel part thread |
$6.60
|
2 |
|
ships same day |
009 |
999-0497
|
Nut M6-1 nylon insert lock stainless steel |
$0.99
|
6 |
|
ships same day |
011 |
999-1312
|
Screw M6-1 x 20mm hex head stainless steel |
$0.99
|
2 |
|
ships same day |
012 |
272-1617
|
Bolt 12mm-1 3/4 x 30mm hex nylon lock |
$12.89
|
2 |
|
usually ships 1-5 days |
013 |
999-0284
|
Screw 10-24 x 3/16 cup point socket set alloy plain finish |
$0.99
|
2 |
|
ships same day |
014 |
999-0163
|
Nut 3/8-16 wing zinc plated |
$0.99
|
1 |
|
ships same day |
015 |
172-8918
|
Pin |
$32.56
|
1 |
|
usually ships 13-18 days |
016 |
172-0070
|
Pin |
$69.98
|
1 |
|
usually ships 13-18 days |
017 |
172-0071
|
Collar |
$9.70
|
2 |
|
usually ships 13-18 days |
018 |
172-0072
|
Bushing |
$51.35
|
4 |
|
usually ships 13-18 days |
019 |
172-9375
|
Bushing (OBSOLETE) |
$27.24
|
1 |
|
usually ships 13-18 days |
020 |
N/A
|
Not available |
Call for price
|
4 |
(Sleeved bearing) (please order 172-0069) |
usually ships 3-26 days |
021 |
172-8065
|
Ball joint |
$55.48
|
1 |
|
usually ships 13-18 days |
022 |
172-9377
|
Adjuster Rod (OBSOLETE) |
$90.07
|
1 |
|
usually ships 13-18 days |
023a |
172-8921
|
Actuator |
$635.35
|
1 |
|
usually ships 13-18 days |
023b |
N/A
|
Not available |
Call for price
|
1 |
Replacement limit switch |
usually ships 3-26 days |
023c |
N/A
|
Not available |
Call for price
|
1 |
Carbon brush kit |
usually ships 3-26 days |
023d |
172-8922
|
Plastic drive nut |
$20.91
|
1 |
|
usually ships 13-18 days |
024 |
172-9380
|
Half yoke welemdnt |
$123.45
|
1 |
|
usually ships 1-5 days |
025a |
172-9361
|
Squeegee assembly (OBSOLETE) |
$1,635.40
|
1 |
|
usually ships 1-5 days |
025b |
172-1086
|
Squeegee assembly (OBSOLETE) |
$931.48
|
1 |
|
usually ships 1-5 days |
026 |
172-9384
|
Squeegee mount weldment |
$196.37
|
1 |
|
usually ships 1-5 days |
027 |
172-1087
|
Chain assembly |
$5.94
|
2 |
|
usually ships 1-5 days |
028 |
172-0078
|
Knob |
$12.89
|
1 |
|
usually ships 13-18 days |
029 |
172-1088
|
Mount weldment (OBSOLETE) |
$520.19
|
1 |
|
usually ships 1-5 days |
030 |
172-1089
|
Arm weldment (OBSOLETE) |
$194.49
|
1 |
|
usually ships 1-5 days |
031a |
172-1090
|
Gas spring assembly |
$400.09
|
1 |
|
usually ships 1-5 days |
031b |
172-1091
|
Rubber boot |
$35.48
|
1 |
|
usually ships 1-5 days |
031c |
997-2101
|
6 inch cable tie |
$0.99
|
2 |
|
ships same day |
031d |
172-1092
|
Gas cylinder |
$71.72
|
1 |
|
ships same day |
032 |
999-0903
|
Screw 10-24 x 3/8 knurled point socket set plain finish |
$0.99
|
1 |
|
ships same day |