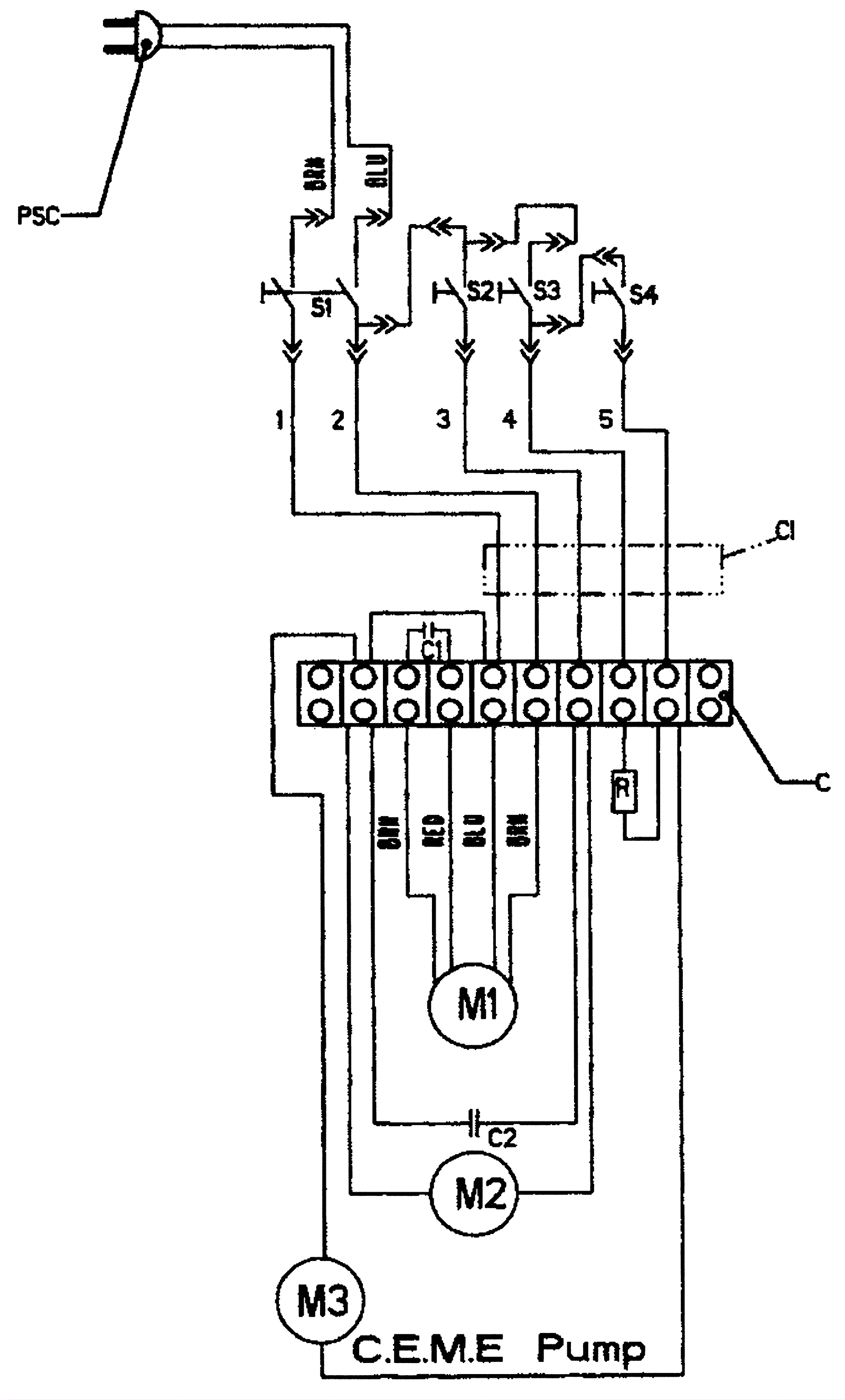
Model 340000 Wiring Diagram 120V-50Hz
Click to enlarge