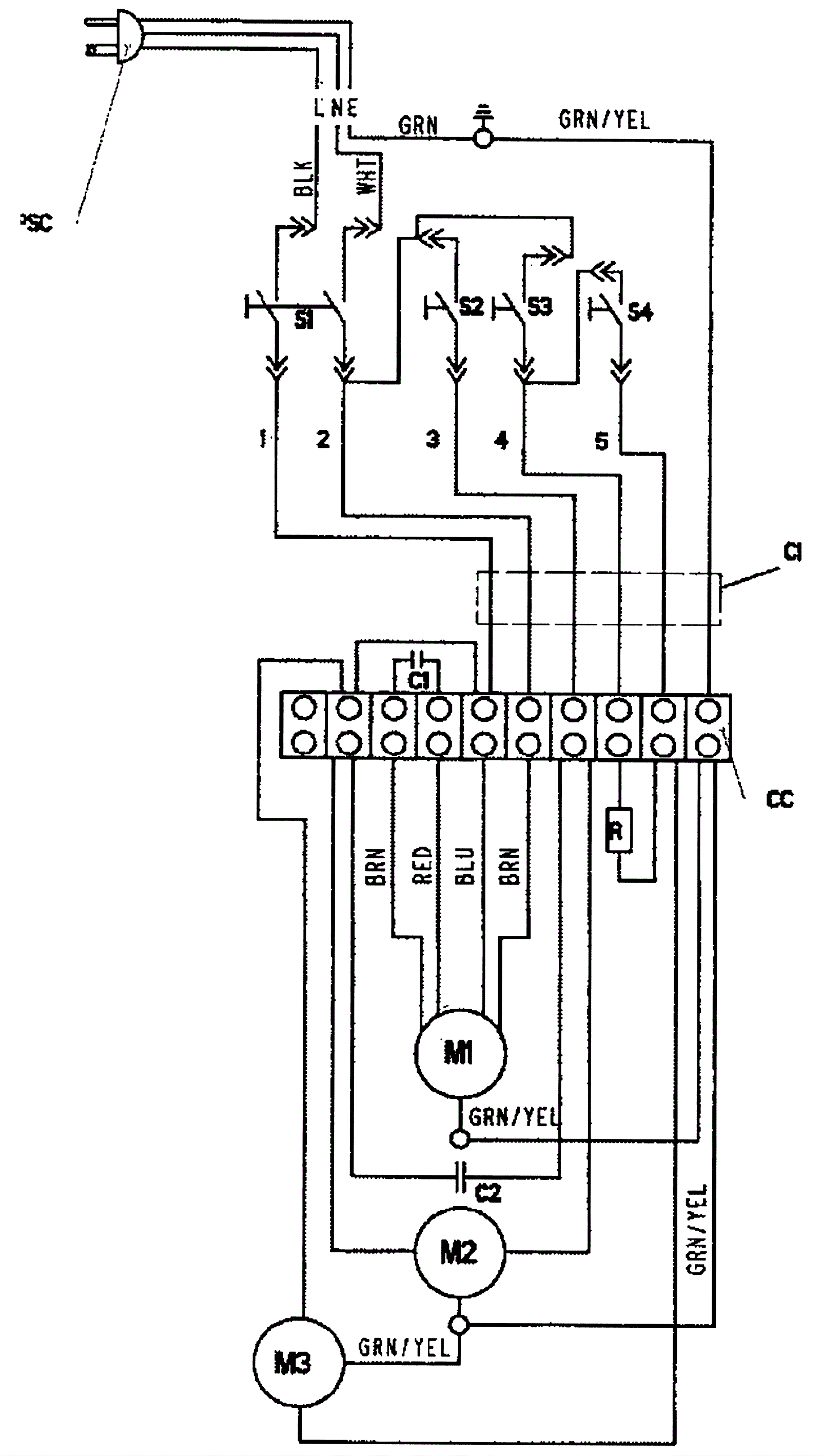
Model 340000 Wiring Diagram 120V-60Hz
Click to enlarge