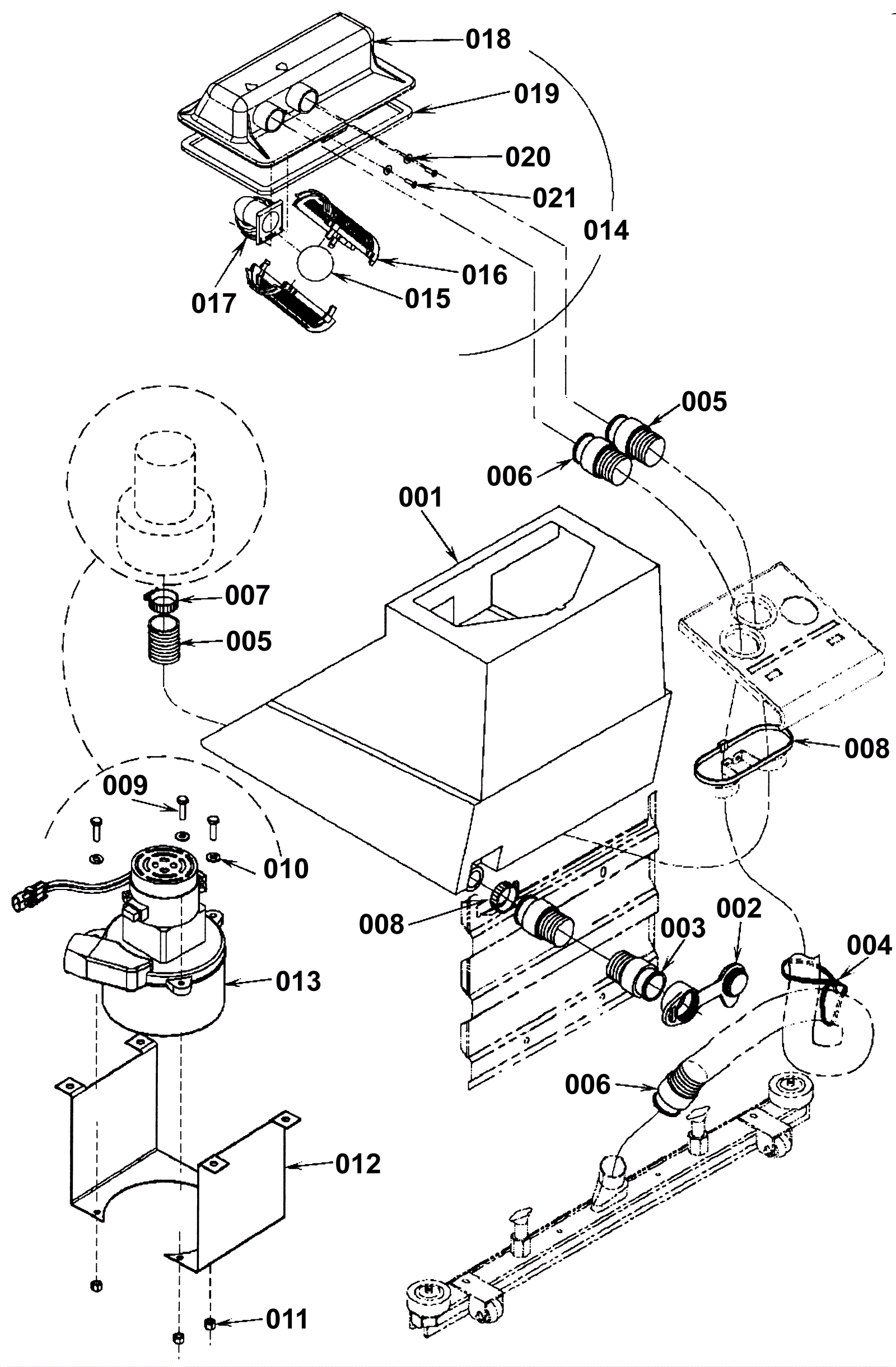
| # | Part | Description | Price | Req | Notes | Availability |
001 |
N/A
|
Not available |
Call for price
|
1 |
(Recovery tank) |
usually ships 3-26 days |
002 |
272-1139
|
Drain plug |
$16.20
|
1 |
|
ships same day |
003a |
172-0009
|
Drain hose assembly |
$24.09
|
1 |
(OEM) |
usually ships 13-18 days |
003b |
991-5151
|
Drain hose assembly |
$22.20
|
1 |
(NON-OEM) |
usually ships 10-15 days |
004 |
172-2310
|
Wire tie |
$11.75
|
1 |
|
usually ships 1-5 days |
005 |
172-8018
|
Recovery hose assembly (OBSOLETE) |
$79.84
|
1 |
|
usually ships 13-18 days |
006 |
172-0178
|
Hose with cuffs |
$35.75
|
1 |
|
ships same day |
007 |
997-2000
|
Hose clamp |
$2.37
|
2 |
|
ships same day |
008 |
997-2102
|
Cable tie |
$1.38
|
5 |
|
ships same day |
009 |
999-0297
|
Bolt 1/4-20 x 1 hex head stainless steel |
$2.53
|
3 |
|
ships same day |
010 |
999-0123
|
Washer 1/4 SAE flat zinc plated |
$0.99
|
3 |
|
ships same day |
011 |
999-0152
|
Nut 1/4-20 nylon insert lock zinc plated |
$0.99
|
3 |
|
ships same day |
013a |
172-0787
|
24V 3 stage vacuum motor assembly (OBSOLETE) |
$283.82
|
1 |
|
usually ships 13-18 days |
013b |
991-1224
|
Plastic covered carbon brush (sold individually) |
$12.01
|
2 |
|
ships same day |
014 |
172-0179
|
Cover assembly |
$440.97
|
1 |
|
usually ships 13-18 days |
015 |
172-0192
|
Float ball |
$10.52
|
1 |
|
usually ships 18-27 days |
016 |
172-0517
|
Float cage half (2 required for full float cage) |
$19.25
|
2 |
|
ships same day |
017 |
172-0195
|
Float elbow (OBSOLETE) |
$44.99
|
1 |
|
usually ships 13-18 days |
018 |
172-0006
|
Recovery tank lid (OBSOLETE) |
$233.09
|
1 |
|
usually ships 13-18 days |
019 |
172-0190
|
Recovery tank lid gasket |
$34.23
|
1 |
|
usually ships 13-18 days |
020 |
172-2311
|
Washer 9/16 |
$12.89
|
2 |
|
usually ships 13-18 days |
021 |
999-0110
|
Screw 10-16 x 1/2 pan head phillips self-drilling |
$0.99
|
2 |
|
ships same day |