| # | Part | Description | Price | Req | Notes | Availability |
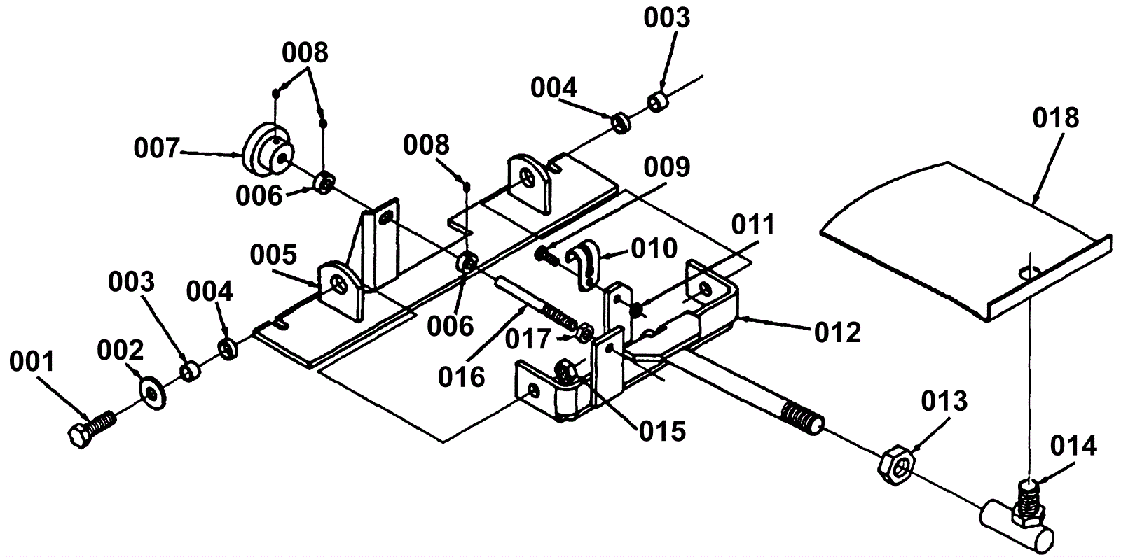
001 |
999-0200
|
Bolt 1/2-13 x 1 1/4 hex head |
$3.45
|
2 |
|
ships same day |
002 |
999-0187
|
Washer 1/2 flat plain finish |
$0.99
|
2 |
|
ships same day |
003 |
172-0079
|
Sleeve bearing (OBSOLETE) |
$20.68
|
2 |
|
usually ships 13-18 days |
004 |
172-0072
|
Bushing |
$51.35
|
2 |
|
usually ships 13-18 days |
005 |
172-9892
|
Mount |
$448.80
|
1 |
|
usually ships 13-18 days |
006 |
172-0071
|
Collar |
$9.70
|
2 |
|
usually ships 13-18 days |
007 |
172-0078
|
Knob |
$12.89
|
1 |
|
usually ships 13-18 days |
008 |
999-0284
|
Screw 10-24 x 3/16 cup point socket set alloy plain finish |
$0.99
|
3 |
|
ships same day |
009 |
999-0334
|
Bolt 1/4-20 x 3/4 inch hex head stainless steel |
$3.85
|
1 |
|
usually ships 16-20 days |
010 |
172-0588
|
Half clevis |
$30.47
|
1 |
|
usually ships 13-18 days |
011 |
999-0152
|
Nut 1/4-20 nylon insert lock zinc plated |
$0.99
|
1 |
|
ships same day |
012 |
172-9893
|
Mount (OBSOLETE) |
$176.42
|
1 |
|
usually ships 13-18 days |
013 |
999-0752
|
Nut 3/4-16 hex jam zinc plated |
$0.99
|
1 |
|
ships same day |
014 |
172-8065
|
Ball joint |
$55.48
|
1 |
|
usually ships 13-18 days |
015 |
999-0118
|
Nut 1/2-13 nylon insert lock zinc plated |
$0.99
|
2 |
|
ships same day |
016 |
172-0076
|
Adjustment rod |
$56.08
|
1 |
|
usually ships 13-18 days |
017 |
999-0188
|
Nut 3/8-16 nylon insert lock zinc plated |
$0.99
|
1 |
|
ships same day |
018 |
172-9894
|
Stabilizer plate (OBSOLETE) |
$64.15
|
1 |
|
usually ships 1-5 days |