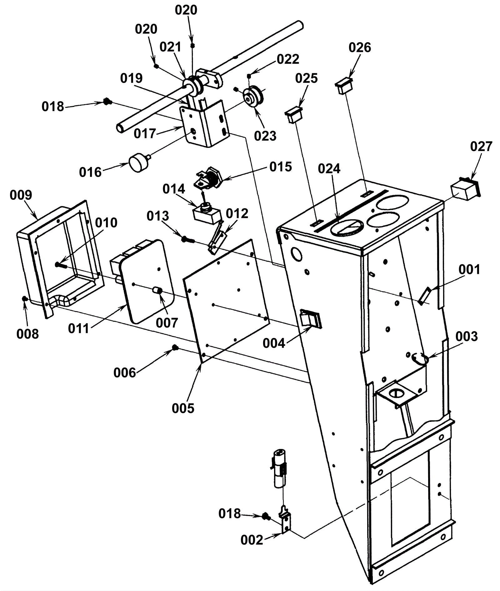
| # | Part | Description | Price | Req | Notes | Availability |
001 |
172-6084
|
Nut plate |
$24.40
|
1 |
|
usually ships 13-18 days |
002 |
N/A
|
Not available |
Call for price
|
1 |
(Bracket) |
usually ships 3-26 days |
003 |
172-2298
|
Push mount tie |
$10.52
|
4 |
|
usually ships 1-5 days |
004 |
172-2157
|
Rocker switch DPDT |
$86.94
|
1 |
(solution) |
usually ships 13-18 days |
005 |
N/A
|
Not available |
Call for price
|
1 |
(Heat sink) |
usually ships 3-26 days |
006 |
172-0565
|
Bolt 10-24 x 3/8 |
$11.75
|
4 |
|
usually ships 1-5 days |
007 |
172-2159
|
Spacer |
$45.68
|
2 |
|
usually ships 1-5 days |
008 |
999-0363
|
Screw 8-32 x 3/8 hex head unslotted thread rolling |
$0.99
|
6 |
|
ships same day |
009 |
N/A
|
Not available |
Call for price
|
1 |
(Controller cover) |
usually ships 3-26 days |
010 |
999-0080
|
Screw 8-32 x 7/8 round head slotted zinc plated |
$0.99
|
2 |
|
ships same day |
011 |
172-8085
|
Speed control kit (OBSOLETE) |
$737.00
|
1 |
|
usually ships 13-18 days |
012 |
172-2301
|
Snap switch |
$46.22
|
1 |
|
usually ships 13-18 days |
013 |
999-1108
|
Bolt 6-32 x 3/4 hex head stainless steel |
$0.99
|
3 |
|
ships same day |
014 |
172-6004
|
Toggle switch |
$48.17
|
1 |
|
usually ships 13-18 days |
015a |
172-2161
|
Key switch with key and bracket |
$225.10
|
1 |
|
usually ships 13-18 days |
015b |
172-0451
|
Replacement key |
$40.21
|
1 |
|
usually ships 13-18 days |
016 |
172-2039
|
5K potentiometer |
$66.03
|
1 |
|
ships same day |
017 |
172-9882
|
Bracket (OBSOLETE) |
$181.06
|
1 |
|
usually ships 1-5 days |
018 |
999-0493
|
Bolt 3/8-16 x 3/4 hex head stainless steel |
$0.99
|
4 |
|
ships same day |
019 |
172-9883
|
Belt |
$31.64
|
1 |
|
usually ships 1-5 days |
020 |
999-0284
|
Screw 10-24 x 3/16 cup point socket set alloy plain finish |
$0.99
|
2 |
|
ships same day |
021 |
172-8051
|
Pulley |
$124.82
|
1 |
|
usually ships 1-5 days |
022 |
999-0431
|
Screw 8-32 x 1/4 set socket cup point alloy plain finish |
$0.99
|
2 |
|
ships same day |
023 |
172-9884
|
Pulley (OBSOLETE) |
$56.35
|
1 |
|
usually ships 13-18 days |
024a |
172-2302
|
Battery meter |
$90.59
|
1 |
|
usually ships 13-18 days |
024b |
172-2303
|
Rubber boot |
$14.41
|
2 |
|
usually ships 1-5 days |
025 |
172-0504
|
Blue light (OBSOLETE) |
$7.70
|
1 |
|
usually ships 13-18 days |
026 |
172-0220
|
Green light (OBSOLETE) |
$17.90
|
1 |
|
usually ships 13-18 days |
027 |
172-0219
|
Rocker switch |
$72.26
|
1 |
(brush) |
usually ships 13-18 days |