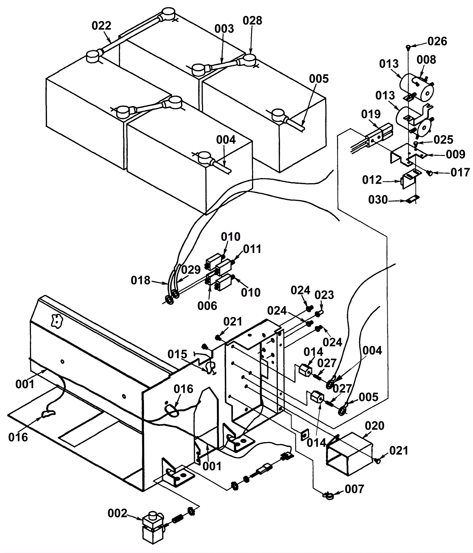
| # | Part | Description | Price | Req | Notes | Availability |
001 |
172-9837
|
Wiring harness (OBSOLETE) |
$1,051.38
|
1 |
|
usually ships 1-5 days |
002 |
172-2094
|
Solenoid valve assembly |
$549.82
|
1 |
|
usually ships 13-18 days |
003 |
172-0222
|
Battery cable assembly - clamp type (OBSOLETE) |
$10.52
|
2 |
|
usually ships 13-18 days |
004 |
172-0225
|
Battery cable |
$47.67
|
1 |
|
usually ships 1-5 days |
005 |
172-0224
|
Battery cable |
$65.21
|
1 |
|
usually ships 1-5 days |
006 |
172-0228
|
5amp circuit breaker (OBSOLETE) |
$79.20
|
1 |
|
usually ships 13-18 days |
007 |
172-9838
|
Clip (OBSOLETE) |
$8.03
|
1 |
|
usually ships 1-5 days |
008 |
172-0236
|
Diode rectifier assembly |
$34.23
|
2 |
|
usually ships 13-18 days |
009 |
172-9839
|
Switch bracket (OBSOLETE) |
$13.68
|
1 |
|
usually ships 1-5 days |
010 |
172-0227
|
20amp circuit breaker (OBSOLETE) |
$69.96
|
2 |
|
usually ships 13-18 days |
011 |
991-1633
|
70amp circuit breaker |
$57.60
|
1 |
|
usually ships 21-22 days |
012 |
172-0235
|
Switch assembly (OBSOLETE) |
$183.90
|
1 |
|
usually ships 13-18 days |
013 |
172-0082
|
Solenoid contactor (OBSOLETE) |
$83.82
|
2 |
|
usually ships 13-18 days |
014 |
172-0103
|
Electrical mount |
$14.41
|
2 |
|
usually ships 1-5 days |
015 |
997-2101
|
6 inch cable tie |
$0.99
|
20 |
|
ships same day |
016 |
172-2298
|
Push mount tie |
$10.52
|
4 |
|
usually ships 1-5 days |
017 |
999-0344
|
Bolt 1/4-20 x 1 1/2 hex head plain finish |
$0.99
|
2 |
|
ships same day |
018 |
172-9840
|
Wire assembly (OBSOLETE) |
$10.10
|
1 |
|
usually ships 1-5 days |
019 |
172-9841
|
Charger plug assembly (OBSOLETE) |
$131.27
|
1 |
|
usually ships 1-5 days |
020 |
172-1006
|
24V single control assembly |
$280.48
|
1 |
|
usually ships 1-5 days |
021 |
272-1538
|
Bolt 1/4-20 X 3/8 hex head lock |
$12.89
|
4 |
|
usually ships 1-5 days |
022 |
172-0221
|
Battery cable assembly - clamp type |
$26.52
|
1 |
|
usually ships 13-18 days |
023 |
172-0232
|
Clear boot cap |
$40.16
|
1 |
|
usually ships 13-18 days |
024 |
172-0231
|
Reset button boot |
$51.96
|
3 |
|
usually ships 13-18 days |
025 |
172-0561
|
Bolt 10-24 x 3/8 hex lock |
$14.41
|
2 |
|
usually ships 1-5 days |
026 |
999-0360
|
Screw 1/4-20 x 3/8 hex head thread rolling unslotted |
$0.99
|
2 |
|
ships same day |
027 |
172-0345
|
Terminal stud |
$12.89
|
2 |
|
usually ships 13-18 days |
028 |
172-0223
|
Battery cable boot |
$9.70
|
8 |
|
ships same day |
029 |
172-9842
|
Wire assembly (OBSOLETE) |
$14.26
|
1 |
|
usually ships 1-5 days |
030 |
172-2158
|
Nut plate |
$19.25
|
1 |
|
usually ships 1-5 days |