| # | Part | Description | Price | Req | Notes | Availability |
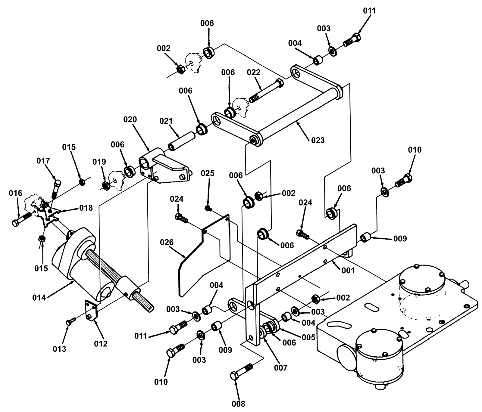
001 |
172-9831
|
Mount (OBSOLETE) |
$117.61
|
1 |
|
usually ships 1-5 days |
002 |
999-0118
|
Nut 1/2-13 nylon insert lock zinc plated |
$0.99
|
3 |
|
ships same day |
003 |
999-0187
|
Washer 1/2 flat plain finish |
$0.99
|
5 |
|
ships same day |
004 |
172-9832
|
Bushing |
$20.46
|
3 |
|
usually ships 1-5 days |
005 |
172-9833
|
Arm (OBSOLETE) |
$90.29
|
1 |
|
usually ships 1-5 days |
006 |
172-9388
|
Flanged bearing |
$14.41
|
8 |
|
usually ships 13-18 days |
007 |
172-9470
|
Spacer (OBSOLETE) |
$11.17
|
1 |
|
usually ships 1-5 days |
008 |
999-0378
|
Bolt 1/2-13 x 2 1/2 hex head grade 5 zinc plated |
$1.67
|
1 |
|
ships same day |
009 |
172-9468
|
Bushing |
$31.90
|
2 |
|
usually ships 1-5 days |
010 |
272-1536
|
Bolt 1/2-13 X 1 1/2 lock |
$12.89
|
2 |
|
usually ships 1-5 days |
011 |
999-0372
|
Bolt 1/2-13 x 1 3/4 hex head |
$0.99
|
2 |
|
ships same day |
012 |
172-9466
|
Arm (OBSOLETE) |
$77.22
|
1 |
|
usually ships 1-5 days |
013 |
272-1465
|
Screw 1/4-20 X 5/8 hex head lock |
$12.89
|
2 |
|
usually ships 1-5 days |
014 |
172-8921
|
Actuator |
$635.35
|
1 |
|
usually ships 13-18 days |
015 |
999-0188
|
Nut 3/8-16 nylon insert lock zinc plated |
$0.99
|
2 |
|
ships same day |
016 |
999-0107
|
Bolt 3/8-16 x 2 hex head grade 5 zinc plated |
$1.19
|
1 |
|
ships same day |
017 |
999-0542
|
Bolt 3/8-16 x 1 3/4 hex head grade 5 zinc plated |
$0.99
|
1 |
|
ships same day |
018 |
172-2364
|
Gear motor yoke (OBSOLETE) |
$82.48
|
1 |
|
usually ships 1-5 days |
019 |
999-0118
|
Nut 1/2-13 nylon insert lock zinc plated |
$0.99
|
1 |
|
ships same day |
020 |
172-9834
|
Lifting arm (OBSOLETE) |
$156.82
|
1 |
|
usually ships 1-5 days |
021 |
172-9465
|
Bushing (OBSOLETE) |
$81.38
|
1 |
|
usually ships 1-5 days |
022 |
999-0931
|
Bolt 1/2-13 x 4 hex head grade 8 plain finish |
$3.67
|
1 |
|
usually ships 1-5 days |
023 |
172-9835
|
Arm (OBSOLETE) |
$91.48
|
1 |
|
usually ships 1-5 days |
024 |
999-0562
|
Bolt 3/8-16 x 1 hex head stainless steel |
$1.50
|
5 |
|
ships same day |
025 |
999-0360
|
Screw 1/4-20 x 3/8 hex head thread rolling unslotted |
$0.99
|
1 |
|
ships same day |
026 |
172-9836
|
Splash plate (OBSOLETE) |
$16.63
|
1 |
|
usually ships 1-5 days |