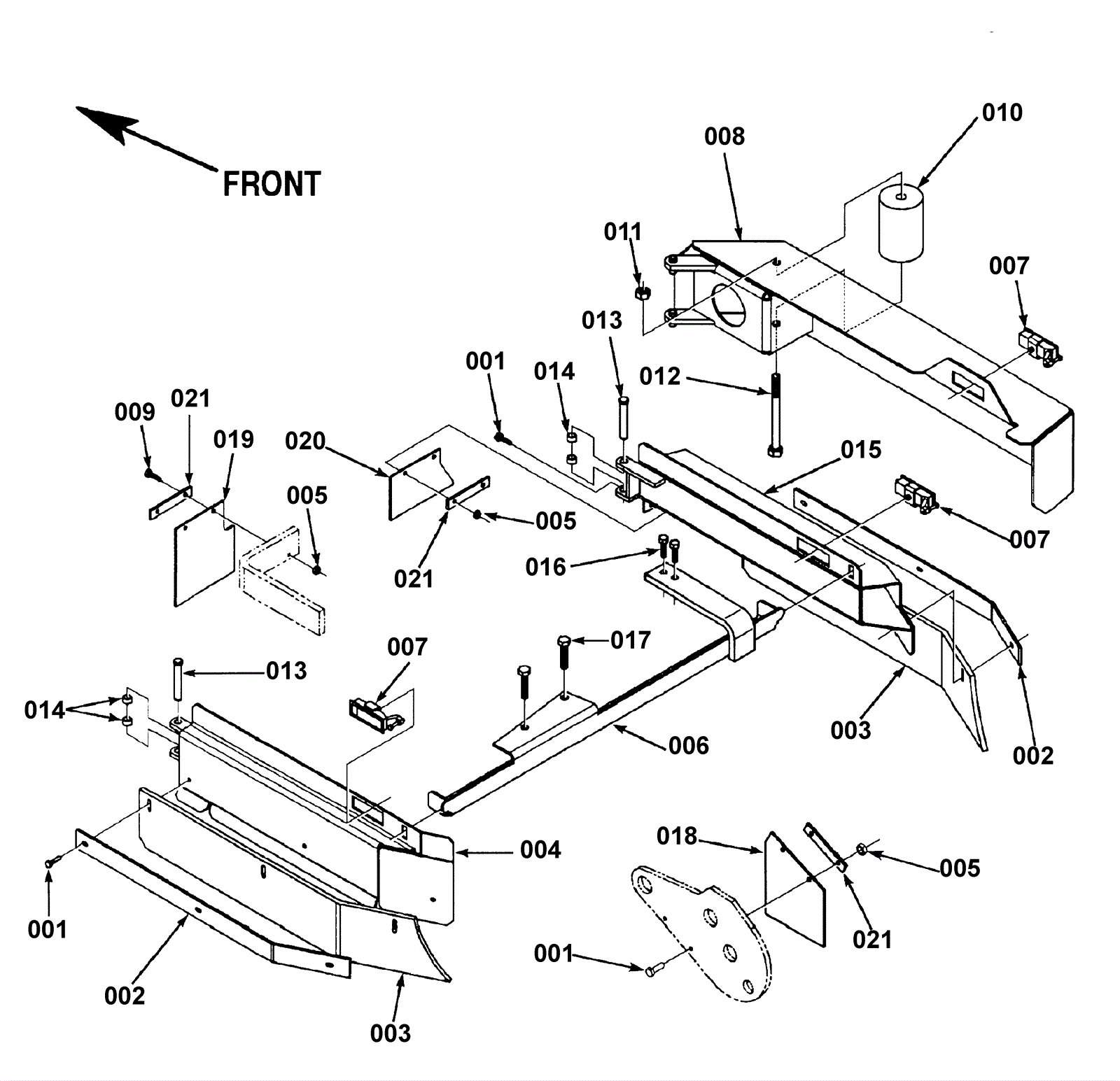
| # | Part | Description | Price | Req | Notes | Availability |
001 |
999-0297
|
Bolt 1/4-20 x 1 hex head stainless steel |
$2.53
|
8 |
|
ships same day |
002 |
172-9784
|
Squeegee blade retaining strap (OBSOLETE) |
$139.81
|
2 |
|
usually ships 1-5 days |
003a |
172-8025
|
Squeegee blade gum rubber skirt |
$91.65
|
2 |
Gum rubber |
usually ships 13-18 days |
003b |
172-9785
|
Squeegee blade skirt oil resistant |
$35.48
|
2 |
Oil resistant |
usually ships 13-18 days |
004 |
172-9786
|
Left splash guard (OBSOLETE) |
$655.34
|
1 |
|
usually ships 1-5 days |
005 |
999-0294
|
Nut 1/4-20 hex nylon lock type NE stainless steel |
$1.18
|
6 |
|
ships same day |
006 |
172-9787
|
Skirt latch bracket (OBSOLETE) |
$77.22
|
1 |
|
usually ships 1-5 days |
007 |
172-9788
|
Door latch |
$160.73
|
3 |
|
usually ships 1-5 days |
008 |
172-9789
|
Right outside splash guard (OBSOLETE) |
$517.62
|
1 |
|
usually ships 1-5 days |
009 |
999-0625
|
Screw 1/4-20 x 1 1/4 pan head phillips stainless steel |
$1.07
|
2 |
|
ships same day |
010 |
172-9790
|
Roller bumper |
$69.71
|
1 |
|
usually ships 1-5 days |
011 |
999-0118
|
Nut 1/2-13 nylon insert lock zinc plated |
$0.99
|
1 |
|
ships same day |
012 |
999-0933
|
Bolt 1/2-13 x 6 hex head grade 8 plain finish |
$6.84
|
1 |
|
usually ships 1-5 days |
013 |
272-0047
|
Handle (OBSOLETE) |
$247.10
|
2 |
|
usually ships 1-5 days |
013a |
172-0047
|
Brass pin |
$27.50
|
1 |
|
usually ships 1-5 days |
014 |
172-0048
|
Bearing |
$16.20
|
4 |
|
usually ships 13-18 days |
015 |
172-9791
|
Right inside splash guard (OBSOLETE) |
$655.34
|
1 |
|
usually ships 1-5 days |
016 |
999-0039
|
Bolt 3/8-16 x 1 1/4 hex head grade 5 zinc plated |
$0.99
|
2 |
|
ships same day |
017 |
272-1650
|
Bolt 5/8-11 X 1 1/2 hex lock (OBSOLETE) |
$12.31
|
2 |
|
usually ships 1-5 days |
018 |
172-9792
|
Squeegee blade |
$39.30
|
1 |
|
usually ships 1-5 days |
019 |
172-9793
|
Squeegee blade |
$34.96
|
1 |
|
usually ships 1-5 days |
020 |
172-9794
|
Squeegee blade |
$31.43
|
1 |
|
usually ships 1-5 days |
021 |
172-9795
|
Strap (OBSOLETE) |
$36.73
|
3 |
|
usually ships 1-5 days |