| # | Part | Description | Price | Req | Notes | Availability |
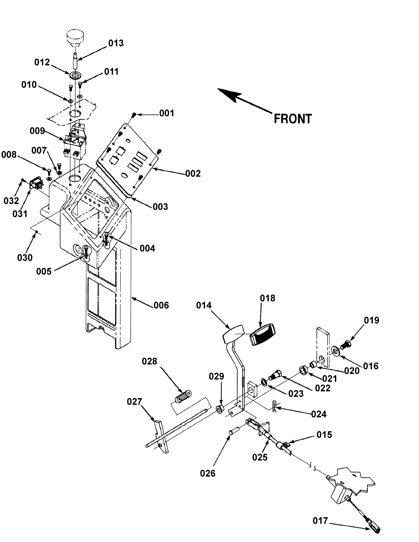
001 |
999-0522
|
Screw 1/4-20 x 1/2 pan head phillips stainless steel |
$1.03
|
5 |
|
ships same day |
002 |
172-9524
|
Control panel (OBSOLETE) |
$17.82
|
1 |
|
usually ships 1-5 days |
003 |
172-0032
|
Gasket 1/16 x 1/2 x 120 (OBSOLETE) |
$11.99
|
1 |
|
usually ships 13-18 days |
004 |
999-0019
|
Bolt 1/4-20 x 5/8 hex head grade 5 zinc plated |
$0.99
|
2 |
|
ships same day |
005 |
999-0123
|
Washer 1/4 SAE flat zinc plated |
$0.99
|
2 |
|
ships same day |
006 |
172-9525
|
Control box (OBSOLETE) |
$488.27
|
1 |
|
usually ships 1-5 days |
007 |
999-0412
|
Washer #8 SAE flat |
$0.99
|
2 |
|
ships same day |
008 |
999-0162
|
Bolt 5/16-18 x 1 1/4 hex head grade 5 zinc plated |
$0.99
|
2 |
|
ships same day |
009 |
172-9526
|
Disconnect mount (OBSOLETE) |
$177.95
|
1 |
|
usually ships 1-5 days |
010 |
172-0548
|
Washer 17/64 x 47/64 flat stainless steel |
$12.50
|
3 |
|
usually ships 13-18 days |
011 |
999-0456
|
Screw 1/4-20 x 3/4 pan head phillips stainless steel |
$1.76
|
2 |
|
ships same day |
012 |
172-9527
|
Grommet (OBSOLETE) |
$7.76
|
1 |
|
usually ships 1-5 days |
013 |
172-9528
|
Knob extension (OBSOLETE) |
$44.48
|
1 |
|
usually ships 1-5 days |
014 |
172-9529
|
Brake pedal (OBSOLETE) |
$114.05
|
1 |
|
usually ships 1-5 days |
015 |
172-9188
|
Motor, Actuator |
$1,058.11
|
3 |
|
usually ships 1-5 days |
016 |
999-0187
|
Washer 1/2 flat plain finish |
$0.99
|
1 |
|
ships same day |
017 |
172-9531
|
Clevis assembly |
$46.16
|
1 |
|
usually ships 1-5 days |
018 |
172-9532
|
Brake Pedal Pad |
$13.20
|
1 |
|
usually ships 1-5 days |
019 |
999-0200
|
Bolt 1/2-13 x 1 1/4 hex head |
$3.45
|
1 |
|
ships same day |
020 |
172-9468
|
Bushing |
$31.90
|
1 |
|
usually ships 1-5 days |
021 |
172-9388
|
Flanged bearing |
$14.41
|
1 |
|
usually ships 13-18 days |
022 |
272-1641
|
Bolt 1/2-13 x 5/8-23/32 hex shoulder (OBSOLETE) |
$34.45
|
1 |
|
usually ships 1-5 days |
023 |
172-9201
|
Thrust bearing |
$11.19
|
1 |
|
usually ships 1-5 days |
024 |
181-0148
|
Cotter pin |
$12.89
|
1 |
|
usually ships 13-18 days |
025 |
172-2816
|
Brake cable (OBSOLETE) |
$188.65
|
1 |
|
usually ships 1-5 days |
026 |
172-9534
|
Clevis pin (OBSOLETE) |
$7.76
|
1 |
|
usually ships 1-5 days |
027 |
172-9535
|
Latch Weldment (OBSOLETE) |
$62.96
|
1 |
|
usually ships 1-5 days |
028 |
172-8128
|
Grip |
$13.40
|
1 |
|
usually ships 1-5 days |
029 |
172-4037
|
Flanged bearing (OBSOLETE) |
$18.39
|
1 |
|
usually ships 13-18 days |
031 |
N/A
|
Not available |
Call for price
|
1 |
(Receptacle) |
usually ships 3-26 days |
032 |
999-0618
|
Screw 3/8-16 x 1 1/4 socket head stainless steel |
$2.64
|
2 |
|
ships same day |