# | Part | Description | Price | Req | Notes | Availability |
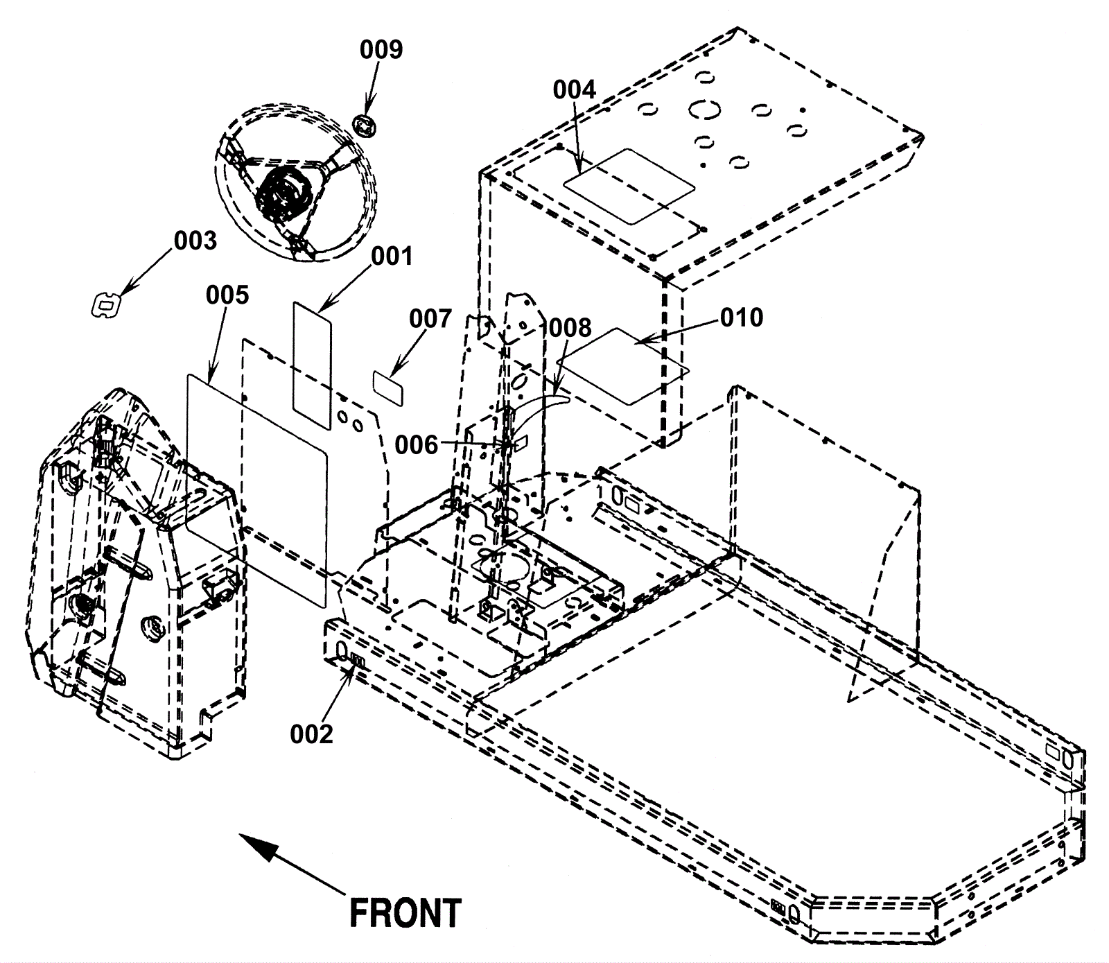
001 |
172-5000
|
Caution decal |
$46.00
|
1 |
|
usually ships 1-5 days |
002 |
172-5002
|
Tie down decal |
$35.60
|
4 |
|
usually ships 1-5 days |
003 |
172-9194
|
Emergency disconnect decal |
$12.31
|
1 |
|
usually ships 1-5 days |
004 |
N/A
|
Not available |
Call for price
|
1 |
(Battery wiring decal) |
usually ships 3-26 days |
005a |
N/A
|
Not available |
Call for price
|
1 |
(not available) |
usually ships 3-26 days |
005b |
N/A
|
Not available |
Call for price
|
1 |
(not available) |
usually ships 3-26 days |
006 |
172-9198
|
Charger decal |
$19.98
|
1 |
|
usually ships 1-5 days |
007 |
N/A
|
Not available |
Call for price
|
1 |
(Circuit breaker decal) |
usually ships 3-26 days |
008 |
172-9200
|
Flow rate decal (OBSOLETE) |
$8.90
|
1 |
|
usually ships 1-5 days |
009 |
172-9124
|
2 inch logo decal |
$13.76
|
1 |
|
usually ships 1-5 days |
010 |
172-8110
|
Grip Surface |
$11.19
|
2 |
|
usually ships 1-5 days |