# | Part | Description | Price | Req | Notes | Availability |
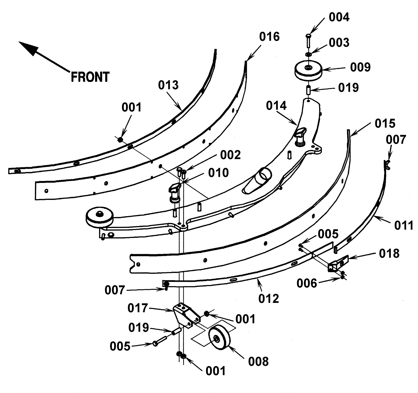
000 |
172-0081
|
Squeegee assembly (OBSOLETE) |
$850.63
|
1 |
|
usually ships 13-18 days |
001 |
999-0294
|
Nut 1/4-20 hex nylon lock type NE stainless steel |
$1.18
|
12 |
|
ships same day |
002 |
999-0334
|
Bolt 1/4-20 x 3/4 inch hex head stainless steel |
$3.85
|
4 |
|
usually ships 16-20 days |
003 |
999-0335
|
Washer 1/4 x 5/8 SAE flat stainless steel |
$0.99
|
2 |
|
ships same day |
004 |
999-0506
|
Bolt 1/4-20 x 1 1/2 hex head stainless steel |
$1.28
|
4 |
|
ships same day |
005 |
999-0336
|
Screw 6-32 x 3/8 pan head phillips stainless steel |
$0.99
|
2 |
|
ships same day |
006 |
999-0227
|
Nut 6-32 hex nylon insert lock jam zinc plated |
$0.99
|
2 |
|
ships same day |
007 |
999-0603
|
Nut 1/4-20 wing stainless steel |
$7.33
|
2 |
|
ships same day |
008a |
172-0045
|
Guide wheel |
$13.76
|
2 |
|
ships same day |
008b |
991-3051
|
Guide wheel |
$5.77
|
2 |
|
ships same day |
009a |
172-0083
|
3 inch guide wheel |
$13.76
|
2 |
|
ships same day |
009b |
991-3060
|
Bumper wheel |
$6.17
|
2 |
|
ships same day |
009c |
991-3030
|
Wheel |
$6.17
|
2 |
(NON-OEM) |
ships same day |
010 |
172-4099
|
Nut 5/16-18 thumb |
$12.73
|
2 |
|
ships same day |
011 |
172-2192
|
Right rear strap (OBSOLETE) |
$35.19
|
1 |
|
usually ships 13-18 days |
012 |
172-2147
|
Left rear strap |
$40.94
|
1 |
|
usually ships 13-18 days |
013 |
172-0090
|
Front strap |
$69.01
|
1 |
|
usually ships 13-18 days |
014 |
172-2149
|
Squeegee tool weldment |
$1,019.23
|
1 |
|
usually ships 13-18 days |
015a |
172-0007
|
Squeegee blade 39 3/4 inch gum rubber rear (tan) |
$42.98
|
1 |
(standard/gum rubber) (OEM) |
usually ships 13-18 days |
015b |
994-0024
|
Squeegee blade 39 3/4 inch gum rubber rear (tan) |
$22.71
|
1 |
(NON-OEM) |
usually ships 11-16 days |
015c |
172-0097
|
Squeegee blade kit oil resistant neoprene |
$74.21
|
1 |
This blade is no longer available seperatly, you must purchase this blade kit. |
usually ships 13-18 days |
016a |
172-0086
|
Squeegee blade 37 inch gum rubber front (tan) |
$34.14
|
1 |
(standard/gum rubber) (OEM) |
usually ships 13-18 days |
016b |
994-0025
|
Squeegee blade 37 inch gum rubber front (tan) |
$12.99
|
1 |
(NON-OEM) |
ships same day |
016c |
172-0097
|
Squeegee blade kit oil resistant neoprene |
$74.21
|
1 |
This blade is no longer available seperatly, you must purchase this blade kit. |
usually ships 13-18 days |
017 |
172-0093
|
Wheel bracket |
$46.00
|
2 |
|
usually ships 13-18 days |
018 |
172-0094
|
Latch |
$44.58
|
1 |
|
ships same day |
019 |
172-0095
|
Bushing |
$36.32
|
4 |
|
usually ships 13-18 days |
KIT |
172-0096
|
Squeegee blade kit standard gum rubber |
$35.60
|
1 |
(gum rubber items 15 - 16) |
usually ships 13-18 days |