| # | Part | Description | Price | Req | Notes | Availability |
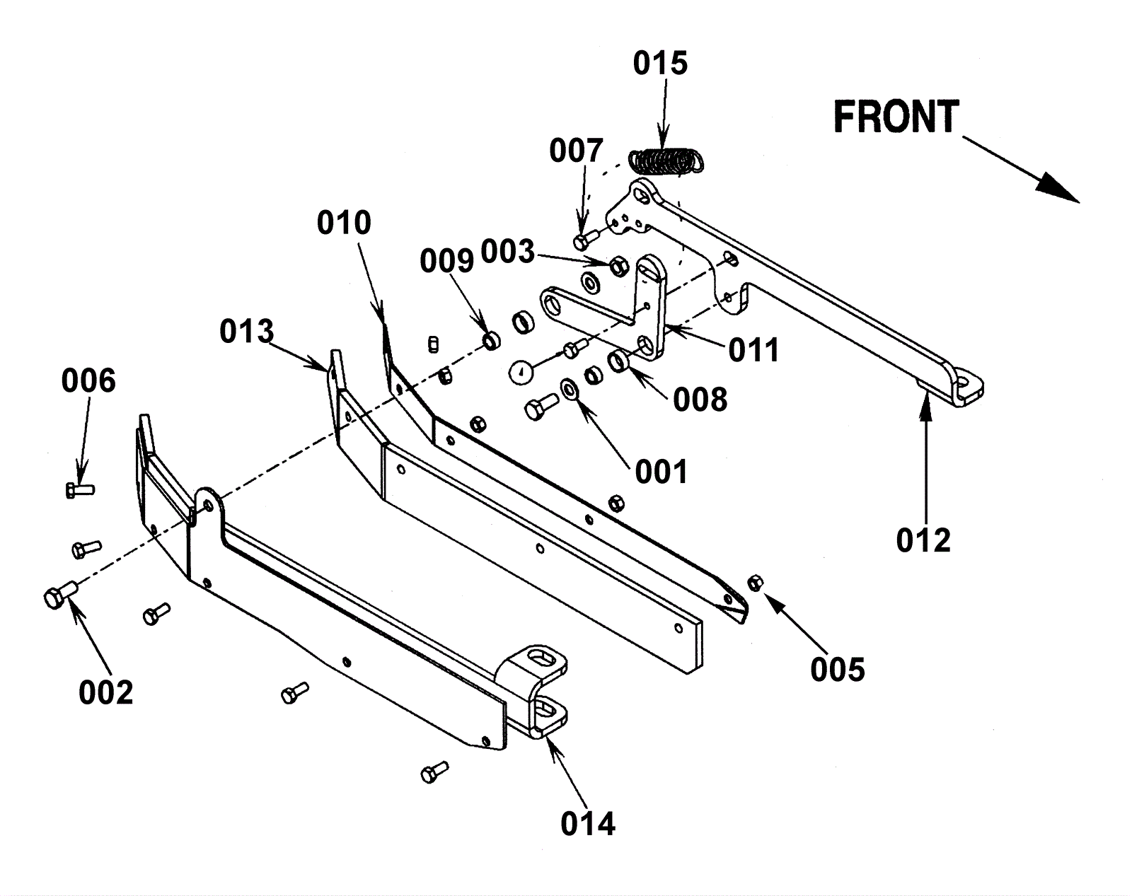
001 |
999-0412
|
Washer #8 SAE flat |
$0.99
|
2 |
|
ships same day |
002 |
999-1133
|
Bolt M8-1.25 x 20mm hex head full thread plain |
$0.99
|
2 |
|
ships same day |
003 |
999-0471
|
Nut M8-1.25 nylon insert lock zinc plated |
$0.99
|
1 |
|
ships same day |
005 |
999-0497
|
Nut M6-1 nylon insert lock stainless steel |
$0.99
|
5 |
|
ships same day |
006 |
999-0507
|
Bolt M6-1 x 16mm hex head full thread plain finish |
$0.99
|
5 |
|
ships same day |
007 |
272-1599
|
Bolt M6 x 15mm hex head nylok |
$12.89
|
1 |
|
usually ships 1-5 days |
008 |
172-2742
|
Bushing |
$14.41
|
2 |
|
usually ships 1-5 days |
009 |
172-4008
|
Bushing |
$38.50
|
2 |
|
ships same day |
010 |
172-8871
|
Skirt retainer |
$48.82
|
1 |
|
usually ships 13-18 days |
011 |
172-8872
|
Mount arm |
$115.30
|
1 |
|
usually ships 1-5 days |
012 |
172-8906
|
Mount bracket |
$159.50
|
1 |
|
usually ships 1-5 days |
013a |
172-8874
|
Gum rubber skirt |
$17.35
|
1 |
(standard) |
ships same day |
013b |
172-8875
|
Oil resistant skirt |
$25.75
|
1 |
(optional) |
usually ships 13-18 days |
014 |
172-8909
|
Skirt bracket weldment |
$233.20
|
1 |
|
usually ships 1-5 days |
015 |
172-2344
|
Extension spring |
$12.89
|
1 |
|
usually ships 13-18 days |
016 |
999-0783
|
Screw M8-1.25 x 16mm hex head |
$0.99
|
1 |
|
ships same day |