| # | Part | Description | Price | Req | Notes | Availability |
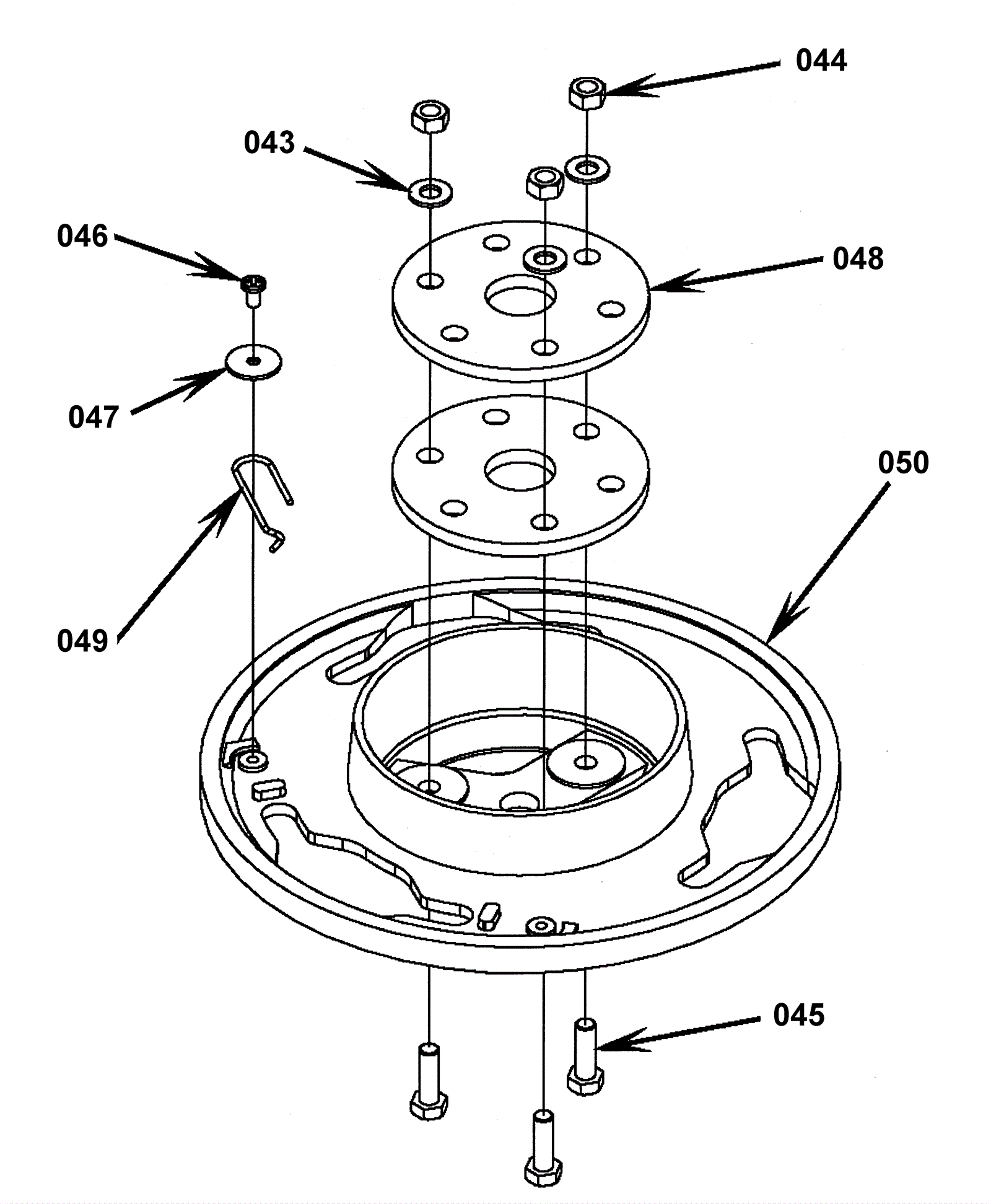
043 |
999-0549
|
Washer 5/16 x 3/4 SAE flat stainless steel |
$0.99
|
3 |
|
ships same day |
044 |
999-0496
|
Nut M8-1.25 nylon insert lock stainless steel |
$1.98
|
3 |
|
ships same day |
045 |
999-0501
|
Bolt M8-1.25 x 25mm hex head full thread stainless steel |
$2.64
|
3 |
|
ships same day |
046 |
999-0409
|
Screw 10-24 x 3/8 pan head slotted zinc plated |
$0.99
|
1 |
|
ships same day |
047 |
999-0588
|
Washer 7/8 flat stainless steel |
$11.44
|
1 |
|
ships same day |
048 |
172-2070
|
Thermoid disk |
$9.70
|
2 |
|
ships same day |
049 |
172-2087
|
Spring retainer |
$18.21
|
1 |
|
ships same day |
050 |
172-2089
|
Drive plate |
$96.49
|
1 |
|
usually ships 13-18 days |