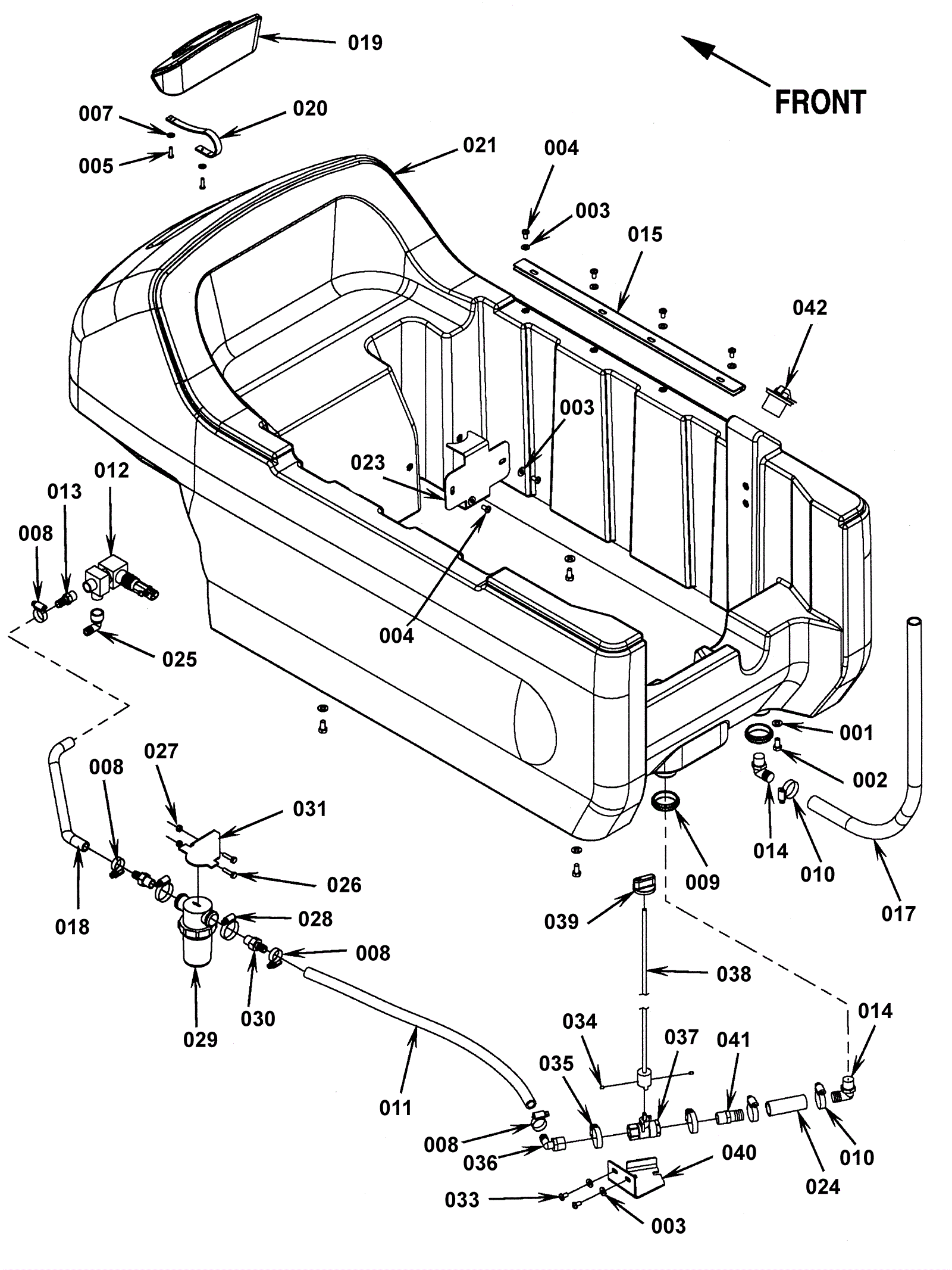
| # | Part | Description | Price | Req | Notes | Availability |
001 |
999-0549
|
Washer 5/16 x 3/4 SAE flat stainless steel |
$0.99
|
4 |
|
ships same day |
002 |
999-0030
|
Bolt 5/16-18 x 5/8 hex head grade 5 zinc plated |
$1.14
|
4 |
|
ships same day |
003 |
999-0123
|
Washer 1/4 SAE flat zinc plated |
$0.99
|
8 |
|
ships same day |
004 |
999-0508
|
Screw 1/4-20 x 1/2 pan head phillips zinc plated |
$0.99
|
6 |
|
ships same day |
005 |
999-0898
|
Screw 10-16 x 3/4 pan head phillips stainless steel type B |
$0.99
|
2 |
|
ships same day |
007 |
999-0998
|
Washer #10 flat stainless steel |
$0.99
|
2 |
|
ships same day |
008 |
997-2002
|
Hose clamp #6 |
$2.15
|
4 |
|
ships same day |
009 |
272-1409
|
Ring |
$36.30
|
2 |
|
usually ships 1-5 days |
010 |
997-2005
|
Hose clamp |
$2.15
|
3 |
|
ships same day |
011 |
172-2327
|
Wire reinforced clear hose (OBSOLETE) |
$13.17
|
1 |
|
usually ships 13-18 days |
012 |
172-9356
|
Solenoid valve |
$865.00
|
1 |
|
usually ships 13-18 days |
013 |
172-4078
|
Barb adapter 1/2 X 3/8 NPT |
$12.89
|
1 |
|
usually ships 13-18 days |
014 |
172-2322
|
90 degree elbow barb 3/4 x 3/8 |
$27.26
|
2 |
|
usually ships 13-18 days |
015 |
N/A
|
Not available |
Call for price
|
1 |
|
usually ships 3-26 days |
017 |
272-1410
|
Hose |
$37.27
|
1 |
|
usually ships 13-18 days |
018 |
272-1411
|
Spiral hose (OBSOLETE) |
$7.99
|
1 |
|
usually ships 1-5 days |
019 |
172-2111
|
Solution lid |
$91.59
|
1 |
|
usually ships 13-18 days |
020 |
172-8109
|
Retaining strap (OBSOLETE) |
$11.99
|
1 |
|
usually ships 13-18 days |
021 |
272-1412
|
Solution tank (OBSOLETE) |
$1,078.76
|
1 |
|
usually ships 1-5 days |
023 |
272-1413
|
Bracket |
$51.26
|
1 |
|
usually ships 1-5 days |
024 |
272-1414
|
.75 Clear PVC hose (OBSOLETE) |
$5.94
|
1 |
|
usually ships 1-5 days |
025 |
172-4056
|
90 degree barbed elbow |
$11.35
|
1 |
|
usually ships 13-18 days |
026 |
999-0507
|
Bolt M6-1 x 16mm hex head full thread plain finish |
$0.99
|
2 |
|
ships same day |
028 |
997-2008
|
Hose clamp |
$2.31
|
2 |
|
ships same day |
029a |
172-9025
|
Solution filter |
$88.46
|
1 |
|
ships same day |
029b |
991-3055
|
Solution filter |
$80.19
|
1 |
(NON-OEM) |
usually ships 18-24 days |
030 |
172-9027
|
Adapter barb NPT |
$12.89
|
2 |
|
usually ships 1-5 days |
031 |
272-1415
|
Filter bracket (OBSOLETE) |
$14.74
|
1 |
|
usually ships 1-5 days |
033 |
999-0508
|
Screw 1/4-20 x 1/2 pan head phillips zinc plated |
$0.99
|
2 |
|
ships same day |
034 |
999-0284
|
Screw 10-24 x 3/16 cup point socket set alloy plain finish |
$0.99
|
2 |
|
ships same day |
035 |
997-2008
|
Hose clamp |
$2.31
|
2 |
|
ships same day |
036 |
172-2103
|
Elbow barb |
$11.35
|
1 |
|
usually ships 13-18 days |
037 |
172-9026
|
Solution shut-off valve |
$194.27
|
1 |
|
ships same day |
038 |
272-1416
|
Rod weldment (OBSOLETE) |
$110.99
|
1 |
|
usually ships 1-5 days |
039 |
272-1417
|
Knob |
$22.61
|
1 |
|
usually ships 13-18 days |
040 |
272-1418
|
Valve bracket (OBSOLETE) |
$27.32
|
1 |
|
usually ships 1-5 days |
041 |
272-1419
|
Adapter barb (OBSOLETE) |
$19.28
|
1 |
|
usually ships 1-5 days |
042 |
172-2106
|
Expansion plug |
$91.83
|
1 |
|
usually ships 13-18 days |
N/S |
272-1420
|
Hook (OBSOLETE) |
$12.54
|
1 |
|
usually ships 13-18 days |