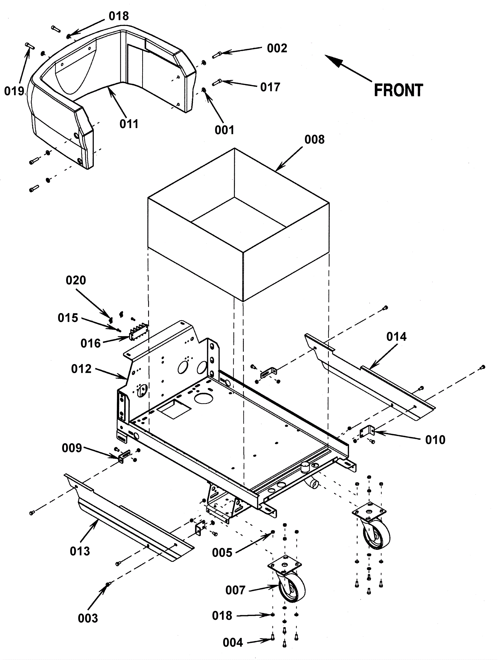
| # | Part | Description | Price | Req | Notes | Availability |
001 |
999-0120
|
Washer 3/8 SAE flat |
$0.99
|
4 |
|
ships same day |
002 |
999-0508
|
Screw 1/4-20 x 1/2 pan head phillips zinc plated |
$0.99
|
2 |
|
ships same day |
003 |
999-0517
|
Bolt M8-1.25 x 16mm hex head full thread zinc |
$0.99
|
10 |
|
ships same day |
004 |
999-1133
|
Bolt M8-1.25 x 20mm hex head full thread plain |
$0.99
|
8 |
|
ships same day |
005 |
999-0471
|
Nut M8-1.25 nylon insert lock zinc plated |
$0.99
|
18 |
|
ships same day |
007a |
172-8073
|
Caster wheel |
$151.33
|
2 |
Notes: Standard Posted By: cmm 6/30/2003 12:09:53 PM Source: Nilfisk (Bob) |
ships same day |
007b |
272-1356
|
Swivel neoprene caster |
$306.90
|
2 |
Notes: softer wheel for ceramic tile Posted By: cmm 6/30/2003 12:10:38 PM Source: Nilfisk (Bob) |
usually ships 1-5 days |
008 |
N/A
|
Not available |
Call for price
|
1 |
(Battery box) |
usually ships 3-26 days |
009 |
272-1362
|
Slotted clip (OBSOLETE) |
$6.66
|
2 |
|
usually ships 1-5 days |
010 |
272-1363
|
Clip (OBSOLETE) |
$6.66
|
2 |
|
usually ships 1-5 days |
011 |
272-1364
|
Front cover (OBSOLETE) |
$743.05
|
1 |
|
usually ships 1-5 days |
012 |
272-1357
|
Upper chassis weldment (OBSOLETE) |
$498.96
|
1 |
|
usually ships 1-5 days |
013 |
272-1365
|
Left side skirt (OBSOLETE) |
$47.22
|
1 |
|
usually ships 1-5 days |
014 |
272-1366
|
Right side skirt (OBSOLETE) |
$36.39
|
1 |
|
usually ships 13-18 days |
015 |
999-0193
|
Screw 10-24 x 5/8 pan head slotted thread cutting zinc |
$0.99
|
2 |
|
ships same day |
016 |
172-2030
|
Terminal block with (4) 50amp terminals (OBSOLETE) |
$26.58
|
1 |
|
usually ships 1-5 days |
017 |
N/A
|
Not available |
Call for price
|
2 |
(Not Available) Screw cap soc HD |
usually ships 3-26 days |
018 |
999-0412
|
Washer #8 SAE flat |
$0.99
|
10 |
|
ships same day |
019 |
999-0179
|
Screw 5/16-18 x 1 1/2 socket head alloy plain finish |
$0.99
|
2 |
|
ships same day |
020 |
172-2184
|
Jumper plate (OBSOLETE) |
$8.56
|
2 |
|
usually ships 13-18 days |