# | Part | Description | Price | Req | Notes | Availability |
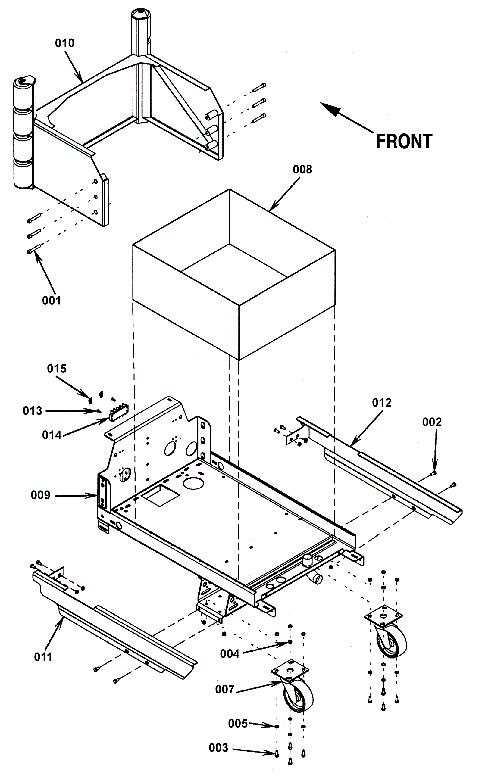
001 |
999-0386
|
Screw 3/8-16 x 2 1/4 carriage head grade 5 zinc |
$0.99
|
6 |
|
ships same day |
002 |
999-0517
|
Bolt M8-1.25 x 16mm hex head full thread zinc |
$0.99
|
8 |
|
ships same day |
003 |
999-1133
|
Bolt M8-1.25 x 20mm hex head full thread plain |
$0.99
|
8 |
|
ships same day |
004 |
999-0471
|
Nut M8-1.25 nylon insert lock zinc plated |
$0.99
|
16 |
|
ships same day |
005 |
999-0412
|
Washer #8 SAE flat |
$0.99
|
8 |
|
ships same day |
007a |
172-8073
|
Caster wheel |
$144.53
|
2 |
|
ships same day |
007b |
272-1356
|
Swivel neoprene caster |
$306.90
|
2 |
|
usually ships 1-5 days |
008 |
N/A
|
Not available |
Call for price
|
1 |
(Battery box) |
usually ships 3-26 days |
009 |
272-1357
|
Upper chassis weldment (OBSOLETE) |
$498.96
|
1 |
|
usually ships 1-5 days |
010 |
272-1358
|
Industrial bumper assembly (OBSOLETE) |
$893.38
|
1 |
|
usually ships 1-5 days |
011 |
272-1360
|
Left side weldment (OBSOLETE) |
$35.64
|
1 |
|
usually ships 1-5 days |
012 |
272-1361
|
Right side weldment (OBSOLETE) |
$32.08
|
1 |
|
usually ships 1-5 days |
013 |
999-0193
|
Screw 10-24 x 5/8 pan head slotted thread cutting zinc |
$0.99
|
2 |
|
ships same day |
014 |
172-2030
|
Terminal block with (4) 50amp terminals (OBSOLETE) |
$26.58
|
1 |
|
usually ships 1-5 days |
015 |
172-2184
|
Jumper plate (OBSOLETE) |
$8.56
|
2 |
|
usually ships 13-18 days |
N/S |
172-0269
|
Retaining ring |
$10.85
|
2 |
|
usually ships 13-18 days |
N/S |
172-4017
|
1/2 inch push cap |
$10.57
|
2 |
|
usually ships 1-5 days |
N/S |
172-9790
|
Roller bumper |
$69.71
|
8 |
|
usually ships 1-5 days |
N/S |
272-1131
|
Rod (OBSOLETE) |
$32.08
|
2 |
|
usually ships 1-5 days |
N/S |
272-1359
|
Industrial bumper weldment (OBSOLETE) |
$740.30
|
1 |
|
usually ships 1-5 days |