| # | Part | Description | Price | Req | Notes | Availability |
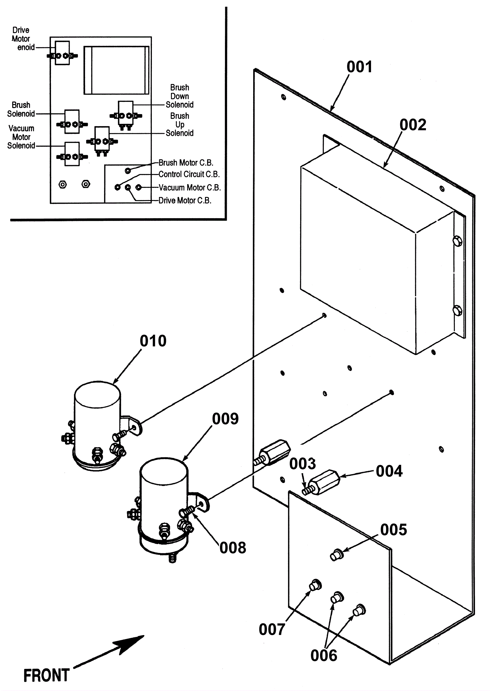
001 |
172-9964
|
Electrical panel (OBSOLETE) |
$114.05
|
1 |
|
usually ships 1-5 days |
002 |
172-2812
|
Speed control (OBSOLETE) |
$1,001.48
|
1 |
|
usually ships 13-18 days |
003 |
172-0346
|
Stud 1/4-20 |
$12.89
|
2 |
|
ships same day |
004 |
172-0103
|
Electrical mount |
$14.41
|
2 |
|
usually ships 1-5 days |
005 |
991-1633
|
70amp circuit breaker |
$57.60
|
1 |
|
usually ships 21-22 days |
006 |
172-9965
|
25 Amp circuit breaker |
$70.18
|
2 |
|
usually ships 1-5 days |
007 |
172-0228
|
5amp circuit breaker (OBSOLETE) |
$79.20
|
1 |
|
usually ships 13-18 days |
008 |
999-0360
|
Screw 1/4-20 x 3/8 hex head thread rolling unslotted |
$0.99
|
8 |
|
ships same day |
009 |
172-9827
|
Solenoid contactor (OBSOLETE) |
$131.27
|
2 |
|
usually ships 1-5 days |
010 |
991-1223
|
36V solenoid contactor with 4 post |
$50.60
|
3 |
|
usually ships 18-24 days |
N/S |
172-9966
|
Time delay (OBSOLETE) |
$263.74
|
1 |
|
usually ships 1-5 days |